Технология строительства газопровода
ГОСУДАРСТВЕННЫЙ КОМИТЕТ
РОССИЙСКОЙ ФЕДЕРАЦИИ
ПО ВЫСШЕМУ ОБРАЗОВАНИЮ
Алтайский Государственный Технический
Университет им. И.И. Ползунова
Кафедра теплогазоснабжения и вентиляции
ПОЯСНИТЕЛЬНАЯ ЗАПИСКА К КУРСОВОМУ ПРОЕКТУ
На тему:
ВлТехнология строительства газопроводаВ»
Выполнил: ст. гр. ТГВ-61
Дата 21.11.00
Небоженко Р. А. | Подпись________ |
Верещагин С. В. | Подпись________ |
Проверил:
Дата __________
Подпись________
Барнаул 2000 г.
СОДЕРЖАНИЕ:
1.Исходные данные. 3
2. Физико-механические свойства грунта. 3
3. Земляные работы 3
3.1. Определение объемов земляных работ. 3
3.1.1. Срезка растительного слоя. 3
3.1.2. Предварительная планировка строительной площадки. 4
3.1.3. Разработка траншеи. 4
3.1.4 Объем грунта по ручной доработке (подчистки) траншеи. 4
3.1.5 Объем грунта по обратной засыпке. 4
3.2. Выбор оптимального комплекта землеройно-транспортных машин. 5
3.2.1. Расчетная стоимость машин и себестоимость машино-смен механизмов 6
3.2.2. Технико- экономическое сравнение комплектов машин. 6
3.3. Подбор автосамосвалов для доставки песка при устройстве основания трубопровода. 7
3.3. Указания по производству земляных работ. 8
3.4. Мероприятия по технике безопасности при выполнении земляных работ. 11
4. Монтажные работы. 13
4.1. Определение объёмов монтажных работ. 13
4.2. Указания по производству монтажных работ. 13
4.3. Выбор грузоподъемных монтажных механизмов по монтажным параметрам. 14
4.4. Стыковое соединение звеньев. 15
4.5. Антикоррозийная изоляция. 16
4.6. Переход газопровода через железнодорожные пути. 16
4.7. Испытание газопровода. 17
4.8. Мероприятия по технике безопасности при производстве монтажных работ. 18
5. Организация технология производства работ 19
5.1 Калькуляция трудовых затрат и заработной платы. 19
5.2. Календарный график производства работ. 19
5.3. Операционный контроль качества выполнения земляных работ. 36
5.4 Технико-экономические показатели. 37
5.5. Ведомость потребности машин и инвентаря. 39
5.6. Потребность в деталях, узлах и полуфабрикатах. 40
5.7. Потребность в эксплуатационных материалах. 42
6. Литература. 43
1.Исходные данные
.
- Строительство участка газопровода с пересечением железной дороги;
- Условия строительства тАУ полевые;
- Трубы - стальные электросварные по ГОСТ 8696-74 -
219´5,0мм, масса 1м трубы 26,7кг, длина трубы 10м [5-стр.10, табл.1.7.]; - Протяжённость газопровода 1,1 км;
- Грунт тАУ суглинок;
- Глубина заложения на начальном пикете 1,5 м;
- Время строительства тАУ лето;
- Район строительства тАУ Барнаул;
- Газопровод среднего давления.
2. Физико-механические свойства грунта
.
В строительном производстве грунтами называют породы, залегающие в верхних слоях земной коры.
Суглинок - грунт, содержащий глинистые частицы от 10 до 30%, песчаных частиц в сугВнлинке больше, а пылеватых меньше, чем глинистых.
По ЕНиР 2-1 или по табл. 1 определяют физико-механические свойства грунта:
- Группа грунта в завис-ти от трудности его разработки: I-VI.
- Плотность грунта при естественном залегании:
, т/м3. - Крутизна временного откоса: 1:m.
- Коэффициент первоначального разрыхления: Кпр. (1)
- Коэффициент остаточного разрыхления: Кор. (1)
| Физико-механические свойства грунтов | Таблица 1 | ||||||
| 1: m, м/м | |||||||
| Вид грунта |
| глубина траншеи, м | Кпр, % | Кор, % | |||
| до 1 | до1,5 | до 3 | |||||
| Суглинок | 1,7 -1,9 | 1:0 | 1:0 | 1:0,5 | 18 - 24 | 3 - 6 | |
3. Земляные работы
3.1.
Определение объемов земляных работ.
3.1.1. Срезка растительного слоя
Подсчет объемов работ по срезке растительного слоя:
, где А тАУ длина строительной площадки (траншеи); В тАУ ширина строительной площадки.

3.1.2. Предварительная планировка строительной площадки
Срезка излишков грунта и засыпка впадин произвоВндится Влна глазВ», в результате создаётся относительно ровная поверхность без заданных отметок.
3.1.3. Разработка траншеи
1.
Подсчет объемов по разработке траншеи.
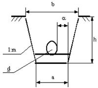
а) Ширина траншеи по низу:
Для труб ![]()
219Х5,0 мм:
![]()
где
- расстояние от трубы до траншеи понизу, м. При d < 0,7 м
= d + 0,3 м; при d > 0,7 м a = d + 0,7 м;
d - диаметр трубы газопровода, м.
б) Ширина траншеи по верху:
![]()
где h тАУ высота траншеи;
m тАУ величина временного откоса.
в) Объем траншеи:
![]()
г) Объем трубы газопровода:
![]()
д) Объем траншеи под приямки для сварки труб:
![]()
е) Суммарный объем траншеи:
![]()
3.1.4 Объем грунта по ручной доработке (подчистки) траншеи

![]()
где hн = 0,05..0,2 м - глубина слоя по ручной доработке траншеи. (СНиП 3-4-80)
3.1.5 Объем грунта по обратной засыпке
а) Ручная засыпка (подбивка пазух)
Ширина подбивки пазух поверху:

![]()
Площадь подбивки:
![]()
Объем подбивки траншеи:

Объем подбивки пазух:
![]()
б) Механизированная засыпка
Объем обратной засыпки:

![]()
в) Устройство кавальера.
При устройстве кавальеров для обратной засыпки, объем грунта в кавальере рассчитывается по формуле: ![]()
где
- коэффициент первоначального разрыхления грунта для суглинка
=1,2 [2-стр.209]
Площадь поперечного сечения кавальера рассчитывается по формуле:
, [1-стр.19]
Fтр тАУплощадь поперечного сечения траншеи
![]()
![]()
Высота и ширина кавальера по низу при угле естественного откоса 45В°
выражаются формулами:
3.2. Выбор оптимального комплекта землеройно-транспортных машин.
Подборка комплектов машин.
Таблица 2 | |
I ВАРИАНТ | П ВАРИАНТ |
Срезка растительного слоя | |
| Бульдозер ДЗ - 8 (Т-100) | Грейдер ДЗ-99(Д-710Б) |
Планировка площадки и рекультивация | |
| Бульдозер ДЗ тАУ 8 (Т-100) | Грейдер ДЗ-99(Д-710Б) |
Разработка траншеи (ведущая машина) | |
Экскаватор обратная лопата Э - 651 емкость ковша 0,65 м3 (с механическим приводом) | Экскаватор обратная лопата Э - 656 емкость ковша 0,65 м3 (с механическим приводом) |
Разработка грунта с погрузкой в автомобили-самосвалы | |
Экскаватор прямая лопата ЭО - 4321 емкость ковша 0,8 м3(с гидравлическим приводом) | Экскаватор обратная лопата ЭО тАУ 4121А емкость ковша 0,65 м3(с гидравлическим приводом) |
Обратная засыпка с уплотнением | |
Бульдозер ДЗ - 8 (Т-100) Трамбовки ИЭ-4502 | Бульдозер ДЗ-29(Т-74) Трамбовки ИЭ-4502 |
Планировка площадки и рекультивация | |
| Бульдозер ДЗ - 8 (Т-100) | Бульдозер ДЗ-29(Т-74) |
3.2.1. Расчетная стоимость машин и себестоимость машино-смен механизмов
| Таблица 3 | |||
| Наименование машины | Средняя стоимость машино-смены Смаш.см, руб | Инвентарно-расчетная стоимость машины Си.с, тыс.руб | Нормативное число смен работы машины в год Тгод |
I ВАРИАНТ | |||
Экскаватор обратная лопата Э тАУ 651 емкость ковша 0,65 м3 (с механическим приводом) | 28,78 | 18,15 | 350 |
| Бульдозер ДЗ - 8 (Т-100) | 25,29 | 8,43 | 300 |
Экскаватор прямая лопата ЭО - 4321 емкость ковша 0,8 м3(с гидравлическим приводом) | 30,18 | 19,32 | 300 |
I I ВАРИАНТ | |||
Экскаватор обратная лопата Э тАУ 656 емкость ковша 0,65 м3 (с механическим приводом) | 28,37 | 17,58 | 350 |
| Грейдер ДЗ-99(Д-710Б) | 22,72 | 9,63 | 290 |
| Бульдозер ДЗ-29(Т-74) | 17,28 | 3,26 | 290 |
Экскаватор обратная лопата ЭО тАУ 4121А емкость ковша 0,65 м3(с гидравлическим приводом) | 31,08 | 23,47 | 350 |
3.2.2. Технико- экономическое сравнение комплектов машин.
- Себестоимость разработки 1 м3 грунта:
![]()
где 1,08 - коэффициент, учитывающий накладные расходы; Смаш.см - средняя стоимость машино-смены входящей в комплект машины, руб; 1,5 - коэффициент, учитывающий накладные расходы на зар. плату; SЗп - сумма заработной платы, не учтенной в стоимости машино- смены; Псм.выр.(вед) - сменная выработка ведущей машины, учитывающая разработку грунта и погрузку в транспортные средства, м3/см.

где 8 - количество часов работы машины в смену;
- норма машинного времени, учитывающая разработку экскаватором 100 м3 грунта и погрузку в транспортные средства или навымет, маш. час, определяемая по ЕНиР 2-1.
2. Удельные капитальные вложения на разработку 1 м3 грунта:
![]()
где 1,07 - коэффициент, учитывающий затраты на доставку машин завода-изготовителя на базу механизации; Си.р - инвентарно-расчетная стоимость машины входящей в комплект, руб; Тгод - нормативное число смен работы машины в год.
- Приведенные затраты на разработку 1 м3 грунта:
,где Е = 0,15 - нормативный коэффициент эффективности капитальных вложений.
Расcчитываются технико-экономические показатели:
Для I варианта, где ведущей машиной является экскаватор обратная лопата Э тАУ 651 емкость ковша 0,65 м3 (с механическим приводом), работающий навымет:
![]()
![]()
![]()
![]()
Для I I варианта, где ведущей машиной является экскаватор обратная лопата Э тАУ 656 емкость ковша 0,65 м3 (с механическим приводом), работающий навылет:
![]()
![]()
![]()
![]()
Полученные данные сводятся в таблицу и сравниваются:
Таблица 4 | ||
| Наименование показателя | I вариант | I I вариант |
| 0,18 | 0,21 |
| 0,3 | 0,35 |
| 0,225 | 0,26 |
Для производства работ комплект машин и механизмов принимается I вариант, так как показатели этого комплекта выгоднее и экономичнее по сравнению с комплектом машин и механизмов I I варианта.
3.3. Подбор автосамосвалов для доставки песка при устройстве основания трубопровода
.
1. Объем песка в плотном теле в ковше экскаватора:
,где Vков - принятый объем ковша экскаватора, м3; Кнап - коэффициент наполнения ковша, принимаемый: для обратной лопаты 0,8..1; драглайна 0,9..1,15; Кпр - коэффициент первоначального разрыхления грунта.
2. Масса песка в ковше экскаватора:
Q = Vгр. ×r = 0,65×1,6 = 1,05 т,где
- плотность грунта при естественном залегании,
.
3. Количество ковшей грунта, загружаемых в кузов автосамосвала:
Для дальности транспортирования 1,5 км выбираем автосамосвал МАЗ тАУ 503 Б грузоподъемностью 7 тонн.[3-табл. 5; 3-стр.78]
![]()
4. Объем песка в плотном теле, загружаемый в кузов самосвала:
![]()
Продолжительность одного цикла работы автосамосвала:
,где tп = V×Hвр / 100 - время погрузки грунта, мин; Нвр- норма машинного времени, учитывающая разработку экскаватором 100 м3 грунта и погрузку в транспортные средства, маш.мин. [2-стр.44,табл.7]; L - расстояние транспортировки грунта, км; vг - средняя скорость автосамосвала, км/ч, в загруженном состоянии[4-табл.7]; vп = 25..30 км/ч - средняя скорость автосамосвала в порожнем состоянии; tр = 1..2 мин - время разгрузки; tм = 2..3 мин - время маневрирования перед погрузкой и разгрузкой.
![]()
![]()
5. Требуемое количество автосамосвалов:
![]()
Для доставки песка с места разработки принимаются два автосамосвала марки МАЗ-503 Б грузоподъемностью 7 тонн.
3.3. Указания по производству земляных работ.
1. Срезка растительного слоя.
Процесс срезки растительного слоя производится бульдозером ДЗ - 8 на базе трактора Т тАУ 100, с гидравлическим приводом неповоротного отвала. Набор грунта осуществляется прямоугольным способом, на глубину зарезания 0.15 м. Схема движения бульдозера - полоса рядом с полосой.
Схема набора грунта. Схема движения бульдозера.

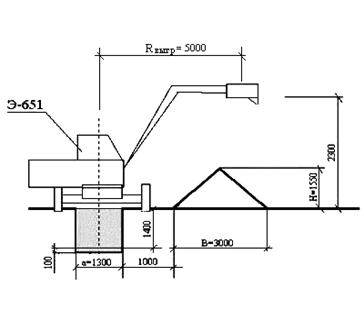
2. Разработка траншеи.
Разработка траншеи производится экскаватором марки Э-651, оборудованным обратной лопатой, с механическим приводом. Разработка ведется по лобовой схеме со складированием грунта в кавальер около траншеи, так как работы ведутся в нестесненных условиях за пределами строений.
Технические характеристики экскаватора Э-651:
1) Вместимость ковша тАУ 0,65 м3;
2) Наибольшая глубина копания тАУ 5,6 м;
3) Наибольший радиус резания тАУ 9,2 м;
4)Радиус выгрузки тАУ 5 м;
5) Высота выгрузки тАУ 2,3 м;
6) Длина стрелы тАУ 5,5 м.
Схема забоя экскаватора:

Максимальная ширина лобовой проходки экскаватора ЭО-651по верху при односторонней выгрузке грунта составляет:
, где
Rрез- наибольший радиус резания, (м); Lпер- длина рабочей передвижки экскаватор, (м); Rвыгр- наибольшийрадиус выгрузки, (м);В тАУ ширина отвала грунта, (м)
Данная модель экскаватора Э-651 по результатам расчёта лобовой проходки обеспечивает разработку траншеи 1,3 м.
3. Ручная доработка и устройство основания траншеи.
Ручная доработка производится бригадой рабочих - землекопов с целью удаления лишнего грунта, не убранного экскаватором, из траншеи и выравнивания основания. Убираемый грунт складируется в кавальер на бровке траншеи. Объем ручной доработке равен объему песчаного основания под трубы.
Схема ручной доработки траншеи.
4. Устройство основания траншеи.
Устройство основания траншеи производится той же бригадой - землекопов на высоту 10см от дна траншеи для укладки труб.
Песок доставляется с карьера самосвалами МАЗ-503Б и производиться разгрузка в траншею с помощью лотка.
Схема разгрузки самосвала в траншею.

4. Подбивка пазух с уплотнением.
Подбивка пазух производится с целью закрепления газопровода в траншее от сдвигов и перемещений. Грунт берется из кавальера. Уплотнение грунта производится в две проходки (послойно)на высоту 20 см каждая при помощи трамбовки марки ИЭ - 4502 вручную. Схема засыпки грунта в траншею аналогично схеме устройства основания.
5. Обратная засыпка.
Обратная засыпка производится бульдозером марки ДЗ -8 на базе трактора Т100, с неповоротным отвалом. Грунт перемещается из кавальера рядом с траншеей. Уплотнение грунта не производится ,т.к. газопровод прокладывается в нестесненных условиях(не в городе) и по этому засыпка производится с отметками немного больше отметки уровня земли для естественной осадки грунта.
Схема обратной засыпки траншеи:

6. Планировка и рекультивация.
Планировка и рекультивация производится бульдозером ДЗ - 8 на базе трактора Т - 100 . Схема движения бульдозера - полоса рядом с полосой. По завершению планировки производится рекультивация почвенного покрова возврат растительного слоя на прежнее место.
Схема движения:
|
Вместе с этим смотрят:
11-этажный жилой дом с мансардой
14-этажный 84-квартирный жилой дом
16-этажный жилой дом с монолитным каркасом в г. Краснодаре
180-квартирный жилой дом в г. Тихорецке
2-этажный 3-секционный 18-квартирный жилой дом в г. Мирном
