Виды бетонных смесей
Министерство сельского хозяйства Российской Федерации Федеральное государственное образовательное учреждение высшего образования Казанского Государственного Аграрного Университета
Кафедра таксации и экономики лесной отрасли
Реферат:
По дисциплине ВлСтроительное делоВ»
На тему: ВлВиды бетонных смесейВ»
Выполнила: студентка 2-го курса .
Проверил: старший преподаватель
Казань, 2009 г.
Оглавление
Введение
1. Гидротехнические бетоны
2. Основные требования к качеству составных бетонов
3. Технология приготовления и транспортировки бетонной смеси
4. Последовательность загрузки материалов и время перемешивания бетонной смеси
5. Транспортировка бетонной смеси
6. Укладка и уплотнение бетонной смеси
7. Уход за бетоном, обработка после распалубливания
8. Производство бетонных и железобетонных работ в зимних условиях
9. Контроль качества бетонных работ
Заключение
Литература
Введение
При строительстве и ремонте индивидуальных жилых домов и при благоустройстве приусадебных участков широко применяется искусственный каменный материал тАФ бетон. Обычный бетон получают из смеси цемента с водой и различными заполнителями (песка, гравия, щебёнки, гальки и т. п.) после её формования и твердения. До формования указанная смесь называется бетонной смесью. Обычный бетон хорошо выдерживает большие нагрузки на сжатие, но плохо - на растяжение; он используется в таких конструкциях, как фундаменты, толстые стены. Для придания бетону большей прочности на изгиб в конструкциях, воспринимающих растягивающие усилия (перемычки, плиты, перекрытия и т. п.), бетонную смесь армируют, то есть включают в неё стальную или железную арматуру. Армированный сталью или железом бетон называется железобетоном.
1. Гидротехнические бетоны
Гидротехнические бетоны, в отличие от бетонов промышленного и гражданского назначения имеют ряд особенностей. Их применяют для возведения сооружений в гидротехническом и гидромелиоративном строительстве.
В зависимости от конструкции и размеров сооружений, расположения относительно уровней воды, массивности конструкций и назначаются требования к гидротехническим бетонам по водостойкости, водонепроницаемости, морозоустойчивости, прочности, солестойкости, удобообрабатываемости и сниженного тепловыделения.
В зависимости от вида вяжущего бетоны разделяются на:
а) цементные бетоны;
б) известковые бетоны;
в) гипсовые бетоны;
г) бетоны на органических заполнителях.
В зависимости от типа заполнителей бетоны разделяют нa:
Особо тяжелые с Y > 2,5 т/м3. Эти бетоны готовят на тяжелых заполнителях, а в ряде случаев с применением металлической стружки и чугунных обрезков. Применяются такие бетоны при строительстве реакторов АЭС.
Тяжелые бетоны с Y = 1,8 - 2,4 т/м3. Изготавливают, как правило, на гранитном заполнителе. Применяются для строительства гидротехнических сооружений.
Легкие бетоны с Y= 0,5 - 1,8 т/м3. Они применяются для изготовления стеновых панелей или как утеплительный материал.
Особенно легкие с Y< 0,5 т/м3 (существует Y = 10кг/м3) В зависимости от места расположения бетона в ГТС он разделяется на три вида:

Бетон подводный(А) - который постоянно находится под водой. Как правило, этот бетон изготовляется на шлакопортландцементах, пуцоланових цементах, портландцементах.
Бетон переменного уровня воды (Б). Этот бетон наиболее ответственный и в обязательном порядке должен удовлетворять требованиям по морозоустойчивости. Его готовят на портландцементах и шлакопортландцементах с обязательным применением пластифицирующих добавок.
Бетон надводный (В), который находится выше УВ. Этот бетон изготовляется на всех видах цемента.
В зависимости от массивности конструкций бетоны разделяются на две группы:
Бетон внешней зоны. (1) В зависимости от назначения конструкции и класса сооружений внешняя зона t = 1,5 - 3,0 м.
Бетон внутренней зоны, к которому предъявляются в основном требования по объемной массе. В особенно массивных конструкциях бетон внутренней зоны может быть заменен отсыпкой с уплотнением грунта или камня. В большинстве случаев бетоны внутренней зоны имеют марку ниже чем бетон внешней зоны.
Гидротехнические бетоны должны обладать :
1.Химической стойкостью, то есть бетоны должны противостоять химическим влияниям окружающей среды. С этой целью, они изготовляются на сульфатостойких цементах с применением соответствующих добавок.
2.Водонепроницаемостью, которая характеризуется наибольшим давлением воды на бетон, при котором не наблюдается просачивания ее через образцы соответствующей формы (d = h = 152 мм), выдержанных t = 180сут.
По водонепроницаемости бетоны разделяются на 5 марок:
W2, W4, W6, W8, W12.
3.Морозоустойчивостью, которая характеризуется наибольшим числом циклов замораживания и оттаивания соответствующих образцов, выдержанных в нормальных условиях в течение t =18 суток. При этом, после испытаний потеря их прочности должна быть не более 15%. Замораживание должно проходить при - 15В° и ниже на протяжении 4 часов, а оттаивание при +5-20В° на протяжении 4 часов.
По морозоустойчивости бетоны разделяют на 6 марок:
F50, F100, F150, F200, F250, F300.
2.Основные требования к качеству составных бетонов
Для приготовления бетона применяется гранитный щебень, гравий и мелкие заполнители - песок. Эти материалы должны отвечать следующим требованиям:
1.Щебень и гравий должны быть распределены по фракциям с диаметрами частиц: 5тАж20, 20тАж40, 40тАж70, 70тАж120 мм;
2.Прочность материала щебня и гравия должна быть выше заданной прочности бетона не менее чем в 1,5-2 раза;
3. Содержание примесей мелких и пылеватых частиц у гравия не должно превышать 1тАж2% по массе;
4. Песок для бетона должен иметь крупность частиц 0,15тАж5 мм. Иногда песок делят на две фракции: мелкий тАУ 0,15-2 мм и крупный тАУ 2-5 мм Содержание частиц диаметром меньше 0,15 мм должен быть не более 2тАж3%;
5. Вода, которая используется для приготовления бетона и ухода за ним не должна иметь механических примесей, а содержание легкорастворимых солей тАУ не более 5 г/л. Общее содержание сульфатов в воде не должно превышать 2,7 г/л, а показатель концентрации ионов водорода (рН) должен быть не ниже 4;
6. Марка цемента должна превышать заданную марку бетона
Rб 100 150 200 250 300 400 500 600
Rц 200 200-300 400 500 500 500-600 500-600 600
Для предварительной оценки потребности в материалах можно исходить из того, что для приготовления 1 м3 бетона необходимо иметь:
-щебня или гравия - 0,95 м3
-песка - 0,45 м3
-цемента -0,18тАж0,4 т
-воды -0,12тАж0,25 м3
С целью повышения качества гидротехнического бетона и его долговечности необходимо:
1.Использовать 2-3 фракции щебня и 2-3 фракции песка. Применение этих фракций позволяет увеличить плотность бетона.
2.Необходимо стремиться к увеличению крупности заполнителей, что позволяет снизить количество цемента на 10-15% и екзотермию бетона.
3. Необходимо применять соответствующие заданным маркам
бетона цемент.
4. Необходимо стремиться к применению более твердых бетонных смесей с водоцементным отношением В/Ц < 0,5.
5.Необходимо применять зональный метод бетонирования, то есть внешние части гидротехнических сооружений выполнять из повышенных марок бетона.
6.При приготовлении бетонных смесей в летних условиях необходимо стремиться к выпуску бетонной смеси с пониженой температурой, для чего применяются холодная вода и лед.
7.При приготовлении бетонной смеси в зимних условиях необходимо стремиться к выпуску бетонных смесей с повышенной температурой t >50 В°С
8.Необходимо бетонные работы построить так, чтобы покрытие ранее уложенного слоя бетона осуществлялось к началу его отвердевания.
3. Технология приготовления и транспортировки бетонной смеси
В отличие от большинства материалов, которые используют в строительстве бетонную смесь нельзя заготовить заранее и перевозить на большие расстояния. После приготовления она должна быть уложена в блоки сооружений до начала отвердевания. Такая ее особенность вызывает необходимость в приготовлении ее вблизи мест укладки, чтобы время пребывания смеси в дороге летом не превышало 1 час. Процесс приготовления бетонной смеси состоит из таких операций:
- транспортировка составляющих ее материалов;
- дозирование их;
- загрузка в бетоносмеситель;
- перемешивание;
- выгрузка бетона.
Ведущий процесс тАУ перемешивание смеси тАУ осуществляют в бетоносмесителях различных типов и конструкций. процесс приготовления бетонной смеси в значительной степени зависит от имеющегося оборудования, заполнителей и других составляющих бетона. Как правило приготовление бетонной смеси осуществляется на заводах в производственной комплекс которых входят:
1.Склады заполнителей и цемента;
2.Комплекс объектов: компрессорная, насосная станция, трансформаторная подстанция, котельная и др.
3.Бункеры заполнителей, цемента, воды и добавок.
4.Дозирующие устройства.
5.Смесительное оборудование (бетономешалки).
6.Система управлением хозяйством.
7.Бункеры выдачи готовой бетонной смеси.
Бетонная смесь может готовиться на разных типах бетоносмесительных установок, которые можно разделить на такие виды:
1.По назначению:
а) приобъектные, производительностью до 10 м3/час., применяются для приготовления бетонной смеси непосредственно на объектах;
б) заводы для приготовления товарного бетона - постоянно действующие, производительностью более 15 м3/час.;
в) заводы предназначенные для приготовления бетонной смеси на заводах сборного железобетона.
2. По принципу действия:
а) циклического действия, что в свою очередь разделяются на:
1. заводы с гравитационным перемешиванием смеси;
2. заводы с принудительным перемешиванием бетонной смеси.
Преимущество гравитационного перемешивания заключается в возможности применения заполнителей с крупностью более 150 мм, в отличие от принудительного, при котором крупность заполнителей не должна превышать 50 мм
б) заводы непрерывного действия.
3. По мобильности:
а) стационарные заводы;
б) инвентарные заводы;
в) передвижные заводы (автобетономешалки с емкостью до 4 м3) .
4. По способу управления:
а) механизированные;
б) автоматизированные.
5. По схеме компоновки:
а) одноступенчатые, когда все технологические процессы проходят одну точку (один ярус).
б) двухступенчатые.

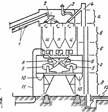
Рис.1 Схема компоновки одноступенчатой стационарной типовой бетоносмесительной установки
а - надбункерное помещение; б тАУ расходные бункеры; в тАУ дозаторное отделение; г тАУ бетоносмесительное отделение; д тАУ отделение выдачи готовой смеси; 1- наклонная галерея с ленточным транспортером; 2 тАУ поворотная распределительная воронка; 3 тАУ система вентиляции; 4 тАУ вертикальный ковшовый элеватор для цемента; 5 тАУ расходные бункеры щебня, песка, цемента; 6 тАУ дозаторы; 7 тАУ бункер-воронка с течками; 8 тАУ дозаторы для воды; 9 тАУ бетоносмесители; 10 тАУ бункеры готовой смеси; 11 тАУ подвод воды; 12 тАУ горизонтальный шнековый транспортер для цемента.
4. Последовательность загрузки материалов и время перемешивания бетонной смеси
На качество бетонной смеси влияют такие факторы:
1. Правильная загрузка материалов.
2. Время загрузки.
3. Время перемешивания бетонной смеси.
Последовательность загрузки материала в бетоносмеситель осуществляется в таком порядке: сначала загружается 15-20% воды от необходимого количества, а затем поступает песок, цемент и крупный заполнитель. Оставшееся количество воды, загружается в течении всего цикла загрузки материала.
Время перемешивания бетонной смеси зависит от:
1. подвижности бетонной смеси;
2. состава бетонной смеси;
3. крупности заполнителей;
4. емкости бетоносмесителя и находится в границах:
Перегрузка бетоносмесителей допускается не более чем на 10%.
5. Транспортировка бетонной смеси
Транспортируют бетонную смесь к объектам с/х строительства в основном автомобильным транспортом: автосамосвалами, автобетоновозами, бортовыми автомобилями (в таре), автобетоносмесителями и в специальных емкостях.
Автомобили-самосвалы общего назначения - наиболее распространенный вид транспорта.
Автобетоновозы - специализированные автомобили для перевозки готовых бетонных смесей от бетонных заводов к сооружаемым объектам. Они имеют специальный корытообразной формы кузов, который не допускает расслоения и разбрызгивания бетонной смеси.
Бортовые автомобили используют во время перевозки бетонной смеси в бадьях, контейнерах и специальных бункерах.
Автобетоносмесители это бетоносмесители, смонтированные на автомобиле для приготовления бетонной смеси в дороге.
Во время перевозки бетонной смеси на небольшие расстояния (до 0,5 км) и в пределах строительной площадки применяют мототележки с опрокидными кузовами емкостью 0,3 м3 или с перекидными ковшами.
Длительность перевозки не должна превышать сроки отвердевания смеси (1 - 1,5 ч).
Бетонную смесь к месту укладки подают различными способами в зависимости от вида и расположения строящейся конструкции, свойств бетонной смеси, объема бетонных работ и заданных темпов бетонирования.
Высота свободного сброса бетонной смеси для предотвращения расслоения не должна превышать 2 м.
Для подачи бетонной смеси из бровки котлована на расстояние 5-10 м при небольшом уклоне 5-10В° можно использовать вибротранспортные установки.
Для подачи бетонной смеси на глубину до 10м применяют вертикальные звеньевые хоботы, свыше 10м - виброхоботы.
Бетонную смесь для сооружения конструкций надземной части подают стреловыми и башенными кранами, различными подъемниками.
Бетонную смесь с помощью кранов подают в раздающих опрокидных бадьях вместимостью 0,3 тАУ 0,8м3 и поворотных ковшах-бадьях вместимостью 0,3 - 3м3.
Доставленную автомобилями бетонную смесь перегружают в раздающие бадьи, для чего устраивают приямки.
При бетонировании больших массивов целесообразно подавать бетонную смесь с помощью бетононасосов и пневмотранспортных средств.
Пневмотранспортными установками бетонную смесь подают на расстояние до 200м по горизонтали и до 35м по вертикали. Транспортируют ее по бетоновозу с помощью пневмонагнетателя, в котором компрессор поддерживает необходимое давление (до 0,6 МПа).
Пневмотранспортные установки широко применяются для устройства набивных свай и имеют производительность 10 и 20 м3/час.
6. Укладка и уплотнение бетонной смеси
Основным требованием при бетонировании является послойная укладка бетонной смеси с тщательным уплотнением каждого слоя. Обновлять укладку бетонной смеси можно после достижения бетоном в районе рабочего шва прочности не менее 1,5 МПа. Массивные конструкции бетонируют слоями, толщину которых определяют по формуле:
h = Qt/F
где: h - толщина укладываемого слоя, м.;
Q - интенсивность подачи бетонной смеси, м3 /час;
F - площадь бетонной конструкции, м ;
t- максимальная длительность времени перекрытия ранее уложенного слоя, час.;
t = t1 тАУ t2
где: t1 - промежуток времени между затвором и началом отвердевания цемента, час.
t2 - длительность транспортировки и укладки первой порции бетонной смеси, час.
Для обеспечения уплотнения укладываемого слоя, его толщину принимают не более 1,25 длины рабочей части внутреннего вибратора.
Колонны, стены и перегородки бетонируют ярусами. В пределах яруса бетонную смесь укладывают непрерывно, между ярусами устраивают рабочие швы. Высота яруса принимается 2-3 м.
В балки, прогоны и плиты перекрытий бетонную смесь укладывают, как правило, одновременно. В плитах толщина укладываемого бетонного слоя, составляет 12-25 см.
Арки и своды бетонируют в направлении от пят к замку, одновременно с двух сторон. При пролете более 15 м. бетонную смесь укладывают полосами, длина которых такая же как и продольной оси конструкции. Между полосами оставляют небольшие разрывы, которые заполняют через 5 - 7 дней.
В бетонные подготовки бетонную смесь укладывают широкими полосами между маячными досками сразу на всю высоту.
Основной способ уплотнения смеси - вибрация.
Сущность его заключается в том, что с помощью вибраторов вызывают колебательные движения частиц смеси. В итоге резко снижаются трение и сцепление между ними, смесь приобретает подвижность структурной жидкости, которая стремится занять наименьший объем. Частицы смеси укладываются плотнее в опалубку, выдавливая на поверхность пузырьки воздуха и воды.
В зависимости от способа влияния на бетонную смесь при ее уплотнении различают внутренние, внешние и поверхностные вибраторы.
Внутренние вибраторы наиболее эффективны, их рабочий наконечник при работе окунают в массу, которую уплотняют.
Внешние вибраторы, прикрепляют к опалубке и через нее передают вибрацию на бетонную смесь.
Поверхностные вибраторы устанавливают на уложенный слой смеси.
По мере бетонирования внутренние вибраторы переставляют из одной позиции на другую. Шаг их передвижения составляет 1,5 - 1,75 радиуса действия.
Поверхностные вибраторы переставляют, перекрывая уплотненный участок на 50 - 100 мм
Длительность вибрации для внутренних вибраторов 20 - 40 с; поверхностных 20 - 60 с; внешних - до 60 с.
При бетонировании бетонных и ж/б конструкций неминуемы перерывы в работе. Поэтому устраивают рабочие швы. При возобновлении бетонирования, поверхность ранее уложенного бетона необходимо очистить от грязи и пленки цементного молока, чтобы обнажить крупный заполнитель. На старом затвердевшем бетоне делают насечку. Очищенную поверхность обдувают сжатым воздухом и смачивают водой.
Непосредственно перед возобновлением бетонированрования на подготовленную поверхность наносят слой цементного раствора состава 1:3.
7. Уход за бетоном, обработка после распалубливания
После укладки бетонной смеси наступает период выдержки, который длится до получения бетоном необходимой прочности. В этот период осуществляется уход за бетоном.
В сухую погоду при температуре 15В°С и выше поверхность бетона систематически увлажняют, поливая ее водой. Бетоны на портландцементе необходимо поливать на протяжении 7 суток. Первые три дня бетон поливают через каждые три часа и 1 раз ночью, а в последующие дни не реже 3-х раз в сутки. Бетоны на шлакопортландцементах, которые имеют меньшую активность, поливают на протяжении 14 суток, а на высокоактивных глиноземистых цементах - на протяжении 3х суток.
В жаркую сухую погоду при температуре более 15В°С открытые распалубленные поверхности бетона необходимо защищать от солнца, укрывая их рогожами защитными пленками.
В период выдерживания бетона до приобретения им прочности не менее 1,5 МПа движение людей и установка рихтовок по забетонированной поверхности запрещены.
Обработка поверхностей конструкций состоит в исправлении дефектов, выявленных после распалубливания: пустот, каверн, раковин, их расчищают, потом заполняют бетонной смесью или раствором под давлением. Для придания поверхности бетона соответствующего вида ее обрабатывают пескоструйными аппаратами, шлифуют и т.д.
8. Производство бетонных и железобетонных работ в зимних условиях
При температуре ниже 0В°С вода в бетонной смеси замерзает, реакция гидратации прекращается и бетон не отвердевает. Если к моменту замерзания бетон набрал определенную прочность, то после оттаивания он может достичь проектной марки. Минимальное значение прочности, что может быть допущено к моменту замерзания, называется критической прочностью. Эта прочность указывается в проекте, ее минимальное значение регламентируется СНиП.
Для обеспечения рационального температурно-влажностного режима отвердевания бетона применяют разные способы: безобогревное выдерживание бетона, искусственный подогрев и комбинированную выдержку.
Безобогревную выдержку бетона осуществляют путем применения метода термоса и химических добавок.
Для искусственного подогрева бетона используют электроэнергию, пар и теплый воздух.
Комбинированная выдержка является соединением отдельных методов.
Температура бетонной смеси, которая укладывается в опалубку при выдерживании бетона по методу термоса, должна отвечать установленной расчетом, при применении искусственного обогрева - быть не ниже +5В°С.
Производство бетонных работ в зимних условиях требует соответствующей подготовки: предварительно определяют объемы работ и выбирают методы их выполнения; защищают грунт основания от промерзания и т.п. При транспортировке бетонной смеси утепляют тару и прогревают ее перед загрузкой у нее бетонной смеси. Открытые поверхности бетона укрывают.
Перед укладкой бетонной смеси опалубку и арматуру очищают от снега и пыли. Арматурные стержни диаметром более 25мм., арматуру из прокатных профилей и большие залоговые части при отрицательной температуре воздуха ниже -10В°С подогревают до положительной температуры.
Бетонирование монолитных конструкций с применением прогревания бетона необходимо проводить таким образом, чтобы исключить возможность возникновения значительных температурных деформаций. Для этого в определенных местах оставляют разрывы, которые заполняют бетонной смесью после охлаждения положенного раньше бетона к 15В°С.
9. Контроль качества бетонных работ
Контроль качества бетонных и железобетонных работ должен состоять из проверки:
- качества арматуры и составляющих бетонной смеси, а также условий их хранения;
- работы бетоносмесительных узлов, их дозирующих устройств и бетонного хозяйства в целом;
- готовности блоков и частей сооружений к бетонированию ( подготовка основы, установления опалубки, лесов и подмостей, арматуры и закладных частей);
- качества бетонной смеси при ее приготовлении, транспортировке и укладке;
- правильности ухода за бетоном, сроков распалубливания, а также частичной и полной нагрузки конструкций;
- качества забетонированных конструкций; - осуществление мероприятий по устранению обнаруженных дефектов;
Для проведения мероприятий контроля бетонных работ необходимо вести систематический надзор за проведением работ, выполнять в необходимых случаях соответствующие анализы, исследования, испытания, вести установленную техническую документацию по проведению и контролю качества работ.
При контроле качества бетона проверяют:
- соответствие фактической прочности бетона в конструкции прочности, которая требует проект, а также заданной в сроки промежуточного контроля;
- показатели морозоустойчивости и водонепроницаемости бетона при условии специальных требований проекта.
Необходимо систематически контролировать подвижность и жесткость бетонной смеси в местах ее изготовления и укладки. В случае появления отклонений от заданной консистенции смеси, или же при нарушении ее однородности следует принимать соответствующие меры для улучшения условий транспортировки смеси или изменения ее состава.
Бетонные и железобетонные работы представляют собой комплекс технологических процессов, в результате которых создаются бетонные сооружения необходимых размеров и конфигурации, которые обладают надежностью и долговечностью работы в условиях влияния водного потока, попеременного замерзания и оттаивания и других природно-климатических и производственных факторов.
В комплекс бетонных работ входит приготовление бетонной смеси, транспортировка ее к месту укладки, установление опалубки и арматуры, укладка бетонной смеси и уход за бетоном. Каждый из элементов комплекса представляет собой сложный технологический процесс.
Заключение
Выбор бетонной смеси по степени её подвижности или жёсткости производят в зависимости от типа бетонируемой конструкции, способов транспортирования и укладки бетона Наряду с ценными конструктивными свойствами бетон обладает также и декоративными качествами. Подбором компонентов бетонной смеси и подготовкой опалубок или форм можно видоизменять окраску, текстуру и фактуру бетона; фактура зависит также и от способов механической и химической обработки поверхности бетона. Пластическая выразительность сооружений и скульптуры из бетона усиливается его пористой, поглощающей свет поверхностью, а богатая градация декоративных свойств бетона используется в отделке интерьеров и в декоративном искусстве.
Литература
1.Ясинецкий В.Г., Фенин Н.К. Организация и технология гидромелиоративных работ.-М.: Агропромиздат, 1986.- с.116-184.
2.Чураков А.И. и др. Производство гидротехнических работ.-М.: Стройиздат,1985. с. 262-387.
http://" onclick="return false">
http://betonbeton.ru/slovar/betonnie-raboti
http://" onclick="return false">
Вместе с этим смотрят:
Авангардизм як явище архiтектури ХХ столiття
Автоматическая автозаправочная станция на 250 заправок в сутки
Анализ деятельности строительного предприятия "Луна-Ра-строй"
Анализ проектных решений 20-ти квартирного жилого дома