Высокоскоростные технологии сетей телекоммуникаций
МИНИСТЕРСТВО СВЯЗИ И ИНФОРМАТИЗАЦИИ
РЕСПУБЛИКИ БЕЛАРУСЬ
Учреждение образования
"ВЫСШИЙ ГОСУДАРСТВЕННЫЙ КОЛЛЕДЖ СВЯЗИ"
КОНТРОЛЬАЯ РАБОТА
по дисциплине: "Высокоскоростные технологии сетей телекоммуникаций"
Выполнил: студент
6 курса группы ТЭ262
Жук В.П.
Проверила: Левданская Е.С.
МИНСК 2005
Задача 1
Привести схему базовой топологии "кольцо-кольцо" сети SDH и пояснить, какие задачи, и на каких участках сети могут быть решены при ее использовании. Указать, на базе каких функциональных модулей построена данная топология.
Ответ:
Топология "кольцо" (рис.1) широко используется для построения SDH сетей первых двух уровней SDH иерархии (155 и 622 Мбит/с). Основное преимущество этой топологии - лёгкость организации защиты типа 1+1, благодаря наличию в синхронных мультиплексорах SMUX двух пар оптических каналов приёма/передачи: восток - запад, дающих возможность формирования двойного кольца со встречными потоками.
![]() |
Рис. 1. Топология "кольцо" c защитой 1+1
Данная топология построена на базе мультиплексора. Мультиплексор ввода/вывода ADM может иметь на входе тот же набор трибов, что и терминальный мультиплексор. Он позволяет вводить/выводить соответствующие им каналы. Дополнительно к возможностям коммутации, обеспечиваемым ТМ, ADM позволяет осуществлять сквозную коммутацию выходных потоков в обоих направлениях, а также осуществлять замыкание канала приёма на канал передачи на обеих сторонах ("восточный" и "западный") в случае выхода из строя одного из направлений. Наконец, он позволяет (в случае аварийного выхода из строя мультиплексора) пропускать основной оптический поток мимо него в обходном режиме. Всё это даёт возможность использовать ADM в топологиях типа кольца.
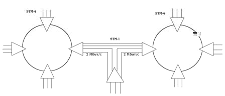
Архитектура типа "кольцо-кольцо"
Другое часто используемое в архитектуре сетей SDH решение - соединение типа "кольцо-кольцо". Кольца в этом соединении могут быть либо одинакового, либо разного уровней иерархии SDH. На рис.2.2 показана схема соединения двух колец одного уровня - STM-4, а на рис.3.13 каскадная схема соединения трёх колец - STM-1, STM-4, STM-16.

Рис. 2.Два кольца одного уровня.

Рис. 3.Каскадное соединение трёх колец.
Задача 2
Пояснить основные термины в технологии защиты потоков SDH и суть одного из методов обеспечения быстрого восстановления работоспособности синхронных сетей.
Схема резервирования | Термин топологии защиты потоков |
| Резервирование терминального оборудования по схеме 1:1, N:1 | Двунаправленное кольцо |
Вместе с этим смотрят:
IP-телефония. Особенности цифровой офисной связи
