Датчики угла поворота
Промышленная электроника используется в различных отраслях народного хозяйства, науки и техники. Наряду с тенденцией автоматизации технологических и производственных процессов на базе вычислительной техники, современная промышленная электроника стала наиболее распространённой.
Базовой системой любой современной автоматической системы управления производственным процессом [4], является система автоматического контроля, позволяющая получать измерительную информацию о режимных параметрах процессовтАж
Научной основой систем автоматического контроля являются различные принципы измерений параметров технологических процессов, а технической базой этих систем служат средства измерений и преобразований соответствующих параметров, устройства для автоматизации производственных процессов, содержащие в себе ряд элементов, служащих для измерения параметров процесса. Этим элементом автоматической системы является датчик.
В настоящее время датчики разрабатываются во многих исследовательских и опытно-конструкторских организациях. Множество специалистов, в своей работе, сталкивается с выбором конкретных датчиков.
Разнообразие технологических процессов приводит к необходимости иметь широкий выбор датчиков, которые должны соответствовать требованиям, характерным для всех устройств автоматики. Они должны иметь: высокую чувствительность, точность, быстродействие, надёжность, прочность, сравнительно малые размеры и т.д.
Данный реферат включает в себя обзор шести датчиков угла поворота. Цель этого реферата тАУ приобретение умения пользоваться патентной литературой, делая сравнительный анализ, давая экономическую оценку, навыков по оформлению технической литературы, а также приобретение способности анализировать процессы, происходящие в элементах устройства.
2. Описание конструкции датчиков
2.1 Датчик индукционный бесконтактный угла поворота
Формула изобретения.
1. Индукционный бесконтактный датчик угла поворота [1], содержащий ферромагнитный статор с пазами на его внутренней поверхности, размещённую в паре его диаметрально расположенных пазов обмотку возбуждения, размещённую в его других пазах выходную обмотку и двухполюсный ферромагнитный ротор с длиной Т полюсной дуги, отличающийся тем, что, с целью расширения функциональных возможностей путём изменения вида его выходной характеристики в функции угла поворота ротора, пазы для размещения выходной обмотки расположены с угловым смещением В±g относительно диаметрально расположенных пазов с обмоткой возбуждения. 2. Датчик по п. 1, отличающийся тем, что, с целью повышения выходной характеристики в виде симметричной треугольной зависимости, полюсная дуга Т=p/2, а угловое смещение g=p/2.
Датчик индукционный бесконтактный. Вид общий

Рис. 1. 1 тАУ ферромагнитный статор; 2 тАУ двухполюсный ферромагнитный ротор; 3-5 и 3¢-5¢- пазы; 6, 6¢- обмотка возбуждения; 7, 7¢- выходная обмотка; Т тАУ ширина полюсной дуги; g- угловое смещение пазов выходной обмотки относительно диаметрально расположенных пазов с обмоткой возбуждения;q- угол поворота ротора.
3. Датчик по п. 1, отличающийся тем, что, с целью повышения выходной характеристики в виде пилообразной зависимости с зоной нечувствительности G, полюсная дуга Т=p/2, а угловое смещение g=0,5(p/2-G).
4. Датчик по п. 1, отличающийся тем, что, с целью повышения выходной характеристики в виде трапецеидальной зависимости с длиной B плоского горизонтального участка, полюсная дуга Т=B +p/2, а угловое смещение g=p/2.
Принцип действия
При подключении обмотки возбуждения к источнику переменного напряжения (см. рис.3) начинает вращаться двухполюсный ферромагнитный ротор, который вызывает магнитную индукцию. С выходной обмотки снимают выходное напряжение(Uвых.), которое зависит от угла q поворота ротора, а также определяется конструктивными параметрами Т, g.
Вывод: Изобретение относится к измерительно-преобразовательной технике, а именно к индукционным датчикам угла, выходное напряжение которых изменяется по требуемому закону при повороте ротора, и может найти применение в качестве первичных датчиков информации в аналоговых и дискретных системах. Данный датчик очень прост по конструкции и способен показывать разные выходные характеристики (треугольная, пилообразная и трапецеидальная зависимости). Датчик имеет относительную дешевизну при изготовлении. Выходное напряжение изменяется при повороте на угол q=p/2.
2.2 Датчик индукционный бесконтактный угла поворота с цилиндрическим ротором
Формула изобретения.
Индукционный бесконтактный датчик угла поворота [2], содержащий ферромагнитный ротор с Ш тАУ образным поперечным сечением, размещённые на его среднем стержне две соединённые последовательно согласно катушки, образующие выходную обмотку, и явнополюсный ферромагнитный ротор, отличающийся тем, что, с целью упрощения конструкции, ротор выполнен цилиндрическим, полюса образуют на его поверхности выступ в виде одного витка винтовой спирали, статор установлен так, что его продольная ось симметрии, проходящая вдоль среднего стержня, параллельна оси ротора, а его длина равна удвоенной ширине полюсного выступа.
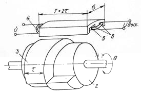
Датчик индукционный бесконтактный угла поворота с цилиндрическим ротором. Вид общий.

Рис. 2. 1 тАУ статор; 2 тАУ ротор; 3 тАУ выступ ротора; 4 тАУ первичная обмотка; 5 тАУ вторичная обмотка; 6 тАУ паз статора; t- длина полюса; d- ширина полюса; q- угол поворота ротора; Ů - переменное напряжение; Uвых. - выходное напряжение.
Принцип действия.
К источнику переменного напряжения подключается статор (см. рис.2). При этом соединённый с ним ротор начинает поворачиваться на угол q. В результате возникает магнитная индукция, которая вызывает в выходной обмотке статора ЭДС (выходное напряжение). Если статор в равной мере перекрывает парные части выходной обмотки, то Uвых.= 0. Рабочий диапазон углов поворота ротора равен 
Вывод: Изобретение относится к измерительно-преобразовательной технике, а именно к индукционным бесконтактным датчикам угла, предназначенным для преобразователя угла поворота ротора в электрическое напряжение, и может найти применение в качестве первичного датчика информации в аналоговых и дискретных (цифровых) системах. Датчик прост по конструкции и производству. Он относительно дешёвый. Парные части выходной обмотки соединены встречно. Один оборот ротора соответствует одному шагу винтового выступа, а распределение магнитной индукции зависит от угла q поворота ротора.
2.3 Датчик трансформаторный угла поворота с цилиндрическим ротором
Формула изобретения.
Трансформаторный датчик угла поворота [3], содержащий ферромагнитный цилиндрический ротор, ферромагнитный статор, выполненный в виде полного цилиндра с торцевыми крышками, и размещённые на нём обмотки возбуждения и измерения, отличающийся тем, что, с целью повышения точности измерения путём увеличения чувствительности, он снабжён двумя парами пластин, выполненных из немагнитного материала с высокой электропроводностью, одна из пар размещена на внутренних поверхностях крышек статора симметрично относительно поперечной оси датчика, другая тАУ на основаниях ротора диаметрально противоположно относительно продольной оси датчика, а обмотки возбуждения и измерения размещены в кольцевых пазах торцовых крышек статора.
Датчик трансформаторный с цилиндрическим ротором. Вид общий.
|