Електровимiрювальна апаратура
Мiнiстерство освiти та науки Украiни
Державний вищий навчальний заклад
тАЮЛисичанський нафтохiмiчний технiкумтАЭ
ЖУРНАЛ
Лабораторнi роботи
( звiти )
5.05130103.ЕОЕ.096.00.00.ЛР
Перевiрив викладач
_______ З. РЖ. Вахрамiiва
Виконав студент
_________ Д. I. Левченко
Лисичанськ
2009
ЗМРЖСТ
Лабораторна робота № 1 тАЮОзнайомлення з правилами технiки безпеки, правилами збiрки схем i правилами користування електровимiрювальною апаратуроютАЭ
Лабораторна робота № 2 тАЮДослiдження схем зтАЩiднання резисторiвтАЭ
Лабораторна робота № 3 тАЮПеревiрка амперметра i вольтметратАЭ
Лабораторна робота № 4 тАЮ Паралельне зтАЩiднання iндуктивноi котушки i конденсатора. Компенсацiя потужностiтАЭ
Лабораторна робота № 5 тАЮДослiдження трифазного кола при зтАЩiднаннi споживача зiркоютАЭ
Лабораторна робота № 6 тАЮДослiдження режимiв однофазного трансформаторатАЭ
Лабораторна робота № 7 тАЮЗняття робочих характеристик трифазного асинхронного двигуна з короткозамкненим роторомтАЭ
Лабораторна робота № 8 тАЮЗбiрка i перевiрка роботи схем релейно-контакторного управлiння трифазним асинхронним двигуном з короткозамкненим роторомтАЭ
Лабораторна робота №9 тАЮВизначення втрат напруги i потужностi у проводах ЛЕПтАЭ
Лабораторна робота № 10 тАЮДослiдження роботи однонапiвперiодного i двохнапiвперiодного однофазного випрямлячiвтАЭ
Лабораторна робота № 1
тАЮОзнайомлення з правилами технiки безпеки, правилами збiркисхем i правилами користування електровимiрювальною апаратуроютАЭ
Мета роботи: ознайомитися з правилами технiки безпеки, правилами збiрки схем i правилами користування електровимiрювальною апаратурою
ВИКОНАННЯ РОБОТИ
Ознайомитися з правилами технiки безпеки
Ознайомитися з правилами збiрки схем
Ознайомитися з правилами користування вимiрювальноi апаратури:
Оглянути зовнiшнiй вигляд пристрою
Визначити призначення пристрою
Ознайомитися з iнструкцiiю; технiчною характеристикою пристрою; правилами користування;
Визначити дiапазон вимiрювання, цiну подiлки
4. Здати усний залiк по правилам ТБ
Лабораторна робота № 2
тАЮДослiдження схем зтАЩiднання резисторiв тАЭ
Мета роботи: 1) навчитися складати послiдовне, паралельне та мiшане кола;
2) вивчити спiввiдношення мiж струмами i напругами при послi-
довному, паралельному i мiшаному зiднаннях резисторiв;
3)визначити опiр електричного кола
Прилади i обладнання: мiлiамперметр А (- 50 мА), мiлiамперметр А (- 300 мА), амперметр А (- 1 А), вольтметр V1 (-50 В), вольтметр V2 (-15 В), резистори R2, R3, R4, R5, зтАЩiднувальнi проводи
Таблиця 2.1 Технiчнi характеристики приладiв
| Найменування приладу, його шифр | Система приладу | Клас точностi | Дiапазон вимiрювання | Рiд струму |
РЖ. Дослiдження послiдовного зтАЩiднання резисторiв

Рис.2.1 тАУ Схема послiдовного зтАЩiднання резисторiв
Таблиця 2.2 Результати дослiдження послiдовного зтАЩiднання резисторiв
№ дослiду | Експериментальнi данi | Результати обчислень | |||||||||||
Uзаг, В | U2, В | U3, В | U4, В | U5, В | Iзаг, А | U/заг, В | R2, Ом | R3, Ом | R4, Ом | R5, Ом | Rзаг, Ом | R/заг, Ом | |
| 1 | 10 | ||||||||||||
| 2 | 20 | ||||||||||||
| 3 | 30 | ||||||||||||
Перевiряiмо виконання другого закону Кiрхгофа:
![]()
Обчислюiмо значення опорiв:






РЖРЖ. Дослiдження паралельного зтАЩiднання резисторiв

Рис. 2.2 тАУ Схема паралельного зтАЩiднання резисторiв
Таблиця 2.3 Результати дослiдження паралельного зтАЩiднання резисторiв
№ дослiду | Експериментальнi данi | Результати обчислень | |||||||
Uзаг, В | Iзаг, А | I2, А | I3, А | I/заг, А | R2, Ом | R3, Ом | Rзаг, Ом | R/заг, Ом | |
| 1 | 10 | ||||||||
| 2 | 15 | ||||||||
| 3 | 20 | ||||||||
Перевiряiмо виконання першогозакону Кiрхгофа:
![]()
Обчислюiмо значення опорiв за формулами:
![]()




Лабораторна робота № 3
тАЮПеревiрка амперметра i вольтметратАЭ
Мета роботи: навчитися перевiряти амперметри i вольтметри; виявляти вiдповiднiсть перевiряiмих приладiв класу точностi, позначеному на них
Прилади i обладнання: мiлiамперметр mA (~ 300 мА), зразковий мiлiамперметр mA (~300 мА з класом точностi 0.5), вольтметр V1 ( - 15 В), зразковий вольтметр V (-15 В з класом точностi 0.5), резистори R/1, R/2, зтАЩiднувальнi проводи
ВИКОНАННЯ РОБОТИ
Таблиця 3.1 Технiчнi характеристики приладiв
| Найменування приладу, його шифр | Система приладу | Клас точностi | Дiапазон вимiрювання | Рiд струму |
ДОСЛРЖД РЖ
mA mA1
~ 0÷ 6.3 В
грубо точно
R/1 R/2
Рис 3.1 тАУ Схема перевiрки амперметра
Таблиця 3.2 Результати перевiрки мiлiамперметра
| Покази перевiряiмого мiлiамперметра РЖ, mA |
|
|
|
|
|
|
Покази зразкового мiлiамперметра Iзр, mA |
|
|
|
|
|
|
| Абсолютна похибка ∆РЖ, mA |
|
|
|
|
|
|
Зведена похибка, γзв, % |
|
|
|
|
|
|
Лабораторна робота № 6
тАЮДослiдження режимiв однофазного трансформаторатАЭ
Мета роботи: визначити коефiцiiнт трансформацii i ККД трансформатора в рiзних режимах; побудувати зовнiшню характеристику трансформатора i залежнiсть його ККД вiд коефiцiiнта завантаження
Прилади i матерiали: джерело живлення (мережа змiнного струму), однофазний трансформатор ( 220/42 В), лабораторний автотрансформатор ЛАТР, два вольтметри V1 (~250 В), V2 (~50 В), два амперметри А1(~5 А) i А2 (~5 А) електромагнiтноi системи, ватметр Р1 (~1500 Вт), ламповий реостат на 6 ламп розжарювання, однополюсний вимикач S1, автоматичний вимикач QF, зтАЩiднувальнi проводи
ВИКОНАННЯ РОБОТИ
Таблиця 6.1 Технiчнi характеристики приладiв
| Найменування приладу, його шифр | Система приладу | Клас точностi | Дiапазон вимiрювання | Рiд струму |

Рис. 6.1 - Схема для дослiдження режимiв однофазного трансформатора
Таблиця 6.2 Результати дослiдження режимiв однофазного трансформатора
| № п/п | Режим роботи трансформатора | Данi дослiджень | Результати обчислень | ||||||
U1, В | I1, А | P1, Вт | U2, В | I2, А | P2, Вт | k3 | η, % | ||
| 1 | Холостий хiд | ||||||||
| 2 | Увiмкнуто 1 лампу | ||||||||
| 3 | Увiмкнуто 2 лампи | ||||||||
| 4 | Увiмкнуто 3 лампи | ||||||||
| 5 | Увiмкнуто 4 лампи | ||||||||
| 6 | Увiмкнуто 5 ламп | ||||||||
| 7 | Коротке замикання | ||||||||
Обчислюiмо коефiцiiнт трансформацii К (тiльки для холостого ходу), корисну потужнiсть P2, коефiцiiнт завантаження k3, , ККД трансформатора η за формулами:
;
; ![]()
де ![]()
![]()
де
= Р1 в першому дослiдi ( дослiдi холостого ходу),
= Р1 в сьомому дослiдi ( в дослiдi короткого замикання)
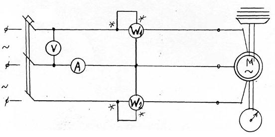
Лабораторна робота № 7
тАЮЗняття робочих характеристик трифазного асинхронного двигуназ короткозамкненим роторомтАЭ
Мета роботи: виявити залежнiсть параметрiв двигуна вiд навантаження на його валу
Прилади i матерiали: джерело живлення (трифазна мережа змiнного струму), трифазний асинхронний двигун з короткозамкненим ротором, вольтметр V (~250 В), амперметр А (~5 А) електромагнiтноi системи, два однофазних ватметри феродинамiчноi системи W1 i W2 (~1500 Вт), тахометр, механiчне гальмо, автоматичний вимикач QF, зтАЩiднувальнi проводи
ВИКОНАННЯ РОБОТИ
Таблиця 7.1 Технiчнi характеристики приладiв
| Найменування приладу, його шифр | Система приладу | Клас точностi | Дiапазон вимiрювання | Рiд струму |
QF C1 Гальмо
С2
С3
Рис. 7.1 - Схема для дослiдження трифазного двигуна
Розрахунки:
![]()
![]()
![]()
![]()
![]()
![]()
Таблиця 7.2 Результати зняття робочих характеристик трифазного двигуна
№ п/ п | Режим роботи | Данi спостереження | Результати обчислення | ||||||||||
U, В | I, А | P, Вт | n, об/хв | l, м | m, кг | n0-n, об/хв | s, % | cosφ | M, Нм | P2, Вт | η , % | ||
| 1 | Холостий хiд | ||||||||||||
| 2 | Пiд навантаженням | ||||||||||||
| 3 | Пiд навантаженням | ||||||||||||
| 4 | Пiд навантаженням | ||||||||||||

Рис. 7.2 Робо чi характеристики n=f(P2), I=f(P2), M=f(P2), s=f(P2), cosφ=f(P2), η=f(P2)
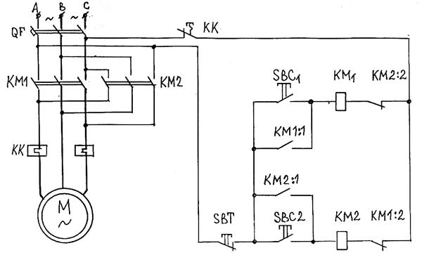
Лабораторна робота № 8
тАЮЗбiрка i перевiрка роботи схем релейно-контакторного управлiння трифазним асинхронним двигуном з короткозамкненим роторомтАЭ
Мета роботи: вивчити ДЕСТи на графiчнi i буквеннi позначення на електричних схемах; вивчити будову i принцип дii пусковоi низьковольтовоi апаратури; здобути навички в збiрцi схем пуску двигунiв; зiбрати i перевiрити схеми пуску нереверсивного i реверсивного трифазного асинхронного двигунiв з короткозамкненими роторами
Обладнання: трифазний автоматичний вимикач, трьох кнопкова станцiя, два контактори, теплове реле, трифазний двигун з короткозамкненим ротором, зтАЩiднувальнi проводи
ВИКОНАННЯ РОБОТИ

Рис. 8.1 тАУ Схема пуску нереверсивного трифазного асинхронного двигуна з короткозамкненим ротором

Рис.8.2 тАУ Схема пуску реверсивного трифазного асинхронного двигуна з короткозамкненим ротором
Лабораторна робота № 9
тАЮВизначення втрат напруги i потужностi у проводах ЛЕПтАЭ
Мета роботи: вияснити, який вплив надаi навантаження лiнii i опiр ii проводiв на напругу приймача; визначити потужнiсть втрат в проводах i ККД лiнii електропередач
Прилади i матерiали: двохпровiдна лiнiя з мiдними i сталевими проводами, лабораторний автотрансформатор ЛАТР, два вольтметри i амперметр електромагнiтноi системи, ламповий реостат на 3 лампи, зтАЩiднувальнi проводи
ВИКОНАННЯ РОБОТИ
Таблиця 9.1 Технiчнi характеристики приладiв
| Найменування приладу, його шифр | Система приладу | Клас точностi | Дiапазон вимiрювання | Рiд струму |

Рис. 9.1 тАУ Двох провiдна лiнiя електропередач
Таблиця 9.2 Результати дослiдження проводiв ЛЕП
№ п /п | проводи | Опiр проводу R, Ом | Данi спостережень | Результати обчислень | |||||
U1, В | U2, В | I, A | ∆U', В | ∆U", В | ∆P, Вт | η, % | |||
| 1 | 2 | 3 | 4 | 5 | 6 | 7 | 8 | 9 | 10 |
| 1 | Мiднi | ||||||||
| 2 | |||||||||
| 3 | |||||||||
| 4 | сталевi | ||||||||
| 5 | |||||||||
| 6 | |||||||||
Обчислюiмо втрати напруги ∆U', ∆U", втрати потужностi ∆P, ККД η за формулами
![]()
![]()
![]()
![]()
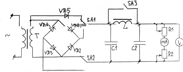
Лабораторна робота № 10
ВлДослiдження роботи однонапiвперiодного i двохнапiвперiодногооднофазного випрямлячiвВ»
Мета роботи : вивчити роботу випрямлячiв; виявити вплив згладжу вального фiльтру на випрямлену напругу
Прилади i матерiали: генератор низькоi частоти ГНЧШ, осцилограф ОМШ-2-76, лабораторний макет випрямлячiв, вольтметр i амперметр магнiтоелектричноi системи, зтАЩiднувальнi проводи
ВИКОНАННЯ РОБОТИ
Таблиця 10.1 Технiчнi характеристики приладiв
| Найменування приладу, його шифр | Система приладу | Клас точностi | Дiапазон вимiрювання | Рiд струму |

Рис. 10.1 тАУ Схема лабораторноi установки для дослiдження випрямлячiв
Таблиця 10.2 Результати дослiдження випрямлячiв без фiльтру
Тип випрямляча | Параметр випрямляча | Данi спостереження | |||||
Однонапiвперiодний без фiльтру | Напруга U, В | ||||||
| Струм РЖ, mA | |||||||
Двохнапiвперiодний без фiльтру | Напруга U, В | ||||||
| Струм РЖ, mA | |||||||
Таблиця 10.3 Результати дослiдження випрямлячiв з фiльтром
Тип випрямляча | Параметр випрямляча | Данi спостереження | |||||
Однонапiвперiодний з фiльтром | Напруга U, В | ||||||
| Струм РЖ, mA | |||||||
Двохнапiвперiодний з фiльтром | Напруга U, В | ||||||
| Струм РЖ, mA | |||||||
Вместе с этим смотрят:
IP-телефония. Особенности цифровой офисной связи