Проектирование и расчёт конструкций из дерева
Одним из важнейших направлений прогресса строительства, которое ведётся во всё возрастающих масштабах, является производство и применение лёгких и эффективных строительных конструкций. Повышение качества строительства, ускорение его темпов, снижение материалоёмкости, трудоёмкости и стоимости имеют огромное значение. Широкое применение в строительстве эффективных лёгких сборных конструкций заводского изготовления позволит существенно ускорить сооружение строительных объектов, упростить и снизить трудоёмкость работ по сооружению фундаментов, транспортированию и монтажу зданий и сооружений и получить благодаря этому значительный технико-экономический эффект.
К числу лёгких строительных конструкций в первую очередь относятся деревянные конструкции. Деревянные конструкции являлись основными в течение многих веков и имеют широкие перспективы применения в современном облегчённом капитальном строительстве. Огромные лесные богатства нашей страны являются надёжной сырьевой базой производства деревянных строительных конструкций. Деревянные конструкции характеризуются малой массой, малой теплопроводностью, повышенной транспортабельностью и их перевозки на значительные расстояния вполне рациональны. Ценные строительные свойства древесины определяют и области её эффективного использования.
Высокая прочность древесины позволяет создавать деревянные конструкции больших размеров для перекрытий зданий, имеющих свободные пролёты до 100 м и более.
Деревянные конструкции подвержены загниванию. Однако современные методы конструктивной и химической защиты от загнивания позволяют снизить до минимума опасность их гнилостного поражения и обеспечить им необходимую долговечность в самых различных условиях эксплуатации.
Древесина является стойким материалом в ряде агрессивных по отношению к бетону и металлу сред. Кроме того, деревянные конструкции проявляют необходимую долговечность в ряде сооружений химической промышленности.
Создание высокопрочных и стойких синтетических полимерных клеев и разработка высокопроизводительной заводской технологии склеивания позволили из пиломатериалов ограниченных размеров создавать клееные элементы и конструкции практически любых размеров и форм, имеющих повышенную прочность и стойкость против загнивания и возгорания и при минимальном количестве отходов. Производство и применение клееных деревянных конструкций является одним из главных направлений прогресса в области строительства из дерева. Основной задачей промышленности клееных деревянных конструкций является строгое и точное выполнение всех операций технологического процесса, с тем чтобы обеспечить высокое качество и снизить стоимость этих прогрессивных конструкций. Наибольший технико-экономический эффект даёт их использование в следующих областях строительства: большепролётные общественные здания, промышленные здания с химически агрессивной средой, не действующей на древесину, сборные малоэтажные дома заводского изготовления, сельскохозяйственные производственные здания. Опыт зарубежного строительства показывает также всё возрастающий объём применения клееных деревянных конструкций.
Дальнейшее прогрессивное развитие производственной базы заводского изготовления деревянных строительных конструкций должно быть ориентировано на повышение их эксплуатационных качеств и капитальности, на ускорение темпов строительства и повышение производительности труда не только в процессе заводского изготовления укрупнённых элементов сборных сооружений, но и при их монтаже.
Сравнение вариантов.
Для сравнения взяты следующие конструкции:
-гнутоклееная деревянная рама;
-клеенная двухскатная балка на стойках.
| Гнутоклееная деревянная рама | Балка на стойках |
Vд=3.564 м3 Сталь класса A-I 117.54 кг Клей 86 кг | Vд=5.6 м3 Сталь класса A-I 46.8 кг Клей 81.45 кг |
Определяем расход пиломатериалов:
Для рамы
м3
Для балки
м3
k3=1.07 тАУ коэф. для элементов со стыком на зубчатый шип;
dп, bп, dо, bo тАУ толщина и ширина до острожки и после соответственно;
lзб тАУ длина заготовительного блока;
lд тАУ длина в деле.
Определяем трудоемкость изготовления конструкций:
Для рамы Тизг=tи×L+Тс+Тт+Та=0.4×27.8+3.5×5.09+1×5.09+1×3.564+4=41.6 чел.час.
Для балки Тизг=tи×L+Тс+Тт+Та=0.05×28.5+3.5×7.8+1×7.8+1×5.6+4=46.125 чел.час.
tи тАУ удельная трудоемкость изготовления и сборки;
Тс = tс×Vп тАУ трудоемкость сушки(tс =3.5 чел.час./м3)
Тт=tт`×Vп+tт``×VдтАУ трудоемкость транспортных операций
(tт`=1 чел.час./м3, tт``=1 чел.час./м3);
Та - трудоемкость на септирование.
ТЭП
| Гнутоклееная деревянная рама | Балка на стойках |
Vд=3.564 м3 | Vд=5.6 м3 |
| Сталь класса A-I 117.54 кг | Сталь класса A-I 46.8 кг |
| Клей 86 кг | Клей 81.45 кг |
Vп=5.09 м3 | Vп=7.8 м3 |
Тизг=41.6 чел.час | Тизг=46.125 чел.час |
| Стоимость(руб) | |
| Отпускная 570.24 | 560 |
| Транспортная 53.46 | 56 |
| Монтажа и окраски 142.56 | 168 |
| Итого 766.26 | 784 |
Сравнив показатели и учитывая все конструктивные и архитектурные качества конструкций, для дальнейшего расчета принимаем деревянную гнутоклееную раму.
Теплотехнический расчет ограждающих конструкций
Для строительства выбрана Костромская область.
Теплотехнический расчет клеефанерной панели:
Схематический чертеж ограждающей конструкции

1. Фанерная обшивка: g0 = 600 кг/м3; d1 = 10 мм; l1 = 0.18 Вт/(м×С0);
2. Утеплитель тАУ минераловатные плиты на синтетическом связующем (прошивные): g0 = 125 кг/м3; l2 = 0.07 Вт/(м×С0);
3. Пароизоляция d3 = 0.2 мм;
4. Воздушная прослойка d4 = 87 мм; d4 /l4 = 0.19;
5. Фанерная обшивка g0 = 600 кг/м3; d5 = 10 мм; l5 = 0.18 Вт/(м×С0);
6. Рубероид (3 слоя) g0 = 600 кг/м3; d5 = 5 мм; l5 = 0.17 Вт/(м×С0).
Определяем
через ГСОП (градусы сутки отопительного периода):
![]()
![]()
![]()
, отсюда ![]()
Принимаем толщину утеплителя равную 8 см.
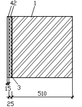
Теплотехнический расчет кирпичной стены:
Схематический чертеж ограждающей конструкции

1. Кладка из силикатного кирпича на цементно-песчаном растворе: g0 = 1800 кг/м3; d1 = 510 мм; l1 = 0.87 Вт/(м×С0);
2. Утеплитель тАУ минераловатные плиты на синтетическом связующем (жесткие): g0 = 125 кг/м3; l2 = 0.07 Вт/(м×С0);
3. Пароизоляция: d3 = 0.2 мм;
4. Штукатурка по сетке: g0 = 1700 кг/м3; d4 = 15 мм; l4 = 0.87 Вт/(м×С0).
Определяем
через ГСОП (градусы сутки отопительного периода):
![]()
![]()
![]()
, отсюда ![]()
Принимаем толщину утеплителя равную 25 мм, а толщину стены тАУ 550 мм.
Расчет утепленной клеефанерной панели покрытия
Исходные данные. Размер панели в плане 1,48х5,98 м; обшивки из водостойкой фанеры марки Фi сорта В/ВВ по ГОСТ 3916-69*; ребра из сосновых досок второго сорта. Клей марки ФРФ-50. Утеплитель тАУ минераловатные плиты на синтетическом связующем по ГОСТ 9573-82*. Плотность утеплителя 1 кН/м3. Пароизоляция из полиэтиленовой пленки толщиной 0,2 мм. Воздушная прослойка над утеплителем тАУ вентилируемая вдоль панели. Кровля из рулонных материалов (рубероид) трехслойная. Первый слой рубероида наклеивают на заводе с применением мастик повышенной теплостойкости и механизированной прокатки слоя. Оставшиеся два слоя наклеивают после установки панели. Район строительства тАУ Костромская область.
Компоновка рабочего сечения панели. Ширину панели делают равной ширине фанерного листа с учетом обрезки кромок для их выравнивания bп = 1480 мм. Толщину фанеры принимают 10 мм. Направление волокон наружных шпонов фанеры как в верхней, так и в нижней обшивке панели должно быть продольным для обеспечения стыкования листов фанеры тАЬна устАЭ и для лучшего использования прочности фанеры.
Для дощатого каркаса, связывающего верхние и нижние фанерные обшивки в монолитную склеенную коробчатую панель, применены черновые заготовки по рекомендуемому сортаменту пиломатериалов (применительно к ГОСТ 24454-80*Е) сечением 50х175 мм. После сушки (до 12% влажности) и четырехстороннего фрезирования черновых заготовок на склейку идут чистые доски сечением 42х167 мм. Расчетный пролет панели lр = 0,99l = 0,99×2960 = 2930 мм. Высота принята hп = 187 мм, что составляет 18,7/592 = 1/32 пролета и соответствует рекомендациям, согласно которым высота панели составляет 1/30тАУ1/32 пролета.
Каркас панели состоит из четырех продольных ребер. Шаг ребер принимают из расчета верхней фанерной обшивки на местный изгиб поперек волокон от сосредоточенной силы Р = 1×1,2 = 1,2 кН как балки, заделанной по концам (у ребер) шириной 1000 мм. Расстояние между ребрами в осях с = (1480-2,42)/3 = 492 мм.
Изгибающий момент в обшивке М = Р×с/8 = 1,2×492/8 =73.8 кН×мм. Момент сопротивления обшивки шириной 1000 мм.
.
Напряжение от изгиба сосредоточенной силой
, здесь 1,2 тАУ коэффициент условия работы для монтажной нагрузки.
Для придания каркасу жесткости продольные ребра соединены на клею с поперечными ребрами, расположенными по торцам и в середине панели. Продольные кромки панелей при установке стыкуются с помощью специально устроенного шпунта из трапецевидных брусков, приклееных к крайним продольным ребрам. Полученное таким образом соединение в шпунт предотвращает вертикальный сдвиг в стыке и разницу в прогибах кромок смежных панелей даже под действием сосредоточенной нагрузки, приложенной к краю одной из панелей.
Нагрузки на панель. Панели предназначены для укладки по несущим деревянным конструкциям. Подсчет нормативной и расчетной нагрузок приведен в таблице .
№ п/п | Наименование нагрузки | Нормативная нагрузка, кН/м2 | gf | Расчетная нагрузка, кН/м2 |
| 1 | Кровля рубероидная трехслойная | 0,12 | 1,3 | 0,156 |
| 2 | Фанерная обшивка, фанера марки Фi | 0,14 | 1,1 | 0,154 |
| 3 | Продольные и поперечные ребра | 0,128 | 1,1 | 0,1408 |
| 4 | Утеплитель тАУ минераловатные плиты | 0,075 | 1,1 | 0,09 |
| 5 | Пароизоляция | 0,02 | 1,3 | 0,026 |
| 6 | Постоянная | 0,483 | 0,567 | |
| 7 | Временная | 1,5 | 1,6 | 2,4 |
| 8 | Полная | 1,983 | 2,967 |
Вместе с этим смотрят:
Авангардизм як явище архiтектури ХХ столiття
Автоматическая автозаправочная станция на 250 заправок в сутки
Анализ деятельности строительного предприятия "Луна-Ра-строй"
Анализ проектных решений 20-ти квартирного жилого дома