Екстракти в промисловiй технологii лiкiв
Змiст
Вступ
Глава 1. Процес екстрагування
1.1 Теоретичнi основи екстрагування
1.2 Особливостi екстрагування рослинноi сировини з клiтинною структурою
1.3 Стадii процесу екстрагування i iх кiлькiснi характеристики
1.4 Основнi чинники впливу на повноту i швидкiсть екстрагування
1.5 Вимоги до екстрагентiв
Глава 2. Настойки
2.1 Визначення настойок
2.2 Способи одержання настойок
2.3 Стандартизацiя
2.4 Зберiгання настойок
2.5 Класифiкацiя i номенклатура настойок
2.6 Рекуперацiя екстрагентiв вiдпрацьованоi сировини
Глава 3. Рiдкi екстракти
3.1 Визначення
3.2 Рiдкi екстракти
3.3 Способи одержання
3.4 Очищення
3.5 Стандартизацiя
3.6 Номенклатура рiдких екстрактiв
3.7 Зберiгання
Глава 4. Густi i сухi екстракти
4.1 Визначення
4.2 Способи одержання
4.3 Одержання витяжок
4.4 Очищення витяжок
4.5 Згущення витяжок
4.6 Висушування витяжок
4.7 Номенклатура густих i сухих екстрактiв i основнi iхнi показники (за державним реiстром)
4.8 Зберiгання
Глава 5. РЖншi екстракти
5.1 Екстракти-концентрати
5.2 Маслянi екстракти
Висновки
Список використаноi лiтератури
Сучаснi екстракцiйнi препарати з лiкарськоi рослинноi сировини за технологiiю одержання можна подiлити на три групи:
сумарнi (галеновi) препарати;
новогаленовi (максимально очищенi) препарати;
препарати iндивiдуальних речовин.
Галеновi препарати необхiдно розглядати як специфiчну групу лiкарських засобiв, що разом iз хiмiко-фармацевтичними та iншими препаратами входять до складу лiкiв. Галеновими вони називаються за прiзвищем вiдомого римського лiкаря i фармацевта Клавдiя Галена, що жив у 131тАФ201 рр. н. е. Термiн Влгаленовi препаратиВ» з'явився у XIII столiттi.
Витяжки iз сировини у виробництвi галенових препаратiв (настойки, екстракти тощо) не i хiмiчно iндивiдуальними речовинами, вони являють собою складнi комплекси, що часто дiють iнакше, нiж окрема хiмiчно чиста речовина. Тому й лiкувальна дiя галенових препаратiв зумовлена всiм комплексом бiологiчно активних речовин, посилюючи, послаблюючи або видозмiнюючи дiю основних речовин.
У 60-i роки XIX столiття з'явилися новi препарати галенового типу, названi новогаленовими. Вони i витяжками з лiкарських рослин, цiлком або частково звiльненими вiд супутнiх речовин, тому мають ще й назву максимально очищених препаратiв (МОП). Це також сумарнi препарати, але з вузьким спектром дii на органiзм i зi своiми особливостями. Так, глибоке очищення пiдвищуi iх стабiльнiсть, усуваi побiчну дiю ряду супутнiх речовин (смоли, танiни тощо), дозволяi рекомендувати iх для парентерального застосування.
Промислове виробництво лiкарських препаратiв iндивiдуальних речовин було органiзоване в колишньому СРСР у серединi XX столiття. Якщо порiвняно недавно iх виробництво вважалося важкодоступним, то завдяки досягненням у галузi хiмii, фiзики, технологii лiкiв та фармакологii стали можливими iх видiлення, всебiчне дослiдження та аналiз. Поширення набули препарати iндивiдуальних алкалоiдiв, серцевих глiкозидiв та iн.
Основу виробництва екстракцiйних препаратiв становлять про-цеси екстракцii. У фармацii вони широко впровадженi для одержання препаратiв iз лiкарськоiрослинноi сировини (настойки, екстракти рiдкi, густi та сухi, екстракти-концентрати, максимально очищенi, тобто новогаленовi препарати, витяжки зi свiжих рослин тощо) та iз сировини тваринного походження (препарати гормонiв, ферментiв, препарати неспецифiчноi дii тАФ пантокрин, вiтогепат i т. под.)
Вирiзняють екстрагування в системi тверде тiло тАФ рiдина та у системi рiдина тАФ рiдина, або рiдинну екстракцiю. Найпопулярнiше у фармацевтичному виробництвi екстрагування в системi тверде тiло тАФ рiдина, де твердим тiлом i лiкарська рослинна сирови-на або сировина тваринного походження, а рiдиною тАФ екстрагент. Рiдинну екстракцiю використовують при очищеннi витяжок у виробництвi максимально очищених препаратiв i препаратiв iндивiдуальних речовин з лiкарськоi рослинноi сировини.
1.1 Теоретичнi основи екстрагування
Процес екстрагування належить до масообмiнних процесiв i вiдбуваiться завдяки дифузii iз зони з високою концентрацiею. Екстрагування базуiться на дифузii бiологiчно активних речовин iз внутрiшнiх структур частинок матерiалу в екстрагент i закiнчуiться при досягненнi рiвноважних концентрацiй. У рiвноважному станi з матерiалу в екстрагент переходить така ж кiлькiсть молекул, як i з екстрагента в матерiал, тобто концентрацiя залишаiться постiйною. При цьому звичайно в матерiалi концентрацiя вища, нiж в екстрагентi.
Дифузiя буваi молекулярна i конвективна.
Молекулярна дифузiя тАФ це процес перенесення елементiв речовини (бiологiчно активноi речовини тАФ БАР) за рахунок хаотичного руху самих молекул у нерухомому середовищi. Вона характеризуiться коiфiцiентом молекулярноi дифузii Б, який виводять iз рiвняння Ейнштейна.
Коiфiцiент молекулярноi дифузii характеризуi здатнiсть даноi речовини проникати внаслiдок дифузii в нерухоме середовище i, як видно з рiвняння, зростаi з пiдвищенням температури i зменшуiться зi збiльшенням в'язкостi середовища та розмiру частинок речовини.
Отже, чим менший радiус дифундуючих частинок, тим швидше вiдбуваiться дифузiя. Наприклад, розчинам бiлкiв, слизiв, пектинiв та iнших, що мають великi молекули, властивi дуже низькi коiфiцiенти дифузii. Речовини з малими розмiрами молекул (якими частiше бувають БАР) дифундують набагато швидше.
1.2 Особливостi екстрагування рослинноi сировини з клiтинною структурою
При екстрагуваннi з лiкарськоi рослинноi сировини вiдбуваiться дифузiя БАР iз внутрiшнiх структур частинки матерiалу. Цей процес маi своi особливостi. Перш за все, наявнiсть пористоi перегородки, мiжклiтинного простору i клiтинних ходiв знижуi швидкiсть дифузii. По-друге, у пори перегородки можуть проникати лише тi речовини, частинки яких не перевищують розмiрiв пор. Нарештi, i ще одна iстотна особливiсть тАФ явище десорбцii, що спостерiгаiться в клiтинi пiсля проникнення в неi екстрагента. Оскiльки речовини в клiтинi зв'язанi силами тяжiння, то необхiдне насамперед подолання цих адсорбцiйних сил. Увесь складний комплекс дифузiйних явищ, якi вiдбуваються всерединi шматочкiв рослинного матерiалу, називають внутрiшньою дифузiею. Для вираження коiфiцiента дифузii в порах рослинного матерiалу до рiвняння Ейнштейна для вiльноi дифузii вводять поправочний коiфiцiент В, який враховуi всi ускладнення процесу.
Для матерiалу з клiтинною структурою значення коiфiцiента внутрiшньоi дифузii значно менше за значення коiфiцiента вiльноi дифузii. Так, розмiр коiфiцiента вiльноi дифузii для багатьох природних сполук перебуваi в межах 104тАФ105 м2/с. А для цих же сполук значення коiфiцiента дифузii в порах матерiалу з клiтин-ною структурою на 2тАФ3 порядки менший, тобто 106тАФ108 м2/с.
Особливостi витягу бiологiчно активних речовин iз матерiалiв з клiтинною структурою пов'язанi з тим, що на шляху до речовини, яка мiститься в клiтинi, знаходиться клiтинна стiнка, фiзiологiчний стан якоi змiнюiться. Так, жива рослинна клiтина маi пристiнний шар протоплазми вiдповiдноi товщини. Вiн позначаiться на властивостях клiтинноi стiнки як перегородки, що вiдокремлюi розчин усерединi клiтини (клiтинний сiк) вiд рiдини поза клiтиною.
Доки протоплазма жива, клiтинна стiнка залишаiться напiв-прозорою перегородкою, яка не пропускаi речовини, розчиненi в клiтинному соковi. У цьому разi можливе лише проникнення екстрагента у клiтину за рахунок явища осмосу.
Зовсiм iнакше поводиться висушена клiтина. Внаслiдок загибелi протоплазми (плазмолiзу) клiтинна стiнка втрачаi характер напiвпрозороi перегородки i починаi пропускати речовини в обидвi сторони (явище дiалiзу). Тобто клiтинна стiнка набуваi властивостi пористоi перегородки, крiзь яку можуть дифундувати бiологiчно активнi речовини, молекули яких не перевищують розмiру пор.
Переважну бiльшiсть екстракцiйних препаратiв одержують iз висушеноi рослинноi сировини, тобто зневодненоi природним або тепловим висушуванням. У разi одержання препаратiв зi свiжих рослин клiтини умертвляють етиловим спиртом. Вiн дуже гiгроскопiчний i при зiткненнi з рослинною клiтиною зневоднюi ii, викликаючи найсильнiший плазмолiз. Умертвiння клiтин сировини тваринного походження досягаiться тими ж способами: висушуванням або зневоднюванням за допомогою спирту чи ацетону.
При одержаннi препаратiв зi свiжоi сировини, клiтини якоi не зневодненi, очевидно, маi мiсце вимивання клiтинного соку iз зруйнованих клiтин, а не процес екстрагування.
1.3 Стадii процесу екстрагування i iх кiлькiснi характеристики
У процесi екстрагування вiдбуваiться масопередача, тобто перехiд однiеi або кiлькох речовин з однiеi фази (сировини) в iншу (екстрагент). Масопередача iз сировини з клiтинною структурою тАФ складний процес, в якому можна видiлити три стадii:
Влвнутрiшню дифузiюВ», що включаi всi явища перенесення
речовин усерединi частинок сировини;
перенесення речовини в межах безпосередньо дифузiйного
пограничного шару;
перенесення речовини рухомим екстрагентом (конвективна дифузiя).
Екстрагування iз зневодненоi сировини з клiтинною структурою починаiться проникненням екстрагента в матерiал, змочуванням речовин, що знаходяться усерединi клiтини, розчиненням iх та десорбцiею. Далi вiдбуваiться молекулярне перенесення розчинених речовин тАФ спочатку в екстрагент, що знаходиться в мiжклiтинному просторi, потiм в екстрагент, який заповнюi мiкро- i макротрiщини, i, нарештi, на поверхню шматочкiв матерiалу.
Зобразимо схематично (рис. 1) частинку матерiалу, яка знаходиться в екстрагентi, i позначимо середню концентрацiю речовин, що екстрагуються всерединi частинки, як С1 а на ii поверхнi тАФ С2.

Рис. 1. Частинка сировини в екстрагентi
Тодi кiлькiсть речовини, що продифундувала iз внутрiшнiх структур частинки на поверхню (перша стадiя), буде пропорцiйна коiфiцiентовi внутрiшньоi дифузii, поверхнi частинки матерiалу, часовi, рiзницi концентрацii всерединi частинки та на ii поверхнi, обернено пропорцiйна розмiровi частинок рослинноi сировини.
На другiй стадii починаiться дифузiя речовин вiд поверхнi частинки (концентрацiя С2) до зовнiшньоi поверхнi дифузiйного пограничного шару (концентрацiя С3). Зараз уже загальновизнане iснування на поверхнi шматочкiв сировини пристiнного шару, екстрагента, названого дифузiйним пограничним шаром. Цей шар чинить великий опiр подальшому перенесенню екстрагованих речовин у екстрагент. Товщина його залежить вiд гiдродинамiки процесу, передусiм вiд швидкостi перемiшування екстрагента. Чим бiльша швидкiсть перемiшування, тим тонший пограничний шар. У межах дифузiйного пограничного шару перенесення речовин здiйснюiться за законом вiльноi дифузii i може бути виражене у виглядi першого закону Фiка.
На третiй стадii процесу екстрагування перенесення дiючих речовин триваi завдяки руху екстрагента (конвективна дифузiя).
Звичайно коiфiцiент конвективноi дифузii Р у багато разiв бiльший за коiфiцiент молекулярноi дифузii Б.
Аналiз процесiв екстракцii засвiдчуi, що процес екстрагування залежить вiд багатьох чинникiв, найважливiшi з яких: гiдродинамiчнi умови, поверхня роздiлення фаз, рiзниця концентрацiй, тривалiсть процесу, в'язкiсть екстрагента, температура. Крiм того, на повноту витягу та швидкiсть впливають: додавання поверхнево-активних речовин, характер завантаження сировини, вибiр екстрагента, пористiсть i порознiсть сировини, коiфiцiент вимивання, вплив вiбрацiй, пульсацiй, електроiмпульсний розряд у рiдкому середовищi, здрiбнення i деформацiя сировини в екстрагентi. Розглянемо вплив кожного iз цих чинникiв.
1.4 Основнi чинники впливу на повноту i швидкiсть екстрагування
Гiдродинамiчнi умови. Коiфiцiент масопередачi К визначають, включаючи коiфiцiенти всiх видiв дифузii. Вiн може змiнюватися залежно вiд гiдродинамiчних умов процесу. Так, за вiдсутностi конвекцii, тобто без перемiшування, коiфiцiент конвективноi дифузii Р дорiвнюi нулю, а товщина дифузiйного шару стаi рiвною товщинi всього шару екстрагента. Отже, третя стадiя екстрагування вiдпадаi, а коiфiцiент масопередачi визначаiться тiльки внутрiшньою дифузiею в сировину i вiльною молекулярною дифузiею в нерухомiй рiдинi.
Таке явище спостерiгаiться при мацерацii (настоюваннi) без перемiшування. Цей спосiб екстрагування найбiльш тривалий.
Якщо екстрагент перемiщуiться iз незначною швидкiстю, коiфiцiент масопередачi визначаiться кiлькiсними характеристиками всiх трьох стадiй процесу. Швидкiсть цього способу екстракцii вища, адже зменшуiться шар не-рухомоi рiдини, з'являються конвекцiйнi потоки, якi сприяють перенесенню речовини. Такий режим екстрагування характерний для мацерацii з перемiшуванням, перколяцii, швидкоплинноi реперколяцii, безперервноi протитечiйноi екстракцii тощо.
I нарештi, при дуже iнтенсивному перемiшуваннi можуть не вiдбуватися друга й третя стадii дифузiйного процесу. Тодi коiфiцiент конвективноi дифузii зростаi до нескiнченностi, тобто конвективне масоперенесення здiйснюiться миттево. Водночас стаi рiвною нулю i товщина пограничного дифузiйного шару. Коiфiцiент масопередачi в таких випадках визначаiться тiльки коiфiцiентом дифузii в порах рослинного матерiалу.
Такий вид залежностi для коiфiцiента масопередачi прийнятний для вихровоi екстракцii та екстрагування iз застосуванням роторно-пульсацiйного апарата.
Другий i третiй складники можуть бути вiдсутнiми, але наявнiсть першого невiдтАЩiмна вiд процесу екстракцii iз сировини з клiтинною структурою.
Останнiм часом запропоновано екстрагування iз застосуванням ультразвуку, за допомогою електричних зарядiв з використанням електроплазмолiзу та електродiалiзу. У таких випадках з'являiться можливiсть впливати на коiфiцiент внутрiшньоi дифузii, що дозволяi значно прискорити процес екстрагування на найбiльш повiльнiй стадii.
Поверхня роздiлення фаз Влтверда лiкарська сировина тАФ рiдинаВ» залежить вiд ступеня здрiбнення сировини i буде тим бiльшою, чим меншi розмiри частинок. Однак з практики вiдомо, що при надмiрному здрiбненнi сировина може злежуватись, а вмiст слизистих речовин призводить до ослизнення, внаслiдок чого крiзь такi маси екстрагент проходитиме дуже погано. При надто тонкому здрiбненнi рiзко збiльшуiться кiлькiсть розiрваних клiтин, що стаi причиною вимивання супутнiх речовин, якi забруднюють витяжки (бiлки, слизи, пектини та iншi високомолекулярнi сполуки). У результатi витяжки одержують каламутнi, iх важко освiтлювати i фiльтрувати. 3 цього випливаi, що сировину слiд подрiбнювати до оптимальних розмiрiв: листя, квiти, трави до 3тАФ5 мм; стебла, коренi, кору до 1тАФ3 мм, плоди й насiння до 0,3тАФ0,5 мм. При цьому у вихiдному матерiалi зберiгатимiться клiтинна структура i переважатимуть дифузiйнi процеси, екстрагування сповiльниться, але отриману витяжку легше буде очищати вiд механiчних домiшок.
Рiзниця концентрацiй у сировинi та екстрагентi i рушiйною силою процесу екстракцii. Пiд час екстракцii необхiдно прагнути до максимального перепаду концентрацiй, що досягаiться частою змiною екстрагента (ремацерацiя замiсть мацерацii), проведенням протитечiйного процесу та iн.
Час (тривалiсть) екстрагування. 3 основного рiвняння масопередачi випливаi, що кiлькiсть речовини, продифундованоi крiзь умовний шар, прямо пропорцiйна часовi екстракцii. Однак потрiбно досягати максимальноi повноти витягу в найкоротший термiн, максимально скориставшись усiма можливостями iнтенсифiкацii процесу.
Надмiрна тривалiсть процесу екстрагування призводить до забруднення витяжок супутнiми високомолекулярними сполуками, швидкiсть дифузii яких значно менша, нiж у бiологiчно активних речовин. При тривалому екстрагуваннi пiд впливом ферментiв можуть з'являтися небажанi процеси. Загальна тривалiсть екстракцii найчастiше змiнюiться з економiчних мiркувань. Буваi доцiльно припинити процес у певний момент, бо додатково витягнутi кiлькостi речовин не окуплять надлишкових витрат цiнних екстрагентiв (спирту, ефiру).
В'язкiсть екстрагента. За законом Фiка кiлькiсть розчиненоi речовини, продифундованоi крiзь шар екстрагента, обернено пропорцiйна в'язкостi цього екстрагента при данiй температурi. Отже, менш в'язкi розчини мають бiльшу дифузiйну здатнiсть. Для зменшення в'язкостi при екстрагуваннi рослинними олiями вдаються до нагрiвання.
Перспективними в цьому вiдношеннi i зрiдженi гази: карбону дiоксид СО2, пропан, бутан, рiдкий амонiак та iн. Найбiльш часто використовують зрiджений карбону дiоксид, що хiмiчно iндиферентний до значноi кiлькостi дiючих речовин. Його в'язкiсть у 14 разiв менша за в'язкiсть води i в 5 тАФ за в'язкiсть етанолу. Зрiджений карбону дiоксид добре витягаi ефiрнi масла та iншi гiдрофобнi речовини. Гiдрофiльнi речовини добре екстрагуються зрiдженими газами з високою дiелектричною проникнiстю (амонiаком, метилхлоридом, метиленоксидом та iн.).
Температура. Пiдвищення температури прискорюi процес екстрагування, але в умовах фiтохiмiчних виробництв нагрiвання можливе тiльки для водних витяжок. Спиртова, а тим бiльше ефiрна екстракцiя проводиться при кiмнатнiй (або навiть нижчiй) температурi, оскiльки з ii пiдвищенням зростають втрати екстрагентiв, а отже шкiдливiсть i небезпека роботи з ними.
Як було зазначено вище, екстрагування рослинними олiями вiдбуваiться з нагрiванням. Але для термолабiльних речовин застосування пiдiгрiтого екстрагента припустиме лише протягом короткого часу. Шдвищення температури екстрагента небажане для ефiромасляноi сировини, оскiльки при нагрiваннi неминучi значнi втрати. Необхiдно враховувати, що при використаннi гарячоi води вiдбуваiться полiмеризацiя крохмалю, пептизацiя речовин; витяжки в цьому разi стають слизуватими, i подальша робота з ними значно утруднюiться. Шдвищення температури доцiльне при екстрагуваннi з коренiв, кореневищ, кори та шкiрястого листя. Тодi гаряча вода сприяi кращому вiддiленню тканин i розриву клiтинних стiнок, прискорюючи тим самим перебiг дифузiйного процесу.
Додавання поверхнево-активних речовин (ПАР). Експериментально встановлено, що додавання невеликих кiлькостей ПАР (0,01тАФ0,1 %) полiпшуi процес екстрагування. При цьому збiльшуiться вихiд екстрагованих речовин: алкалоiдiв, глiкозидiв, ефiрних масел тощо, а в деяких випадках повнота витягу досягаiться при меншому обтАЩiмi екстрагента. Добавки ПАР знижують поверхневий натяг на межi роздiлення фаз, полiпшуючи змочуванiсть вмiсту клiтини i полегшуючи проникнення екстрагента. Крiм того, iстотну роль вiдiграi солюбiлiзувальна здатнiсть ПАР.
Вибiр екстрагента. Для забезпечення повноти витягу дiючих речовин i максимальноi швидкостi екстрагування до екстрагента висувають такi вимоги: селективнiсть (вибiркова розчиннiсть); хiмiчна i фармацевтична iндиферентнiсть; мала токсичнiсть; доступнiсть.
Вибiр екстрагента визначаiться ступенем гiдрофiльностi речовин. Для екстрагування полярних речовин iз високим значенням дiелектричноi сталоi використовують полярнi розчинники: воду, метанол, глiцерин; для неполярних тАФ кислоту оцтову, хлороформ, етер етиловий та iншi органiчнi розчинники. Найчастiше як екс-трагент застосовують етанол тАФ малополярний розчинник, який при змiшуваннi з водою утворюi сумiшi рiзного ступеня полярностi, що дозволяi використовувати його для вибiркового екстрагування рiзних бiологiчно активних речовин. Крiм етанолу, з мало-полярних розчинникiв застосовують ацетон, пропанол, бутанол.
Пористiсть i порознiсть сировини. Пористiсть сировини тАФ це розмiр порожнин усерединi рослинноi тканини. Чим вона вища, тим бiльше утворюiться внутрiшнього соку при набуханнi. Порознiсть тАФ це розмiр порожнин мiж шматочками здрiбненого матерiалу. Вiд розмiрiв пористостi й порозностi залежать швидкiсть змочування i набухання матерiалу. Швидкiсть набухання зростаi при попередньому вакуумуваннi сировини, а також при пiдвищеннi тиску i температури.
Пористiсть i порознiсть сировини обумовлюють ii поглинальну здатнiсть, що характеризуiться коiфiцiентом поглинання сировини.
Поглинальна здатнiсть сировини перебуваi в прямiй залежностi вiд ступеня ii здрiбнення.
Коiфiцiент вимивання характеризуi ступiнь руйнування клiтин у здрiбненiй сировинi. Якщо вiн низький, це означаi, що в сировинi мало зруйнованих клiтин, екстрагування йде повiльно i обумовлюiться швидкiстю молекулярноi дифузii. За розмiр коiфiцiента вимивання прийнято брати кiлькiсть речовини у витяжцi, отриманоi з певноi наважки сировини, при певному спiввiдношеннi (сировина-екстрагент) в результатi екстрагування сировини протягом однiеi години при певнiй швидкостi перемiшування.
Вплив вiбрацii, пульсацii, здрiбнення i деформацii сировини в середовищi екстрагента. Використання методiв екстрагування, в яких мають мiсце вiбрацiя, пульсацiя, здрiбнення i деформацiя в середовищi екстрагента, дозволяi значно збiльшити швидкiсть i повноту екстрагування iз сировини. Пояснюiться це тим, що:
3 появою турбулентного перемiшування як усерединi, так i назовнi клiтин молекулярно-кiнетичний рух змiнюiться на конвективний, що дозволяi пiдтримувати рiзницю концентрацiй у зонi зiткнення фаз на високому рiвнi.
Вплив електроiмпульсних розрядiв. При екстрагуваннi БАР за допомогою електричних розрядiв процес прискорюiться, тому що завдяки iскровому розрядовi в сировинi вiдбуваiться мiкровибух, який розриваi клiтиннi структури матерiалу. Процес витягу вiдбуваiться швидше внаслiдок вимивання екстрактивних речовин та пульсацii, що так само позначаiться на швидкостi руху екстрагента. Виникаючi в рiдинi коливання скорочують час екстрагування i збiльшують вихiд бiологiчно активних речовин.
Екстрагент у процесi екстракцii БАР вiдiграi особливо важливу роль. Вiн маi здатнiсть проникати крiзь стiнки клiтини, вибiрково розчиняти бiологiчно активнi речовини i виходити за межi рослинного матерiалу. Тому до екстрагентiв висувають конкретнi вимоги, обумовленi специфiчними особливостями фармацевтичного виробництва. Отже, екстрагент повинен:
максимально розчиняти лiкарськi речовини i мiнiмально тАФ баластнi речовини;
проникати у пори матерiалу i крiзь стiнки клiтин, забезпечувати високу змочувальну здатнiсть;
перешкоджати розвитковi у витяжцi мiкрофлори;
мати низьку температуру кипiння, легко регенеруватися;
бути мiнiмально токсичним i вогнебезпечним;
бути доступним за вартiстю.
РЖз двох рiвноцiнних екстрагентiв обирають безпечнiший, доступний за цiною, фармакологiчно не шкiдливий i т. д. Якщо екстрагент не задовольняi зазначенi вимоги, то використовують сумiшi, наприклад пiдкислену воду, спирт iз водою, ефiр зi спир-том тощо.
Одним з найбiльш прийнятних екстрагентiв i вода, яка маi ряд переваг, а саме:
добре проникаi крiзь клiтиннi оболонки, непроникнi для гiдрофобних речовин;
розчиняi i витягаi речовини краще за iншi рiдини;
фармакологiчно iндиферентна;
дуже розповсюджена;
негорюча i вибухобезпечна;
доступна за вартiстю.
Однак як екстрагент маi ряд негативних сторiн, наприклад:
не розчиняi i не витягаi гiдрофобнi речовини;
не маi антисептичних властивостей, внаслiдок чого у водних витяжках можуть розвитися мiкроорганiзми;
за рахунок води вiдбуваiться гiдролiтичне розщеплення багатьох речовин, особливо при високiй температурi;
у водному середовищi ферменти можуть розщеплювати лiкарськi речовини.
Етиловий спирт С2Н5ОН теж дуже часто використовуiться як екстрагент.
Якiсть спирту-ректифiкату регламентуiться ДФ X i ГОСТом 5962-51.
Спирт як екстрагент:
i розчинником багатьох сполук, що не витягаються водою, наприклад жирiв, алкалоiдiв, хлорофiлу, глiкозидiв, ефiрних масел, смол та iн.;
маi антисептичнi властивостi (у спирто-водних розчинах з концентрацiею понад 20 % не розвиваються мiкроорганiзми та цвiль);
чим мiцнiший спирт, тим менш можливi в його середовищах гiдролiтичнi процеси. Спирт iнактивуi ферменти;
достатньо леткий, тому спиртовi витяжки легко згущуються i висушуються до порошкоподiбних речовин. Для зберiгання термолабiльних речовин випарювання й сушiння проводять пiд вакуумом;
i лiмiтованим продуктом, вiдпускаiться фармацевтичним виробництвом за встановленим порядком;
значно важчий нiж вода, проникаi крiзь стiнки клiтин, вiднiмаючи воду в бiлкiв та слизуватих речовин, перетворюючи iх на осади, що закупорюють пори клiтин, а вiдтак погiршуi дифузiю.
Чим нижча концентрацiя спирту, тим легше вiн проникаi всередину клiтин;
фармакологiчно неiндиферентний; проявляi як мiсцеву, так i загальну дiю, що необхiдно враховувати при виробництвi витягiв вогненебезпечний.
Отже, спирт як екстрагент маi ширший дiапазон витягу БАР порiвняно з водою, причому його екстрагуюча здатнiсть залежить вiд концентрацii. При екстрагуваннi етанолом з концентрацiею не менше 70 % одержують витяжки, вiльнi вiд бiополiмерiв (бiлкiв, слизу, пектинiв).
Ацетон СН3СОСН3. Безбарвна рiдина з характерним запахом. Вiдносна густина 0,798. Температура кипiння 56,2 В°С. 3 водою та органiчними розчинниками змiшуiться в будь-яких спiввiдношеннях. Застосовузться як екстрагент для алкалоiдiв, смол, олiй таiн.
Етиловий етер СН5ОС2Н5. Безбарвна, легкорухлива летка рi-дина, маi температуру кипiння вiд 34 до 36 В°С. Розчиняiться в 12 частинах води, змiшуiться у всiх спiввiдношеннях з ацетоном, спиртом, петролейним етером, жирними олiями та ефiрними маслами. Густина 0,714 (при 20 В°С). Пари етилового етеру мають велику густину (2,56 вiдносно повiтря), вони стеляться по пiдлозi, отруйнi, можуть перемiщуватися i накопичуватися далеко вiд джерела випаровування. При зiткненнi з вогнем або гарячими предметами може статися вибух великоi сили (температура займання етеру 40 В°С). Тому при роботi з етиловим етером необхiдно дотримуватися особливих заходiв безпеки, а це обмежуi його застосування як екстрагента. Етилацетат у сумiшi з етанолом у спiввiдношеннi 9: 1 використовують при рiдиннiй екстракцii флавоноiдiв у виробництвi фламiну.
Хлороформ СНС13. Безбарвна, прозора, легколетка рiдина, що змiшуiться у всiх спiввiдношеннях зi спиртом, ефiром, бензином, з багатьма жирними олiями та ефiрними маслами, у водi розчинна (1:200) i не змiшуiться з глiцерином. Густина 1,52, кипить при 59,5тАФ62 В°С. Пари хлороформу отруйнi, але не горючi, вибухобезпечнi.
РД гарним розчинником для багатьох лiкарських речовин: алкалоiдiв, глiкозидiв, масел, олiй тощо.
Дихлоретан СЮН2СН2С1. Безбарвна, прозора рiдина, що не змiшуiться з водою. Запахом нагадуi хлороформ. Густина 1,252тАФ 1,235. Температура кипiння 83,0тАФ84,0 В°С. Змiшуiться зi спиртом i ефiром, жирами, мiнеральними маслами, смолами. Дихлоретан маловогненебезпечний (температура займання 21,1 В°С). При вдиханнi його парiв можливе отруiння. Дихлоретан у сумiшi з хлороформом (при густинi 1,315) застосовуiться для екстрагування глiкозидiв.
Хлористий метилен СН2С12. Екстрагент з вiдносно високою густиною тАФ 3,33 i температурою кипiння тАФ 41 В°С. Застосовуiться для екстрагування гiдрофобних речовин (глiкозидiв, алкалоiдiв та iн.).
Метанол, метиловий, або деревний спирт СН3ОН, виробляiться синтетичний. Прозора, безбарвна рiдина зi слабким запахом, що нагадуi етиловий спирт. Змiшуiться з водою в усiх спiввiдношеннях, утворюючи прозорi розчини без слiдiв покаламутнiння та опалесценцii. Густина не бiльше 0,793. Температура кипiння 64 тАФ 67 В°С. Сильна отрута. Вживання всередину 10 мл речовини викликаi атрофiю зорового нерва, дози 15тАФ20 мл смертельнi. До роботи з метиловим спиртом працiвники допускаються лише пiсля спецiального iнструктажу. Зберiгають його в опломбова-нiй тарi. Застосовують при екстрагуваннi кумаринiв. Для роздiлення сумiшi глiкозидiв використовують сумiш метанолу i води (густина 0,9464).
Олii рослиннi. Використовують олii рослиннi холодного пресування, добре вiдстоянi; жовтого кольору. Найчастiше застосовують персикову, мигдалеву i соняшникову олii. Жирнi олii змiшуються з ефiром, хлороформом, бензином, ефiрними та мiнеральними маслами. Усi олii, крiм рициновоi, не змiшуються зi спиртом i водою. Гiркнуть, а це тягне за собою пiдвищення кислотного числа. Жирнi олii мають вибiркову здатнiсть як екстрагенти.
Зрiдженi гази. Перспективними для екстрагування i запропонованi останнiм часом зрiдженi гази: карбону дiоксид, пропан, бутан, рiдкий амонiак, хладони (хлорофторопохiднi вуглеводнiв) та iн. Зрiджений карбону дiоксид добре витягаi ефiрнi масла, жирнi олii та iншi гiдрофобнi речовини. Гiдрофiльнi речовини добре екстрагуються зрiдженими газами з високою дiелектричною проникнiстю (амонiак, метилхлорид, метиленоксид та iн.)
Дослiдженнями, проведеними в ДНЦЛЗ, доведено, що найбiльш селективним розчинником вiдносно ефiрних масел i хладон-С318 (ц-С4Г8), який практично не витягуi жирнi олii. Хладон-11 (СС13Г), хладон-12 (СС12Г2) i хладон-22 (СНС1Г2) витягають ефiрнi масла й жирнi олii, каротиноiди, терпеноiди та iншi природнi речовини.
Екстрагування зрiдженими газами проводиться пiд тиском, пiсля зняття якого екстрагент звiтрюiться, а екстрактивнi речовини залишаються в чистому виглядi.
Глава 2. Настойки
2.1 Визначення настойок
Настойки тАФ це рiдкi спиртовi або водно-спиртовi витяжки, одержанi з висушеноi або свiжоi рослинноi чи тваринноi сировини без нагрiвання i усунення екстрагента.
При виготовленнi настойок з однiеi масовоi частини рослинноi сировини одержують 5 обтАЩiмних частин готового продукту, iз сильнодiючоi сировини тАФ 10 частин. В окремих випадках настойки готують в iнших спiввiдношеннях iз сировини, що не мiстить сильно-дiючих речовин (настойки арнiки, календули, глоду, м'яти, софори).
Настойки можуть бути простими, тобто з одного виду сировини, i складними (сумiш витяжок iз декiлькох рослин, iнодi з додаванням лiкарських речовин).
2.2 Способи одержання настойок
Настойки одержують розчиненням густих i сухих екстрактiв, але в промислових умовах найчастiше тАФ екстракцiй-ними методами:
мацерацiею та ii рiзновидами;
перколяцiею.
МАЦЕРАЦРЖЯ
Ранiше метод мацерацii (вiд лат. тасегаiiо тАФ вимочування), або настоювання, був дуже поширеним. Тепер його застосування поступово скорочуiться, тому що при екстрагуваннi цим методом важко досягти повноти витягу лiкарських речовин iз рослинного матерiалу.
При одержаннi настойок мацерацiею здрiбнену сировину iз запропонованою кiлькiстю екстрагента завантажують у мацера-цiйний бак i настоюють при температурi 15тАФ20 В°С, перiодично перемiшуючи. Якщо немаi спецiальних указiвок, то настоювання триваi протягом 7 дiб. Пiсля цього витяжку зливають, залишок вiджимають, вiджату сировину промивають невеликою кiлькiстю екстрагента, знову вiджимають, вiджату витяжку додають до вже злитоi i потiм обтАЩiднану витяжку доводять екстрагентом до необхiдного обтАЩiму.
Цей метод малоiфективний, повiльний, сировина не до кiнця виснажуiться. 3 метою iнтенсифiкацii екстрагування матерiалу процес проводять iз застосуванням дробноi мацерацii (ремацерацii), мацерацii з примусовою циркуляцiею екстрагента, вихровоi екстракцii (турбоiкстракцii), ультразвуку та iн.
Ремацерацiя, або дробна мацерацiя з роздiленням на частини екстрагента (або сировини i екстрагента). Загальну кiлькiсть екстрагента дiлять на 3тАФ4 частини i послiдовно настоюють сировину з першою частиною екстрагента, потiм з другою, третьою i четвертою, щоразу зливаючи витяжку. Час настоювання залежить вiд властивостей рослинного матерiалу. Таке проведення екстрагування дозволяi при менших витратах часу повнiше виснажувати сировину, адже постiйно пiдтримуiться висока рiзниця концентрацiй у сировинi та екстрагентi.
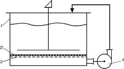
Мацерацiя з примусовою ииркуляцiiю екстрагента. Проводиться в мацерацiйному баку 1 (рис. 2) iз перфорованим дном 3, на який укладено фiльтрувальний матерiал 2. Екстрагент, вiддiлений вiд сировини перфорованим дном, за допомогою насоса 4 прокачуiться крiзь сировину до досягнення рiвноважноi концентрацii. При цьому час настоювання скорочуiться в кiлька разiв. 3 примусовою циркуляцiею екстрагента проводять також дробну мацерацiю. Таким чином досягаiться бiльш повне виснаження сировини при таких же витратах екстрагента.

Рис. 2. Мацерацiйний бак iз циркуляцiiю екстрагента
Вихрова екстракцiя, або турбоiкстракцiя, ТСрунтуiться на вихровому, дуже iнтенсивному перемiшуваннi сировини i екстрагента при одночасному здрiбнюваннi сировини. Турбiнна мiшалка обертаiться iз швидкiстю 8000тАФ13 000 об/хв. Час екстракцii скорочуiться до 10 хв. Одержанi настойки тАФ стандартнi.
Ультразвукова екстракцiя. Для iнтенсифiкацii мацерацiйного процесу ефективне застосування ультразвукових коливань. При цьому прискорюiться екстрагування i досягаiться повнота витягу дiючих речовин. Джерело ультразвуку крiплять до корпусу мацерацiйного бака в мiсцi, заповненому екстрагентом i сировиною. Найбiльший ефект вiд впливу ультразвуку виявляiться тодi, коли клiтина матерiалу, що екстрагуiться, добре насичена екстрагентом, який проводить ультразвук. Ультразвуковi хвилi, що виникають, створюють знакоперемiнний тиск, кавiтацiю i Влзвуковий вiтерВ». Унаслiдок цього прискорюiться просочуванiсть матерiалу i розчинення вмiсту клiтини, збiльшуiться швидкiсть обтiкання частинок сировини, у пограничному дифузiйному шарi екстрагента виникають турбулентнi i вихровi потоки. Молекулярна дифузiя в клiтинах матерiалу та в дифузiйному шарi змiнюiться на конвективну, що приводить до iнтенсифiкацii масообмiну. Виникнення кавiтацii викликаi руйнування клiтин. При цьому екстрагування прискорюiться через вимивання екстрактивних речовин iз зруйнованих клiтин i тканини. При озвучуваннi витяжку можна одержати за декiлька хвилин.
До iнших видiв динамiзацii мацерацii належать: подрiбнення сировини в середовищi екстрагента, наприклад у кульовому млинi; ремацерацiя, яка супроводжуiться пресуванням на гiдравлiчних пресах або вальцях. В останньому випадку процес повторюiться до досягнення рiвноважних концентрацiй, що дозволяi скоротити втрати дiючих речовин i екстрагента, тому що в шротi залишаiться незначний обтАЩiм витяжки. У готовiй настойцi мiститься висока кiлькiсть екстрактивних речовин.
ПЕРКОЛЯЦРЖЯ

Рис. 3. Перколятори-екстрактори
Перколяцiя (вiд лат. регсоiаiiо тАФ процiджування крiзь..), тобто процiджування екстрагента крiзь рослинний матерiал з метою одержання витяжки розчинних у екстрагентi речовин. Процес проводиться в емкостях рiзноi конструкцii, названих перколяторами-екстракторами (рис. 3). Вони можуть бути цилiндричноi а, в або конiчноi б форми, iз паровою оболонкою в або без неi, що перекидаються i саморозвантажуються, виготовленi з нержавiючоi сталi, алюмiнiю, лудженоi мiдi та iнших матерiалiв. У нижнiй частинi перколятора i перфорована сiтка 2, на якiй розташовують фiльтрувальний матерiал 1 (мiшковину, полотно та iнше), i завантажують сировину. Цилiндричнi перколятори зручнi в роботi при вивантаженнi сировини, конiчнi тАФ забезпечують бiльш рiвномiрне екстрагування.
Метод перколяцii включаi три стадii, якi послiдовно проходять одна за одною: замочування сировини (набухання сировини), настоювання, власне перколяцiя.
Замочування (набухання) проводиться поза перколятором. Частiше для цього використовують мацерацiйнi баки
Вместе с этим смотрят:
РЖсторiя виникнення та розвитку масажу
Азотные и кислородные ванны, нафталановая нефть
Акушерська операцiя - накладання акушерських щипцiв