Виробництво лiкарських препаратiв, що знаходяться пiд тиском
ВСТУП
Аерозолi являють собою аеродисперснi системи з газоподiбним дисперсiйним середовищем i вiльними твердими чи рiдкими частками дисперсноi фази. Класичними прикладами аерозолей служать туман, дим, пил.
З древнiх часiв аерозолi використовувалися в медицинi у видi iнгаляцiй для профiлактики i лiкування захворювань дихальних шляхiв. Спочатку вони мали вид звичайних пар i диму, що утворяться при спалюваннi рiзних лiкарських рослинних матерiалiв. Потiм стали застосовуватися iнгаляцii природних летучих речовин. У серединi XIX столiття для одержання аерозолей почали використовувати диспергуючi агенти: стиснене повiтря, водяна пара, а згодом центрифугування й ультразвук.
Термiн ВлаерозольВ» вiдноситься до всiх аеродисперсних систем незалежно вiд розмiру часток дисперсноi фази. У медичнiй практицi знаходять застосування не тiльки високодисперснi аерозолi (0,1тАФ0,5 мкм), але i низько (25тАФ100 мкм) i грубо- дисперснi (250тАФ400 мкм).
Хiмiчний термiн ВлаерозольВ» iнодi неправильно використовуiться для позначення спецiального виду упакування, у якiй знаходиться стиснутий i зрiджений газ, використовуваний для викидання (витиснення, евакуацii) продукту, що мiститься в цьому упакуваннi.
З фармацевтичноi точки зору ВлаерозольВ» являi собою форму випуску готового лiкарського засобу, коли одна чи кiлька лiкарських речовин у розчиненому, суспенованому чи емульгованому станi мiститься у виштовхуючему газi, у спецiальному балонi, закритому клапано-розпилюючим пристроiм.
Першi зведення про застосування скляних i металевих посудин iз клапанами, наповнених зрiдженим газом (метил- чи етилхлоридом), вiдносяться до 1889 р.
Лiкарськi засоби в аерозольному упакуваннi зручнi в застосуваннi, портативнi, компактнi. Упакування охороняi лiкарську речовину вiд дii вологи, що руйнуi, свiтла i кисню повiтря, виключаi забруднення препарату i механiчне роздратування при нанесення на уражену дiлянку шкiри, дозволяi довгостроково зберiгати його.
Промислове виробництво аерозолей почате пiсля другоi свiтовоi вiйни в США, у нашiй краiнi органiзоване в 1960 р. на дослiдному заводi ХНРЖХФРЖ випуском ВлРЖнгалiптаВ».
В даний час аеродисперснi системи з лiкарськими речовинами широко застосовують не тiльки для лiкування органiв подиху, але i для нанесення лiкувального складу на шкiру, слизуватi оболонки, рани, опiки.
РОЗДРЖЛ 1. ХАРАКТЕРИСТИКА ЛРЖКАРСЬКИХ ЗАСОБРЖВ, ЩО ЗНАХОДЯТЬСЯ ПРЖД ТИСКОМ
1.1 РЖСТОРРЖЯ СТВОРЕННЯ АЕРОЗОЛЕЙ
Лiкарськi засоби, що знаходяться пiд тиском - це лiкарськi засоби в спецiальних контейнерах пiд тиском газу, що мiстять одну або бiльше дiючих речовин i являють собою розчини, емульсii або суспензii, призначенi для мiсцевого нанесення на шкiру, слизовi оболонки або для iнгаляцiй. При натискуваннi на клапан вони виходять з контейнера у виглядi аерозолю (дисперсii твердих або рiдких частинок у газi, розмiр яких залежить вiд призначення), рiдини або м'якоi пiни.
Перше застосування контейнерiв пiд тиском вiдноситься до кiнця XVII столiття, коли в продажу почали з'являтися газованi сумiшi. Росiйський хiмiк М. С. Цвiт (1872тАФ1919) користувався власним пристроiм для отримання аерозольного струменя. Першi патенти на пристроi для одержання аерозолю були виданi в Норвегii i США тАФ автори запропонували застосовувати хлорометил i хлоретил у металевих або скляних контейнерах. У 1933тАФ1934 роках у США були виданi патенти на застосування галоiдних вуглеводнiв у вогнегасниках.
Однак справжнiй розвиток виробництва лiкарських засобiв, що знаходяться пiд тиском, вiдноситься до 1941 року, коли пiд час Другоi свiтовоi вiйни американцi запатентували контейнери пiд тиском, так званi Влбог-бомбВ», якi мiстили сумiшi фтороводнiв, хлороводнiв i iнсектицидiв. З цього часу почався бурхливий рiст аерозольноi промисловостi.
Останнiм часом в усiх галузях виробництва застосовуiться принцип упаковки сумiшей пiд тиском для розпилення рiдин, порошкiв, пiн, паст, кремiв та iн. Значну частку серед них займають препарати санiтарно-гiгiiнiчного призначення: шампунi, засоби для знищення комах у побутi, репеленти, дезодоранти, косметичнi засоби, ветеринарнi препарати.
У нашiй краiнi аерозолi, що входять в асортимент побутовоi хiмii, почали випускатися з 1959 року. Промислове виробництво лiкарських засобiв, що знаходяться пiд тиском, уперше було органiзовано в Украiнi на дослiдному заводi ДНЦЛЗ. У 1969 роцi була випущена перша промислова партiя препарату ВлРЖнгалiптВ». Наступними роками виробництво лiкарських засобiв, що знаходяться пiд тиском, було освоiно на заводах ВлСтомаВ» i на фiрмi ВлЗдоров'яВ» (м. Харкiв). Основним розробником цiii групи препаратiв стала лабораторiя медичних аерозолiв ДНЦЛЗ (засновник тАФ професор Г.С. Башура). Тут було розроблено майже 20 препаратiв (лiвiан, каметон, камфомен, гiпозоль та iншi) i закладенi основи подальшого iх створення.
Термiн ВлаерозольВ» належить до всiх аеродисперсних систем, якщо iх розглядати з погляду фiзичноi хiмii. З медичноi точки зору тАФ це спосiб застосування лiкiв, дiя яких виявляiться в диспергованому станi.
Широка популярнiсть застосування лiкарських засобiв, що знаходяться пiд тиском, у медичнiй практицi визначаiться насамперед iх високою терапевтичною ефективнiстю, зручнiстю застосування та економiчнiстю.
1.2 ПЕРЕВАГИ ТА НЕДОЛРЖКИ АЕРОЗОЛЕЙ
Переваги лiкарських засобiв, що знаходяться пiд тиском:
1. Для iх застосування характерна зручнiсть, естетичнiсть, гiгiiнiчнiсть, швидкiсть i ефективнiсть лiкування.
2. Наявнiсть високоi ефективностi дii при порiвняно малих витратах лiкарських речовин.
3. Забезпечення точного дозування лiкiв при використаннi дозувальних пристроiв.
4. Лiкарськi засоби для iнгаляцii дають швидкий терапевтичний ефект.
5. Аерозольний контейнер герметично закритий, що виключаi забруднення лiкарського препарату ззовнi; вiн захищаi препарат вiд висихання, дii свiтла i вологи.
6. Протягом усього термiну зберiгання лiкарськi засоби, що знаходяться пiд тиском, залишаються стерильними.
7. При великiй кiлькостi манiпуляцiй скорочуiться кiлькiсть обслуговуючого персоналу.
Лiкарським засобам, що знаходяться пiд тиском, властивi i деякi вади:
1. порiвняно висока вартiсть;
2. можливiсть вибуху контейнера при ударi або дii високоi температури;
3. забруднення повiтря примiщення лiкарськими препаратами i пропелентами при манiпуляцiях.
Проте, незважаючи на цi вади, застосування лiкарських засобiв, що знаходяться пiд тиском, вважаiться прогресивним явищем у медичнiй практицi.
1.3 КЛАСИФРЖКАЦРЖЯ ЛРЖКАРСЬКИХ ЗАСОБРЖВ, ЩО ЗНАХОДЯТЬСЯ ПРЖД ТИСКОМ
Вихiдною сировиною для приготування цiii групи лiкарських засобiв i рiзноманiтнi препарати i допомiжнi речовини, що дозволяють видавати iх iз контейнера в рiзних формах вiдповiдно до призначення (на шкiру, усередину, ректально, вагiнально). У зв'язку з цим Г. С. Башура i Я. РЖ. Хаджай дали чiтке визначення цiй лiкарськiй формi, розробили iдину термiнологiю i класифiкацiю всiх видiв i методiв iх застосування в медичнiй практицi.
Лiкарськi засоби, що знаходяться пiд тиском, подiляються на фармацевтичнi i медичнi.
Фармацевтичнi лiкарськi засоби, що знаходяться пiд тиском,тАФ це лiкарська форма, що складаiться з контейнера, клапанно-розпилювальноi системи i вмiсту рiзноi консистенцii, спроможного за допомогою пропеленту виводитися з контейнера. До складу цього лiкарського засобу входять лiкарськi, допомiжнi речовини та один або декiлька пропелентiв.
За призначенням фармацевтичнi лiкарськi засоби, що знаходяться пiд тиском, розподiляють на iнгаляцiйнi, отоларингологiчнi, дерматологiчнi, стоматологiчнi, проктологiчнi, гiнекологiчнi, офтальмологiчнi, спецiального призначення (дiагностичнi, перев'язнi, кровоспиннi та iн.).
Медичнi лiкарськi засоби, що знаходяться пiд тиском,тАФ це засоби одного або декiлькох лiкарських препаратiв у виглядi твердих або рiдких частинок, отриманi за допомогою спецiальних стацiонарних установок i призначенi, головним чином, для iнгаляцiйного введення.
РОЗДРЖЛ 2. ПРИСТРОРЗ ТА МАТЕРРЖАЛИ ЗАСТОСОВУВАНРЖ ПРИ ВИГОТОВЛЕННРЖ АЕРОЗОЛЕЙ.
2.1 КОНТЕЙНЕРИ РЖ КЛАПАННО-РОЗПИЛЮВАЛЬНРЖ ПРИСТРОРЗ
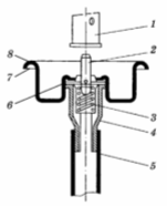
Для переведення лiкарських речовин в аерозольний стан використовуються пристроi, якi працюють пiд тиском i вмонтованi в контейнери (рис. 1). Вони складаються з балона, клапана i вмiсту у виглядi розчину, суспензii або емульсii лiкарського препарату i пропеленту, що герметично закритий клапаном iз розпилювальною головкою. Подача вмiсту з контейнера вiдбуваiться по сифоннiй трубцi до отвору штока клапана за допомогою пропеленту. У разi застосування в ролi пропеленту не стиснутого, а зкрапленого газу тиск у контейнерi залишаiться сталим, поки в ньому буде знаходитись хоча б одна крапля рiдкого пропелента.
Залежно вiд матерiалу, з якого виготовленi контейнери, iх подiляють на декiлька груп:
1. металевi,
2. склянi,
3. пластмасовi,
4. комбiнованi.
Кожний вид маi своi вади i переваги. При iх використаннi враховують в основному вартiсть, наявнiсть матерiалiв для iх виготовлення, а також можливiсть упаковки в них тих або iнших продуктiв.
Мiсткiсть контейнерiв може бути рiзною: вiд 3 мл до 3 л, крiм скляних, мiсткiсть яких обмежена 300 мл.

Рис. 1. Контейнери, клапаннi пристроi та системи, знаходяться пiд тиском:
а тАФ двофазна система; б тАФ трифазна система; 1 тАФ контейнер; 2 тАФ розпилювач; 3 тАФ клапан; 4 тАФ сифонна трубка; 5 тАФ розчин лiкарськоi речовини; 6 тАФ пари пропеленту; 7 тАФ пропелент
Металевi контейнери виготовляють найчастiше з алюмiнiю, внутрiшню поверхню яких покривають захисними лаками, застосовуючи для цього рiзнi полiмернi матерiали, антикорозiйнi лаки або кополiмери. Бiльшiсть лiкарських речовин i багато парфюмерно-косметичних продуктiв не можуть бути введенi в металевi контейнери. Для упаковки цих речовин використовують бiльш iнертнi матерiали.
Склянi контейнери зверху покривають захисною полiмерною оболонкою, яка у разi руйнування втримуi осколки. При iх виготовленнi необхiдно враховувати двi основнi умови:
1. контейнери повиннi витримувати внутрiшнiй тиск, створений пропелентом (не менше 2 МПа),
2. бути стiйкими до удару.
Крiм того, склянi контейнери мають бути хiмiчно i термiчно стiйкими, не мати внутрiшньоi напруги скла, мати рiвномiрну товщину стiнок та дна i мiнiмум плоских поверхонь.
За кордоном застосовуiться також i великий асортимент пластмасових контейнерiв iз полiпропiлену, нейлону, полiетилену, по- лiформальдегiду, дельрину, целкону та iн. Але, незважаючи на цiлий ряд переваг, пластмаси мають проникнiсть для деяких речовин i пропелентiв i погано зберiгають свою форму при дуже великому внутрiшньому тисковi.
Останнiм часом багатьма фiрмами пропонуються контейнери, що не мiстять пропелентiв. Видача вмiсту вiдбуваiться стиснутим повiтрям за допомогою мiкронасоса (механiчним пульверизатором), що наТСвинчуiться на горловину контейнера i створюi тиск повiтря в ньому до 0,5 МПа. Тонкодисперсний струмiнь у таких випадках одержують при поiднаннi високого гiдравлiчного тиску, який створюiться насосом, iз малим проходом перерiзу клапанiв (для цього використовують лазернi технологii).
Собiвартiсть таких контейнерiв висока i iх застосування економiчно не доцiльне для всiх препаратiв. Для розпилення суспензiй iз високим вмiстом твердих речовин, плiвкоутворювальних препаратiв, пiн тощо подiбнi насоси непридатнi.
Призначення аерозолю, стан вмiсту контейнера, його консистенцiя, склад i шлях уведення потребують застосування рiзних, у кожному випадку, точно визначених типiв клапанно-розпилювальних систем. Клапан повинен забезпечувати герметичнiсть при тисковi до 2 МПа i евакуацiю препарату з контейнера.
Клапаннi пристроi класифiкують за трьома ознаками:
1. принципом дii,
2. способом крiплення на контейнерi,
3. призначенням.

Рис. 2. Стандартна клапанно-розпилювальна система для рiдких продуктiв:
1 тАФ розпилювальна головка (насадка); 2 тАФ шток; 3 тАФ пружина; 4 тАФ ТСумова манжета; 5 тАФ корпус клапана; 6 тАФ сифонна трубка; 7 тАФ прокладка; 8 тАФ капсула (чашка)
За принципом дii iх подiляють на групи:
1. пружиннi, що дiють при натисканнi на розпилювальну головку вертикально вниз (пружиннi у свою чергу пiдроздiляють на одноразовi i багаторазовi, безперервнi i дозувальнi);
2. качальнi безпружиннi, що дiють при натисканнi на розпилювальну головку збоку;
3. клапани з ТСвинтовим вентилем.
За способом крiплення на контейнерi:
1. закрiплюються в стандартному отворi контейнера розтиском вертикальних стiнок корпусу клапана пiд бортик горловини контейнера спецiальним цанговим пристроiм (для металевих контейнерiв);
2. закрiплюються на горловинi контейнера завальцьовкою корпусу клапана або капсули на спецiальних стiнках (для скляних i пластмасових);
3. клапани, що наТСвинчуються на горловину iмкостi (для великих контейнерiв багаторазового використання).
За призначенням:
1. стандартнi для рiдких продуктiв (рис. 2);
2. для пiн;
3. для в'язких продуктiв;
4. для порошкiв i суспензiй;
5. клапани спецiального призначення;
6. дозувальнi клапани.
Вiтчизняною фармацевтичною промисловiстю випускаiться чотири типи клапанiв i дев'ять типiв розпилювачiв i насадок до них (рис. 3).
Розпилювачi i насадки подiляються:
1 - на розпилювачi для iнгаляцiй,
2 - для лiкування бронхiальноi астми,
3 - для суспензiйних композицiй
4 тАУ для плiвкоутворюючих композицiй;
5 - насадки стоматологiчнi, ректальнi, вагiнальнi та iн.

Рис. 3. Розпилювачi i насадки вiтчизняного виробництва
2.2 ПРОПЕЛЕНТИ, ЯКРЖ ЗАСТОСОВУЮТЬСЯ ДЛЯ СТВОРЕННЯ ЛРЖКАРСЬКИХ ЗАСОБРЖВ, ЩО ЗНАХОДЯТЬСЯ ПРЖД ТИСКОМ
Важливе значення для видачi аерозольного продукту мають розсiювальнi або евакуюючi гази, за допомогою яких усерединi iмкостi створюiться тиск. Цi гази називаються пропелентами.
Пропеленти класифiкуються за величиною тиску насиченоi пари, за агрегатним станом при нормальних умовах i за хiмiчною природою.
У залежностi вiд тиску насичених парiв iх подiляють на двi великi групи:
1. основнi, здатнi створювати самостiйно тиск не менше 0,2 МПа,
2. допомiжнi, що створюють тиск менше 0,1 МПа.
За агрегатним станом вони пiдроздiляються на три групи:
1. зрiдженi гази:
- фторорганiчнi сполуки (хладони або фреони);
- вуглеводнi пропанового ряду (пропан, бутан, iзобутан);
- хлорованi вуглеводнi (вiнiл- i метилхлорид та iн.);
2. стиснутi (важкозрiдженi) гази:
- азот;
- нiтрогену (РЖ) оксид;
- карбону дiоксид;
3. легколеткi органiчнi розчинники:
- метиленхлорид;
- етиленхлорид;
У лiкарських засобах, якi знаходяться пiд тиском, найчастiше застосовуються зрiдженi гази тАФ хладони-11, -12, -22, -114. Це газоподiбнi або рiдкi речовини, добре розчиннi в органiчних розчинниках i багатьох олiях, практично нерозчиннi у водi, негорючi, не утворюють вибухонебезпечних сумiшей iз повiтрям i вiдносно хiмiчно iнертнi. Найпоширенiшими у свiтi i фреон-11 (СС13F) i фреон-12 (СС12F2), що застосовуються як холодоагенти в холодильниках.
РОЗДРЖЛ 3. ТИПИ АЕРОЗОЛЬНИХ СИСТЕМ
3.1 ДВОФАЗНРЖ СИСТЕМИ
У контейнерi пропелент може знаходитися в газоподiбному та рiдкому станi. Якщо концентрат утворюi iз рiдким пропелентом розчин, то систему називають двофазною (рис. 1, а). Газове середовище у контейнерi складаiться iз:
- парiв пропеленту,
- стиснутого газу;
- летких компонентiв концентрату.
Тиск газовоi фази пропеленту поширюiться однаковою мiрою на всi внутрiшнi стiнки упаковки. Видавання вмiсту можливе в тому разi, якщо атмосферний тиск буде нижчим вiд внутрiшнього тиску в контейнерi. При видачi зрiджений пропелент швидко випаровуiться i викликаi розпилення продукту у виглядi дрiбних крапельок, туману або пiни.
Для бiльшостi систем застосовуються такi розчинники:
- спирт етиловий,
- жирнi та рослиннi олii,
- етилацетат,
- ацетон.
Якщо в системi як пропелент використовують стиснутий газ, то розчинником можуть служити:
- вода,
- глiцерин,
- глiколi,
- полiетиленоксиди
- та iн.
У залежностi вiд природи розчинникiв концентрати-розчини пiдроздiляються на:
- воднi,
- спиртовi,
- водно-спиртовi,
- неводнi.
Прикладом аерозолiв-розчинiв можуть служити препарати:
- iнгалiпт,
- каметон,
- камфомен,
- ефантин
- та iн.
Двофазнi системи можуть бути виведенi з упаковки у виглядi розчину з подальшим утворенням плiвки, пiни або крему.
У свiтовiй практицi вiдома велика кiлькiсть плiвкоутворювальних лiкарських засобiв, що знаходяться пiд тиском. iх застосовують у:
- гiнекологii,
- ветеринарii,
- педiатрii,
- отоларингологii,
- дерматологii.
У контейнерi плiвкоутворювального препарату зазвичай знаходиться:
- розчин полiмеру,
- лiкарськоi речовини,
- пластифiкатору,
- пропеленту,
при розпиленнi яких на поверхнi шкiри або тканини утворюiться плiвка, яка щiльно прилягаi i швидко висихаi.
Кополiмери типу вiнiлпiролiдону з вiнiлацетатом, ацетобутилат целюлози, полiвiнiлпiролiдон та iншi використовують як водорозчиннi плiвкоутворювальнi речовини.
Для неводних плiвкоутворювальних систем застосовують:
- кополiмер гiдроксивiнiлхлориду ацетату i кислоти себациновоi, модифiкований малеiновою смолою,
- вiнiлацетат,
- бензойну смолу,
- метакрилову смолу,
- ацетобутилат целюлози,
- полiметакрилати,
- акрилати,
- етилцелюлозу,
- полiкрилати,
- рiзнi хiрургiчнi клеi на основi естерiв кислоти цiанокриловоi,
- желатинорезорциновий клей
- та iншi речовини, якi при наявностi вологи полiмеризуются.
РЗх застосовують для склеювання краiв шкiри, стiнок слизових оболонок шлунка, кишечнику, нирок, печiнки, легень та iнших органiв.
Речовини, що застосовуються як плiвкоутворювачi, не повиннi подразнювати шкiру i бути токсичними. Утворена плiвка маi бути:
- непроникною для мiкроорганiзмiв,
- еластичною, мiцною;
- з високим ступенем адгезii,
- вираженими бактерiостатичними властивостями;
- без рiзкого або неприiмного запаху.
До переваг плiвкоутворювальних речовин належать:
- iзоляцiя ушкодженоi поверхнi вiд iнфiкування i тканин одягу постраждалого,
- економiя часу при масовiй обробцi хворих,
- зручнiсть,
- простота,
- легкiсть застосування.
3.2 ТРИФАЗНРЖ СИСТЕМИ
Бiльшiсть лiкарських засобiв, що знаходяться пiд тиском, i системами, в яких концентрат-розчин, емульсiя або суспензiя не змiшуються з рiдким пропелентом i в контейнерi знаходяться три окремi фази:
- газоподiбна,
- тверда,
- рiдка (рис. 1, б).
Як емульгатори для таких емульсiй, як i для звичайних емульсiй, використовуються найрiзноманiтнiшi поверхнево-активнi речовини (ПАР), якi в силу своiх фiзико-хiмiчних властивостей у комбiнацii з пропелентами утворюють пiни.
Пiннi препарати мають багато сфер застосування в медицинi. У гiнекологii тАФ для лiкування запалення матки, для особистоi гiгiiни жiнок i як протизаплiднi засоби, а також як препарати для запобiгання захворювань венеричними хворобами.
У проктологii пiннi препарати показанi як ефективнi засоби при лiкуваннi:
- геморою,
- трiщин заднього проходу,
- проктитiв,
- колiтiв
- та iн.
Для одержання пiноутворювальних лiкарських засобiв, що знаходяться пiд тиском, потрiбнi ефективнi пiноутворювачi, якi в малих концентрацiях забезпечують одержання рясноi стiйкоi пiни.
До складу пiни можна вводити:
- стероiди,
- речовини фунгiцидноi дii,
- дiуретики,
- антибiотики,
- гормони,
- вiтамiни,
- антитоксини,
- антигени,
- судинозвужувальнi,
- кровоспиннi,
- гiстамiннi,
- седативнi,
- протиревматичнi засоби.
Представниками трифазних систем i також лiкарськi засоби, що знаходяться пiд тиском, у виглядi суспензiй. Це гетерогеннi дисперснi системи, що характеризуються присутнiстю твердоi фази, нерозчинноi в рiдкому концентратi. Пропелент може бути включений або в дисперсну фазу, або в дисперсiйне середовище. У будь-якому випадку дiюча речовина диспергована в нелеткому розчиннику.
Труднощi, якi зустрiчаються при створеннi суспензiйних лiкарських засобiв, що знаходяться пiд тиском, пов'язанi з агрегацiiю порошкоподiбних частинок, рекристалiзацiiю та осадженням iх на стiнках контейнера. У залежностi вiд цього змiнюiться якiсть розпилювання, ефективнiсть його при нанесеннi на поверхню, порушуiться точнiсть дозування лiкарського засобу при його застосуваннi та iн.
Останнiм часом суспензiйнi лiкарськi засоби використовуються в медичнiй практицi досить широко. Прикладом iх i:
- оксициклозоль,
- алудрин,
- оксикорт,
- астмопент,
- алупент
- та iн.
Перевагами цiii групи препаратiв можна вважати: можливiсть використання речовин, як розчинних, так i нерозчинних у цьому середовищi, лiкарськi речовини мають виражений пролонгований ефект, тривалiсть iх дii можна регулювати змiною розмiру частинок.
Основна вада суспензiйних лiкарських засобiв, що знаходяться пiд тиском,тАФ це iх термодинамiчна нестiйкiсть, яка i звичайним станом суспензiй. Згодом усi без винятку суспензii розшаровуються, тому основною характеристикою iх i дисперснiсть i наявнiсть агрегативноi й кiнетичноi (седиментацiйноi) стiйкостi.
РОЗДРЖЛ 4. ТЕХНОЛОГРЖЯ ЛРЖКАРСЬКИХ ЗАСОБРЖВ, ЩО ЗНАХОДЯТЬСЯ ПРЖД ТИСКОМ
4.1 РРЖДКРЖ ЛРЖКАРСЬКРЖ ЗАСОБИ
Лiкарськi засоби, що знаходяться пiд тиском, складаються з нелетких (одного або декiлькох) компонентiв i леткого пропеленту. Дiюча речовина, як правило, або розчинена, або диспергована в розчиннику. Тому впорядкування рецептури аерозолю полягаi в розробцi технологii приготування бажаноi комбiнацii нелеткого та леткого компонентiв.
Залежно вiд ступеня змiшуваностi компонентiв основноi рецептури з пропелентом лiкарськi засоби, що знаходяться пiд тиском, подiляються на:
- розчини,
- пiни,
- суспензii,
- комбiнованi системи.
У рiдких лiкарських засобах активна речовина розчинена або в пропелентi, або в спiврозчиннику, що добре змiшуiться з пропелентом. Пiсля видавання вмiсту з контейнера пропелент випаровуiться, а активна речовина залишаiться у виглядi туману в чистому виглядi або розчиненою в спiврозчиннику.
Пiд час приготування концентратiв можуть бути використанi рiзнi за своiми властивостями хiмiчнi сполуки та iх сумiшi. Найчастiше концентрат складаiться з декiлькох iндивiдуальних речовин, якi повиннi мати певну в'язкiсть, бути сумiсними з пропелентом, стiйкими до дii низьких i високих температур i не взаiмодiяти з деталями контейнера. Як спiврозчинники переважно застосовують неполярнi речовини, оскiльки навiть мала кiлькiсть води може викликати гiдролiз деяких пропелентiв, що призводить до видiлення хлороводню, розкладанню активних речовин i корозii металевих деталей контейнерiв.
Виробництво лiкарських засобiв, що знаходяться пiд тиском, у виглядi розчинiв складаiться з декiлькох стадiй:
1. приготування розчину активного компонента (концентрату),
2. звiльнення його вiд нерозчинних домiшок,
3. фасовки в контейнери,
4. герметизацii,
5. заповнення пропелентом,
6. перевiрки на мiцнiсть i герметичнiсть,
7. стандартизацii,
8. оформлення упаковки для подальшого транспортування.
Концентрати-розчини готуються, як i звичайнi розчини лiкарських речовин, у реакторах з теплообмiнником i мiшалкою. Звiльнення розчинiв вiд домiшок здiйснюiться вiдстоюванням, фiльтрацiiю або центрифугуванням.
Якщо концентрати-розчини одержують за допомогою в'язких розчинникiв (жирних олiй), то розчинення проводять при нагрiваннi, очищення тАФ пiд тиском.
У разi застосування летких розчинникiв (спирту етилового) розчинення речовин проводять у з критих реакторах, а фiльтрацiю тАФ пiд тиском. До складу систем можуть входити стабiлiзатори i консерванти.
Стандартизацiю концентратiв-розчинiв здiйснюють з урахуванням вiдсоткового вмiсту дiючих речовин або за густиною розчину.
Вирiшальним чинником у технологii лiкарських засобiв, що знаходяться пiд тиском, у виглядi розчинiв i тиск усерединi контейнера, контроль за яким може служити кiлькiсною характеристикою деяких фiзико-хiмiчних властивостей:
- повноти видачi вмiсту,
- дисперсностi,
- а також розчинностi пропеленту в концентратi.
Чим бiльша спроможнiсть концентрату до розчинення пропеленту, тим нижчий тиск в контейнерi.
Розчиннiсть пропелентiв у водних середовищах можна пiдвищити не тiльки введенням спiврозчинникiв, що добре поiднуються з ними, але й за рахунок ПАР, якi можуть солюбiлiзувати iх у процесi змiшування. Чим бiльша здатнiсть розчину ПАР до солюбiлiзацii хладону, тим нижчий тиск усерединi упаковки виявляi сумiш iхнiх парiв (рис. 4). Ступiнь солюбiлiзацii, стiйкiсть отриманих систем i iх основнi фiзико-хiмiчнi властивостi зумовленi видом пропеленту i типом ПАР (табл. 1).
Таблиця 1
Тиск усерединi контейнера залежно вiд виду пропеленту i типу ПАР
| Наймену-вання | Тиск, кПа (21 В°С) | Концентрацiя, % (об. ч.) | ПАР | ||
| Емульсiйнi воски | Емульгатор № 1 | Твiн-80 | |||
| Хладон-12 | 608 | 10 | 1,5 | 2,0 | 1,4 |
Сумiш хладонiв 12/144 (40 : 60) | 355 | 10 | 1,7 | 2,2 | 1,5 |
Сумiш хладонiв 12/318 (50 : 50) | 527 | 10 | 3,0 | 3,0 | 2,3 |
Вместе с этим смотрят:
РЖсторiя виникнення та розвитку масажу
Азотные и кислородные ванны, нафталановая нефть
Акушерська операцiя - накладання акушерських щипцiв