Крупнейшие месторождение нефти. Месторождение Аль-Гавар
Реферат
ВлКрупнейшие месторождение нефти. Месторождение Аль-ГаварВ»
2010 г.
Введение
Нефтяное месторождение тАФ совокупность залежей нефти на определенной территории. Обычно занимает несколько сотен километров, для добычи используются нефтяные скважины, которые строятся в процессе бурения.
Классификация нефтяных месторождений по запасам нефти
Нефтяные месторождении классифицируется на:
В· мелкие - до 10 млн. тонн нефти;
В· средние - 10 - 100 млн. тонн нефти (Кумколь, Верх-Тарское);
В· крупное - 100 - 1000 млн. тонн нефти (Каламкас, Пенглай, Правдинское, Статфьорд);
В· крупнейшие (гигантские) - 1 - 5 млрд. тонн нефти (Тенгиз, Самотлор, Ромашкино);
В· Уникальные (супергигантские) - 5 млрд. тонн нефти и более (Аль-Гавар, Большой Бурган, Эр-Румайла).
Крупнейшие нефтяные месторождения мира
номер | государство | месторождение | год открытия | запасы (млрд т) |
| 1 | Саудовская Аравия | Аль-Гавар | 1948 | 12 |
| 2 | Кувейт | Бурган | 1938 | 10 |
| 3 | Саудовская Аравия, Кувейт | Сафания-Хафджи | 1951 | 6,5 |
| 4 | Ирак, Саудовская Аравия | Эр-Румайла с Западной Курной | 1953 | 6,4 |
| 5 | Казахстан | Кашаган | 2000 | 4,8 |
Общие сведения о месторождении
Аль-Гавар (Гхавар, Гоар) тАФ крупнейшее по запасам нефти нефтегазовое месторождение-гигант в Саудовской Аравии, одно из месторождений бассейна Персидского залива. Доказанные и извлекаемые запасы нефти 8,1 тАФ 9,6 млрд т., а по некоторым данным до 12 млрд. т, газа 1,01 млрд. м³. Расположено примерно в 100 км к юго востоку от г. Дахран в провинции Эш-Шаркийя. Размерами 280 км на 30 км, является крупнейшим разрабатываемым месторождением нефти в мире. Месторождение в полной собственности государства и управляется госкомпанией Saudi Aramco. О месторождении известно очень мало, детальные и общие текущие показатели производства скрываются компанией и правительством. Сведения в основном исторические, по случайным техническим публикациям и слухам.
История
Месторождение нефти Ghawar - безусловно наибольшее месторождение нефти в мире и составляет больше чем половину совокупной добычи нефти Саудовской Аравии. Оно разделено на шесть продуктивных областей. С севера на юг, они - Fazran, Ain Dar, Shedgum, Uthmaniyah, Haradh и Hawiyah. Месторождение Ghawar было обнаружено в 1948. Производство началось в 1951 и достигло пика 5.7 миллионов баррелей в день в 1981. Это - самая высокая длительная норма добычи нефти не достигнутая ни одним другим месторождением нефти в мировой истории. В то время, когда этот порог добычи был достигнут, южные области Hawiyah и Haradh еще не были полностью развиты. Производство было ограничено после 1981 по причинам рынка, но Ghawar оставался самым важным месторождением нефти в мире. Лишь в середине восьмидесятых годов количества нефти добываемые на месторождении Самотлор в России превышали добычу на месторождении Гавар, но это было связано с тем, что производство там было ограничено. Развитие южного Hawiyah и областей Haradh в течение 1994 - 1996 позволило добывать свыше пяти миллионов баррелей в день.Такая замечательная история производства обуславливается огромной площадью нефтяного бассейна в Области Ghawar. Alsharhan и Kendall обеспечивают 693 000 акров производительной области Ghawar. Это месторождение представляет единственный в мире столь длительно фонтанирующий бассейн нефти. Совокупное производство к 2000 на конец года было приблизительно 51 миллиард баррелей нефти.
Характеристики
Залежи на глубине 1,5 тАФ 3 км. Геологические запасы нефти оценивается 20 млрд. тонн. Начальные запасы нефти оценивается 14,33 млрд. тонн, газа 1,01 млрд. м³. Плотность нефти 0,85 г/см³, содержание серы 1,66%. В Саудовской Аравии нефтяной горизонт Гавара называют свита Араб.
Геология

Схема профиля месторождения
Гавар расположился в антиклинали на основном разломе пласта относящегося к карбону, около 320 млн. лет назад. Породы бассейна: юрские арабские D-известняки с исключительной пористостью (доходящей до 35%), шельфовые отложения глин и известняков с пятипроцентным содержанием органики (1 тАФ 2% считается хорошими нефтематеринскими породами), и подложка из коры выветривания содержащей непроницаемые ангидриты. Во время тектонических движений мелового периода северо-восточная граница Африки, надвигаясь на юго-западную Азию, развила структуру.
Перспективы запасов
Компания Saudi Aramco заявила, что доказанные запасы нефти месторождения составляют более 9,6 млрд т. Некоторые исследователи, в том числе Мэтью Симмонс в своей публикации Twilight in the Desert, предположили достижение пика добычи в самое ближайшее время. Однако работа Симмонса подверглась жёсткой критике со стороны Нансена Салери, представителя Saudi Aramco. Около 60 тАФ 65% всей произведённой Саудовской нефти с 1948 по 2009 добыто из Гавара. К концу 2005 года совокупная добыча на месторождении составила около 8,1 млрд т. По тем же источникам, на 2006 год, в Гаваре добывалось более 680 тыс. т. нефти в день (6,25% мировой добычи). Кроме того, на Гаваре добывается приблизительно 56,6 млн. м³ в день природного газа.
Нефтяные запасы и производство
Восстанавливаемая сырая нефть и конденсат 259.9 миллиардов баррелей
Производство сырой нефти (составляет в среднем в день) 8.9 миллионов баррелей
Производство сырой нефти (ежегодные) 3.25 миллиардов баррелей
Газовые запасы ипроизводства 248.5 триллионов кубических футов
Газовая промышленность (составляет в среднем в день) 8.22 миллиарда кубических футов(сырой газ на газовые заводы)
Газовая промышленность (ежегодные) 3.00 триллионов кубических футов(сырой газ на газовые заводы)
Характеристика сырья
Область Ghawar, Ain Dar
Начальное содержание легких фракций (SCF/Bbl).550
Нефтяная плотность (в градусах API)34
Нефтяная Вязкость в Условиях Бассейна (сантипуаз)0.62
Содержание Серы, (% вес.)1.66 %
Обводненность (% вес.) 11 %
Область Ghawar, Область Shedgum
Начальное содержание легких фракций(SCF/Bbl).540
Нефтяная плотность (в градусах API) 34
Нефтяная Вязкость в Условиях Бассейна (сантипуаз) 0.62
Содержание Серы, (% вес.)1.75 %
Обводненность (% вес.)11 %
Область Ghawar, Область Uthmaniyah
Начальное содержание легких фракций(SCF/Bbl).515
Нефтяная плотность (в градусах API)33
Нефтяная Вязкость в Условиях Бассейна (сантипуаз) 0.73
Содержание Серы, (% вес.)1.91 %
Обводненность (% вес.)11 %
Область Ghawar, Область Hawiyah
Начальное содержание легких фракций(SCF/Bbl).485
Нефтяная плотность (в градусах API)32
Нефтяная Вязкость в Условиях Бассейна (сантипуаз)0.85
Содержание Серы, (% вес.)2.13 %
Обводненность (% вес.)11 %
Область Ghawar, Область Haradh
Начальное содержание легких фракций(SCF/Bbl).470
Нефтяная плотность (в градусах API)32
Нефтяная Вязкость в Условиях Бассейна (сантипуаз)0.89
Содержание Серы (% вес.) 2.15 %
Обводненность (% вес.)11 %
В общем сырье представляет собой легкую нефть с средней плотностью 0,85 г/см³, среднесернистая, с содержанием серы 1,66%, с высоким выходом светлых нефтепродуктов около 45% мас., индекс вязкости базовых масел более 85, парафинистая.
Получаемая продукция
Из данной нефти получают широкий спектр нефтепродуктов. В последнее время ставится задача углубления переработки нефти и повышения качества нефтепродуктов. Эта задача на установках АВТ решается организацией мероприятий, направленных на увеличение отбора дистиллятных фракций как в атмосферной, так и в вакуумной колоннах и обеспечение их четкого выделения. При первичной перегонке нефти получают широкий ассортимент фракций и нефтепродуктов, различающихся по температурным границам кипения, углеводородному и химическому составу, вязкости, температурам вспышки, застывания и другим свойствам, связанным с областью их применения и использования. Углеводородный газ состоит преимущественно из пропана и бутанов, которые в растворенном виде содержатся в поступающих на переработку нефтях. В зависимости от технологии первичной перегонки нефти пропан-бутановую фракцию получают в сжиженном или газообразном состоянии. Ее используют в качестве сырья на газофракционирующих установках с целью производства индивидуальных углеводородов, бытового топлива, компонента автомобильного бензина. Фракцию именуют нефтепродуктом, если ее свойства отвечают нормам стандарта или техническим условиям на товарный продукт, не требуя дополнительного передела. Бензиновая фракция с пределами выкипания 28тАФ180В°С преимущественно подвергается вторичной перегонке (четкой ректификации) для получения узких фракций (28тАФ62, 62тАФ85, 85тАФ105, 105тАФ140, 85тАФ140, 85тАФ180 В°С), служащих сырьем для процессов изомеризации, каталитического риформинга с целью производства индивидуальных ароматических углеводородов (бензола, толуола, ксилолов), высокооктановых компонентов автомобильных и авиационных бензинов; применяется в качестве сырья пиролиза при получении этилена, реже тАФ как компонент товарных бензинов. Керосиновая фракция с температурами выкипания 120тАФ230 (240) В°С используется как топливо для реактивных двигателей, при необходимости подвергается демеркаптанизации, гидроочистке; фракцию 150тАФ280 или 150тАФ315 В°С из малосернистых нефтей используют как осветительные керосины, фракцию 140тАФ200 В°С тАФ как растворитель для лакокрасочной промышленности. Дизельная фракция, выкипающая при температурах 140тАФ320 (340) В°С, используется в качестве дизельного топлива зимнего, фракция 180тАФ360 (380) В°С тАФ в качестве летнего. При получении из сернистых и высокосернистых нефтей требуется предварительное обессеривание фракций. Фракции 200тАФ320 В°С и 200тАФ340 В°С из высокопарафинистых нефтей используют как сырье для получения жидких парафинов депарафинизацией. Мазут тАФ остаток атмосферной перегонки нефти тАФ применяется как котельное топливо или в качестве сырья установок вакуумной перегонки, а также термического, каталитического крекинга и гидрокрекинга. Широкая масляная фракция с температурами выкипания 350тАФ500 и 350тАФ540 (580) В°С тАФ вакуумный газойль тАФ используется в качестве сырья каталитического крекинга и гидрокрекинга. Узкие масляные фракции с пределами выкипания 320 (350) тАФ 400, 350тАФ420, 400тАФ450, 420тАФ490, 450тАФ500 В°С используют как сырье для установок производства минеральных масел различного назначения и твердых парафинов. Гудрон тАФ остаток вакуумной перегонки мазута тАФ подвергают деасфальтизации, коксованию с целью углубления переработки нефти, используют в производстве битума, остаточных базовых масел.
Основные технологические процессы
Нефть из скважины перед поступлением ее на переработку предварительно подвергается трехступенчатой сепарации, для отделения ее от попутных газов, обезвоживанию с разрушением эмульсий и отстою от механических примесей. Обезвоженная и обессоленная нефть далее поступает на первичную переработку.
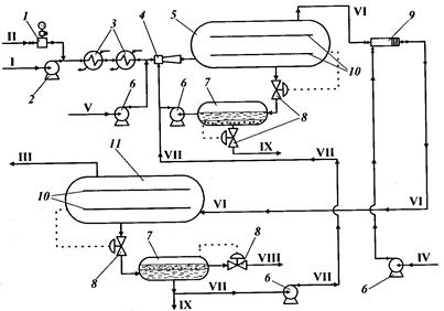
Подготовка нефти на промысле
Сырая нефть I из пласта проходит дроссельный вентиль 1 и поступает в сепаратор первой ступени 2, давление в сепараторе поддерживается на уровне 0,6тАФ0,7 МПа, которое достаточно для бескомпрессорной подачи газа II на ГПЗ. Далее из сепаратора первой ступени 2 через дроссельный вентиль нефть подается в сепаратор второй ступени 3, где за счет дальнейшего снижения давления выделяется оставшийся газ III. Далее нефть перетекает в отстойник 4, где от нее отделяется пластовая вода V и оставшийся газ. Давление в сепараторе второй ступени 0,2тАФ0,3 МПа. В отстойнике давление близко к атмосферному. Газы из сепаратора второй ступени и отстойника сжимаются компрессором 6 и подаются на газоперерабатывающий завод.
Нефть IV из отстойника поступает на установку стабилизации, работа которой описана далее.
Подготовка нефти на промыслах: 1 тАФ вентиль; 2, 3 тАФ сепараторы 1-й и 2-й ступеней; 4тАФ отстойник; 5тАФ насос; 6тАФ компрессор; 7 тАФ газоперерабаты-вающий завод; 8тАФ нефтестабилизационная установка; I тАФ пластовая нефть; II, III тАФ газы первой и второй сепарации; IV тАФ нестабильная нефть; V тАФ вода для закачивания в пласт; VI тАФ метан; VII тАФ этан; VIII тАФ нестабильный бензин; IX тАФ метан и этан; X тАФ стабильная нефть; XI тАФ фракция легких углеводородов
Нестабильная (сырая) нефть I подогревается вначале в теплообменнике 1 потоком уходящей с установки стабильной нефти II, затем в печи 2 и поступает в ректификационную колонну 3 (стабилизатор). Легкие углеводороды, выходящие с верха колонны, конденсируются в холодильнике 4 и собираются в емкости 6, откуда они передаются-потребителям как ШФЛУ (VII). Часть ШФЛУ поступает в верхнюю часть колонны как орошение для снижения потерь легких углеводородов. Стабильная нефть П из куба колонны 3 проходит теплообменник 1, где отдает тепло поступающей на установку сырой нефти I, и направляется потребителям.
Газ стабилизации VI может использоваться как топливный, передаваться на ГПЗ или закачиваться в пласт.
Стабилизация нефти на промыслах: 1 тАФ теплообменник; 2 тАФ печь; 3 тАФректификационная колонна; 4 тАФ холодильник; 5 тАФ насос; 6 тАФ емкость; I тАФнефть сырая; II тАФ стабильная нефть; III тАФ топливный газ; IV тАФ дымовые газы;V тАФ вода; VI тАФ газ стабилизации; VII тАФ ШФЛУ
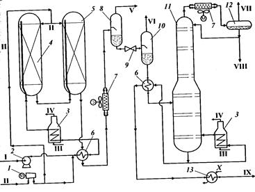
Подготовка нефти на нефтеперерабатывающем заводе
Глубокое обессоливание нефти обеспечивает снижение коррозии и уменьшение отложений в аппаратуре, увеличение межремонтных пробегов установок, улучшение качества сырья для каталитических процессов, а также товарных продуктов тАФ топлив, битума и электродного кокса.
В блоке электрообессоливания можно выделить четыре зоны обессоливания. В первой зоне нефть смешивается со свежей промывной водой и деэмульгатором. Интенсивность смешения должна быть такой, чтобы промывная вода диспергировалась до такого же распределения капель, как и пластовая, иначе промывная вода будет осаждаться в первую очередь, и эффект разбавления пластовой воды не будет достигнут. В качестве промывной воды используется речная вода или технологические конденсаты; содержание солей в промывной воде не должно быть более мг/л. Во второй зоне происходит отстой наиболее крупных капель вновь образовавшейся эмульсии, а в третьей зоне под действием электрического поля интенсифицируются столкновение и слияние мелких капель. Укрупненные капли опускаются в третью зону. В четвертой зоне происходит дополнительный отстой капель, выведенных из второй зоны поднимающимся потоком нефти.
В поток нефти I насосом-дозатором 1 подается деэмульгатор. Насосом 2 нефть прокачивается через теплообменники 3, где подогревается дистиллятами с установки атмосферно-вакуумной перегонки нефти до температуры 80тАФ120 0С. После теплообменников в нефть добавляется раствор щелочи V, чтобы довести рН воды до 7,0тАФ7,5. Подача раствора щелочи необходима для подавления сероводородной коррозии и нейтрализации неорганических кислот, попадающих в нефть при обработке скважин кислотными растворами. Расход щелочи для повышения рН воды на единицу составляет 10 г/т.
В инжекторном смесителе 4 нефть перемешивается с раствором щелочи и циркулирующей водой VII, и смесь подается в нижнюю часть электродегидратора 5 через трубчатый распределитель с перфорированными горизонтальными отводами. Обессоленная нефть VI выводится из электродегидратора сверху через коллектор, конструкция которого аналогична распределителю. Благодаря такому расположению устройств ввода и вывода нефти обеспечивается равномерность потока по всему сечению аппарата. Отстоявшаяся вода отводится через дренажные коллекторы или отстойник 7 (из отстойника вода возвращается в процесс). Часть воды из отстойника сбрасывается в заводскую канализацию, что необходимо для снижения концентрации солей. Убыль воды восполняется подачей воды со второй ступени.
Из электродегидратора 5 сверху не полностью обезвоженная нефть поступает под давлением в электродегидратор второй ступени 10. Перед этим электродегидратором нефть смешивается со свежей водой IV в диафрагмовом смесителе 9. Вода для промывки предварительно подогревается до температуры 65тАФ70 0С. Обессоленная и обезвоженная нефть III из верхней части электродегидратора II второй ступени отводится с установки.

Принципиальная схема электрообессоливающей установки: / тАФ насос-дозатор; 2,6тАФ насосы: 3 тАФ теплообменник; 4тАФ инжекторный смеситель; 5, II тАФ электродегитраторы; 7тАФ отстойник; 8 тАФ автоматический клапан; 9 тАФ диа-фрагмовый смеситель; 10тАФ электрод; 1 тАФ сырая нефть; II тАФ деэмульгатор; 111 тАФ обессоленная нефть; IV тАФ чистая вода; V тАФ раствор щелочи; VI тАФ частично обессоленная нефть; VII тАФ циркулирующая вода; VIII тАФ эмульсия нефти в воде; IX тАФ вода в заводскую канализацию
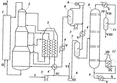
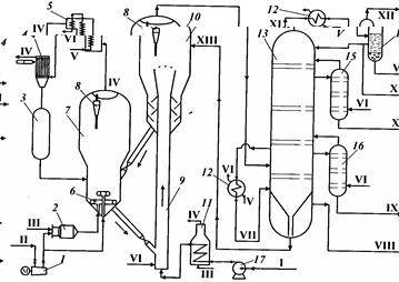
Технологическая схема установки первичной перегонки нефти
Нефть I проходит теплообменники 1 и 2, где подогревается за счет тепла отходящих продуктов, после чего поступает в отбензинивающую колонну 3. В колонне 3 из нефти выделяется легкая бензиновая фракция, которая охлаждается в воздушном холодильнике 5, конденсируется в холодильнике 4 и собирается в емкости орошения 6, откуда через отстойник 8 подается в стабилизатор бензина 11. В емкости орошения выделяется также газ IV, направляемый на компримирование.Полуотбензиненная нефть из нижней части колонны 3 направляется через трубчатую печь 9 в атмосферную колонну 10. Часть потока полуотбензиненной нефти подогревается в печи 9 и возвращается в отбензинивающую колонну 3, сообщая дополнительное количество тепла, необходимое для ректификации. В колонне 10 нефть разделяется на несколько фракций. Из верхней части колонны 10 в паровой фазе уходит тяжелый бензин, который конденсируется в холодильнике 4, а затем поступает в стабилизатор 11. Кубовый остаток стабилизатора подогревается в печи 13. В качестве боковых погонов из колонны 10 выво дятся керосиновая X и дизельная VIII фракции, которые первоначально подаются в секции отпарных колонн 11, в которых в присутствии водяного пара удаляются легкие фракции. Затем керосиновая и дизельная фракции выводятся с установки. Из нижней части колонны 10 выходит мазут XVI, который через печь 15 подается в колонну вакуумной перегонки 16, где разделяется на вакуумные дистилляты XI и гудрон II. Из верхней части колонны 16 с помощью пароэжекторного насоса 14 отсасываются водяные пары, газы термической деструкции, воздух и некоторое количество легких нефтепродуктов (дизельная фракция). Вакуумный дистиллят XI и гудрон II через теплообменники подогрева нефти 1, 2 уходят с установки.
Схема установки атмосферно-вакуумной перегонки нефти: /, 2, 12 тАФ теплообменники; 3 тАФ отбензиниваюшая колонна; 4 тАФ холодильник; 5 тАФ воздушный холодильник; 6тАФ емкость орошения; 7 тАФ насос; 8тАФ отстойник; 9, 13, 15 тАФ печи нагрева сырья; 10 тАФ атмосферная колонна с отпарными колоннами; // тАФ стабилизатор бензина; 14 тАФ пароэжекторный насос; 16 тАФ вакуумная колонна; 17тАФ концевые холодильники; I тАФ нефть; II тАФ гудрон; III тАФ сброс воды в канализацию; IV тАФ газ на газофракционирующую установку; V тАФ пар водяной; VI тАФ газы эжекции на утилизацию; VII тАФ головная фракция стабилизации на газофракционирующую установку; VIII тАФ дизельная фракция; IX тАФ бензин; X тАФ керосин; XI тАФ вакуумный дистиллят; XII тАФ топливный газ; XIII тАФ дымовые газы; XIV тАФ циркуляционное орошение; XV тАФ вода; XVI тАФ мазут
Для снижения температуры в кубе и более полного извлечения дистиллятных фракций в колонны 10 и 16 подается водяной пар V. Избыточное тепло в них снимается циркуляционными орошениями XIV.В стабилизаторе 11 из верхней части отбирают Влголовку стабилизацииВ» тАФ сжиженный углеводородный газ VII, а из куба тАФ стабильный бензин IX, не содержащий газообразных углеводородов. При работе по этой схеме следует нагревать нефть в печи до более высокой температуры, чем при однократном испарении вследствие раздельного испарения легких и тяжелых фракций. Кроме того, установка оборудована дополнительной аппаратурой тАФ колонной, насосами печными и для подачи орошения, конденсаторами-холодильниками.
Технологическая схема гидроочистки топлив
Сырьем служат прямогонные фракции с содержанием серы до 2,4 % мае., полученные из х нефтей, а также смеси прямогонных фракций и соответствующих дистиллятов вторичного происхождения. Установка имеет два блока, позволяющих перерабатывать два вида сырья раздельно, но имеющих некоторые общие элементы, в частности, узел регенерации моноэтаноламина, используемого для очистки циркулирующего газа от сероводорода.
Сырье I насосом 2 подают через теплообменник в трубчатую печь 3. В линию насоса врезана линия водородсодержащего газа II от компрессора 1. Нагретая до температуры 360тАФ380 В°С смесь сырья и циркулирующего газа проходит последовательно два реактора 4 и 5. Реакторы заполнены катализатором (алюмоникельмолибденовым или алюмокобальтмолиб-деновым). Предусмотрена возможность съема избыточного тепла реакции путем подачи в реакторы части холодного водородсодержащего газа. Продукты реакции в виде парогазовой смеси выходят из реактора 5, отдают часть тепла газосырьевой смеси, проходя через межтрубное пространство теплообменника 6, охлаждаются в воздушном холодильнике 7. Смесь поступает в сепаратор высокого давления 8, где от продуктов реакции отделяется водородсодержащий газ V, обогащенный сероводородом. Затем смесь из 8 попадает в сепаратор низкого давления 10, где вновь происходит выделение сероводорода и части углеводородных газов VI. Газы из сепараторов 8 и 10 уходят сверху и направляются на очистку моноэтаноламином и выделение сероводорода. Блок очистки газов от сероводрода моноэтаноламином описан в главе 2. В очищенный водородсодержащий газ добавляют водород для восполнения его расхода на гидроочистку.
В продуктовой смеси, выходящей снизу из сепаратора 10, помимо целевой фракции дизельного топлива, содержится некоторое количество легких продуктов тАФ тяжелые газовые компоненты и бензиновые фракции VIII. Чтобы отделить эти фракции, жидкие продукты направляют через теплообменник в стабилизационную колонну 11. Отпаривание легких фракций проводят, возвращая часть дизельного топлива из колонны 11 в печь. Балансовое количество гидроочищенного дизельного то плива IX проходит теплообменник 13 и уходит с установки. Углеводородные газы VII направляются на газофракционирующую установку.
Гидроочистку тяжелых дистиллятов деструктивных процессов (коксования, висбрекинга) обычно проводят в смеси с прямогонными дистиллятами в количестве до 30 % мас.
Гидроочистка масляных фракций применяется для осветления и улучшения их стабильности против окисления. Одновременно уменьшается их коксуемость и содержание серы (глубина обессеривания 30тАФ40 %); температура застывания масла повышается на I тАФ3 В°С. Выход дистиллятных и остаточных рафинатов составляет более 97 % мас.

Технологическая схема установки гидроочистки топлив: / тАФ компрессор; 2тАФ насос; 3тАФ печь; 4, 5тАФ реакторы; 6тАФ теплообменник; 7тАФ аппарат воздушного охлаждения; 8 тАФ сепаратор высокого давления; 9 тАФ дроссельный вентиль; 10 тАФ сепаратор низкого давления; // тАФ стабилизационная колонна; 12 тАФ сепаратор; 13 тАФ холодильник; 1 тАФ сырье; II тАФ свежий водородсодержащий газ; III тАФ топливный газ; IV тАФ дымовые газы; V тАФ водородсодержащий газ на очистку; VI тАФ углеводородный газ; VII тАФ газ стабилизации; VIII тАФ бензин; IX тАФ дизельное топливо; X тАФ вода
Технологическая схема каталитического риформинга
Основное назначение процесса риформинга тАУ получение высококтанового компонента товарных автомобильных топлив из низкооктановых тяжелых бензинов за счет их ароматизации. Сырьем установки является бензин 85-1800С, мощность установки 1 млн. т в год. Катализатор тАУ биметаллический, шариковый.
Сырье I смешивается с циркулирующим водородсодержащим газом IV. Далее реакционная смесь нагревается в теплообменнике 4 и печи 5 и поступает в верхнюю секцию реактора 2. Переменный диаметр реактора позволяет неравномерно распределять катализатор между секциями в соответствии с протекающими реакциями. Продукты из нижней части реактора 2 проходят теплообменники 4. Первое разделение жидкой и газовой фаз происходит в газовом сепараторе низкого давления 8(при 1 МПа). Газ из этого газового сепаратора компримируют компрессором 6 до давления 1,5 МПа, вновь смешивают с жидкой фазой, подаваемой из газового сепаратора 8, и разделяют смесь в газовом сепараторе высокого давления 7. Подобное решение узла сепарации, вызванное низким давлением в реакционной зоне, снижает унос бензина с водородсодержащим газом и повышает содержание в нем водорода. В колонне 9 осуществляют стабилизацию катали-зата при давлении 0,8тАФ0,9 МПа. Из верхней части колонны уходят углеводородный газ VII и головная фракция VIII, которые передаются на газофракционирующую установку, а стабильный катализат отбирается снизу колонны.
Регенератор 1 представляет собой аппарат с радиальным потоком реакционных газов, разделенный на три технологические зоны. В верхней зоне при мольном содержании кислорода 1 % об. в газе-окислителе происходит выжиг кокса. В средней зоне при содержании кислорода 10тАФ20 % об. и подаче хлорорганических соединений происходит окислительное хлорирование катализатора. В третьей нижней зоне катализатор дополнительно прокаливают в токе сухого воздуха.

Схема установки риформинга с движущимся слоем катализатора: 1 тАФ секция регенерации; 2 тАФ реактор; 3 тАФ насос; 4 тАФ теплообменник; 5 тАФ многосекционная печь; 6тАФ компрессор; 7тАФ газосепаратор высокого давления; 8тАФ газосепаратор низкого давления; 9 тАФ колонна стабилизации; 10 тАФ холодильник; 11 тАФ сепаратор; 12тАФ трубчатая печь; I тАФ сырье; IIтАФвоздух; III тАФ дымовые газы; IV тАФ циркулирующий газ; V тАФ вода; VI тАФ водород заводским потребителям; VII тАФ газообразные углеводороды; VIII тАФ нестабильная головная фракция; IX тАФ топливный газ; X тАФ стабильный катализат
Технологическая схема изомеризации бензиновых фракций
Процесс изомеризации служит для получения высокооктановых компонентов автомобильных топлив на бифункциональном катализаторе, содержащем платину на оксиде алюминия. Процесс проходит при температурах 350тАФ400 В°С и давлении 3тАФ3,5 МПа, объемная скорость подачи сырья составляет 1,5тАФ2,0 ч-1. Для подавления побочных реакций расщепления осуществляют циркуляцию водородсодержащего газа в объеме 900 нм3 на 1 м3 жидкого сырья.
Исходная пентановая фракция поступает на изомеризацию с центральной газофракционирующей установки (ЦГФУ), схема которой рассмотрена в главе 2. Сырье I, подаваемое насосом 1, смешивается с водородсодержащим газом, нагревается в теплообменнике 2 и далее через змеевик трубчатой печи 4 поступает в реактор 3, заполненный катализатором. В начале работы температура в реакторе около 380 0С, а в конце вследствие некоторого дезактивиро-вания катализатора она поднимается до температуры 430тАФ450 0С.

Технологическая схема установки изомеризации: / тАФ насос; 2 тАФ теплообменник; 3 тАФ реактор; 4 тАФ печь; 5 тАФ аппарат воздушного охлаждения; 6 тАФ холодильник; 7тАФ сепаратор водородсодержащего газа; 8тАФ компрессор водородсодержащего газа; 9 тАФ адсорбер-осушитель газа; 10 тАФ стабилизационная колонна; // тАФ сепаратор углеводородного газа; 12 тАФ кипятильник; 13 тАФ абсорбер изопен-тана; I тАФ сырье; II тАФ водород; III тАФ топливный газ; IV тАФ дымовые газы; V тАФ сухой воздух для регенерации адсорбента; VI тАФ влажный воздух; VII тАФ пар; VIII тАФ стабильный изомеризат; IX тАФ насыщенный абсорбент; X тАФ гексановая фракция (абсорбент); XI тАФ жирный газ; XII тАФ вода
Парогазовая смесь продуктов реакции охлаждается и конденсируется в аппаратах воздушного охлаждения 5 и водяном холодильнике 6. В газовом сепараторе 7 отделяется водородсодержащий газ, который, смешиваясь со свежим водородсодержащим газом II, проходит адсорбер 9, заполненный цеолитом для удаления влаги. Осушенный газ поступает на прием компрессора 8. Нестабильный изомеризат забирается из нижней части сепаратора 7, подогревается в теплообменнике 2 и подвергается стабилизации в колонне 10, из верхней секции которой уходит углеводородный газ XI, а из нижней тАФ стабильный изомеризат VIII, направляемый на разделение на ЦГФУ.
Изопентан дополнительно извлекается из углеводородного газа гексановой фракцией X, поступающей с ЦГФУ, в абсорбере 13. Насыщенный абсорбент IX возвращается для переработки на центральную газофракционирующую установку.
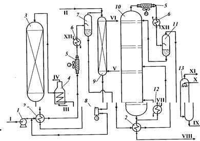
Технологическая схема каталитического крекинга
Целевым назначением процесса является получение высококачественного бензина с октановым числом, определенным исследовательским методом (ОЧИ), 90тАФ92. При каталитическом крекинге образуется значительное количество газа, богатого бутан-бутиленовой фракцией (сырье для производства высокооктанового компонента бензина). Установки каталитического крекинга являются также поставщиком сырья для химической промышленности: из газойлей каталитического крекинга получают сажевое сырье и нафталин; тяжелый газойль может служить сырьем для производства высококачественного ВлигольчатогоВ» кокса. установки каталитического крекинга с шариковым катализатором и с микросферическим катализатором. Установки с шариковым катализатором производительно-тью 750 тыс. т в год в настоящее время выводятся из эксплуатации. Установки с микросферическим катализатором производительностью 2 млн т в год.
Сырье I после гидроочистки подогревается в печи 11 и поступает к основа-нию лифта-реактора 9. Температура в реакторе 515тАФ545 В°С, время контакта сырья с катализатором несколько секунд. Сюда же из регенератора 7 ссыпается регенерированный катализатор и в низ реактора подается водяной пар VI. Катализатор, взвешенный в смеси паров сырья и водяного пара, через решетку на конце лифта-реактора 9 попадает в отпарную секцию 10. Там пары продуктов крекинга отделяются от катализатора, который ссыпается вниз отпарной секции. Для повышения эффективности отпаривания нижняя часть отпарной секции снабжена перегородками. Отпаренный катализатор самотеком поступает в регенератор 7. Воздух II на регенерацию подают компрессором 1; температура регенерации 700 В°С, давление 2,5 МПа, интенсивность выжигания кокса примерно 80 кг/ч, скорость газов над слоем катализатора 0,9тАФ1,0 м/с. В регенераторе отсутствуют паровые змеевики для отвода избыточного тепла, и тепловой баланс реакторного блока регулируют, изменяя количество воздуха II, подаваемого через распределительное устройство 6. Дымовые газы и воздух подаются в регенератор раздельно, что позволяет регулировать скорость регенерации катализатора.
Продукты сгорания IV проходят котел-утилизатор 5 и электрофильтр 4. Конечное пылесодержание газов не превышает 80 мг/нм3. Пары продуктов крекинга поступают в нижнюю часть ректификационной колонны 13.
Из верхней части этой колонны уходят пары бензина XI, углеводородный газ XII и водяной пар. Нижняя часть колонны 13 является отстойником катализаторного шлама XIII, который возвращается в отпарную секцию 10. Отстоявшийся от шлама жидкий остаток VIII выводят из колонны. Этот остаток состоит в основном из тяжелых полициклических ароматических углеводородов, склонных к коксообразованию. Он нежелателен как компонент сырья для крекинга, но является идеальным сырьем для получения ВлигольчатогоВ» кокса (если крекингу подвергать сырье с умеренным содержанием серы). Избыточное тепло в колонне снимают цир- кулирующим внизу колонны крекинг-остатком, это тепло используют для получения водяного пара. На установке предусмотрены две отпарные колонны 15 и 16 соответственно для легкого X и тяжелого IX каталитических газойлей.

Схема установки каталитического крекинга: / тАФ компрессор; 2 тАФ топка под давлением; 3 тАФ катализаторная емкость; 4 тАФ электрофильтр; 5 тАФ котел-утилизатор; 6 тАФ распределительное устройство; 7 тАФ регенератор; 8 тАФ циклон; 9 тАФ лифт-реактор; 10тАФ отпарная секция; // тАФ печь; 12тАФ теплообменник; 13 тАФ ректификационная колонна; 14тАФ сепаратор; 15, 16тАФ отпарные колонны; 17тАФ насос; I тАФ сырье; II тАФ воздух; III тАФ топливный газ; IV тАФ дымовые газы; V тАФ вода; VI тАФ пар; VII тАФ циркулирующий остаток; VIII тАФ остаток >420 В°С; IX тАФ тяжелый газойль; X тАФ легкий газойль; XI тАФ бензин; XII тАФ газ; XIII тАФ катализаторный шлам
Для увеличения глубины крекинга установка может работать с рециркуляцией промежуточных фракций. Их отводят из колонны к основанию лифта-реактора. На установке широко используется воздушное охлаждение, что сокращает объем оборотной воды на заводе.
Рынок сбыта
Экспортом нефти данного месторождения, а так же ее переработкой занимается компания Saudi Aramco тАФ национальная нефтяная компания Саудовской Аравии. Крупнейшая нефтяная компания мира по показателю добычи нефти и размеру нефтяных запасов. Также, по оценке газеты ВлFinancial TimesВ», является крупнейшей компанией в мире по стоимости бизнеса ($781 млрд). Штаб-квартира тАФ в Дахране. ВлSaudi AramcoВ» контролирует месторождения с запасами нефти примерно 260 млрд баррелей (99 % запасов Саудовской Аравии), что составляет около четверти мировых разведанных запасов нефти. Имеет большое влияние в ОПЕК. Компания контролирует добычу природного газа на территории страны, владеет современными нефте- и газоперерабатывающими заводами. Компания имеет филиалы, совместные предприятия и дочерние компании в Китае, Японии, на Филиппинах, Республике Корея, Сингапуре, Объединенных Арабских Эмиратах, США и Великобритании. Компании принадлежит флот современных супертанкеров. У ВлSaudi AramcoВ» имеется совместное предприятие с российской нефтяной компанией ВлЛУКОЙЛВ» тАФ ВлLukoil Saudi Arabia Energy Ltd.В» (LUKSAR). В начале 2007 года это СП обнаружило коммерческие залежи природного газа на блоке А, расположенном в восточной части нефтегазоносного бассейна Руб аль-Хали (к югу от крупнейшего в мире нефтяного месторождения Аль-Гавар). Между правительством Саудовской Аравии и ВлLUKSARВ» подписан договор о разработке этого блока на срок до 40 лет (общий объём инвестиций в проект, как ожидается, составит около $2 млрд.). По данным компании в 2006 году ее добыча составляла 8,9 млн баррелей нефти в день, что соответствует 443,1 млн тонн нефти в год.
Заключение
В заключении следует сравнить месторождение Гавар с Астраханским газоконденсатным месторождением.
Краткая характеристика Астраханского газоконденсатного месторождения
Астраханское газоконденсатное месторождение расположено в юго-западной прибортовой зоне Прикаспийской впадины, в 60 км к северо-востоку г. Астрахани. Открыто в 1976 году разведочной скважиной № 5-А. Залежь приурочена к сложному по строению карбонатному массиву, представленному известняками башкирского яруса среднего 40 км, тип массивно тАФ пластовый. Глубина залегания карбона. Астраханское газоконденсатное месторождение тАФ крупнейшее в Европе. Его запасы оцениваются в 2,5 трлн м3 газа и 400 млн т конденсата (с высоким содержанием сероводорода). Размеры залежи 100х40 км, кровли продуктивного пласта 3827-3990 м. Этаж газоносности до 250 м. Газо-водяной контакт тАФ на глубин
Вместе с этим смотрят:
"Стена безопасности" между Израилем и Палестиной
"Хезболла" как инструмент ИРИ в эскалации арабо-израильского конфликта
"Холодная война": идеологические и геополитические факторы ее возникновения
"Этап реформ" в Саудовской Аравии
Globalization and Hospitality Industry


