Разработка технологического процесса механической обработки детали
Целью данного дипломного проекта является усовершенствование базового технологического процесса механической обработки детали "Шестерня ведомая" трактора МТЗ тАУ 50 и разработка методического обеспечения темы "Обработка цилиндрических и конических поверхностей" предмета "Трудовое обучение". По педагогической части дипломного проекта необходимо разработать урок с применением активных форм, методов и средств обучения, а также дать обоснование их применения. Обработать учебный материал темы и составить структурологическую схему материала. Разработать методику преподавания данной темы, а именно: технологическую карту урока и план урока. Также необходимо разработать средства обучения необходимые для осуществления учебного процесса.
По инженерной части дипломного проекта необходимо ввести изменения в уже имеющийся базовый техпроцесс, т.е. применить более прогрессирующие методы обработки и обосновать их применение. Необходимо рассчитать режимы резания, технологические нормы времени и коэффициент загрузки каждого станка. В экономическом разделе необходимо произвести расчет себестоимости изготовления детали, а также определить экономическую целесообразность изготовления детали по разработанному технологическому процессу. В разделе "Охрана труда" необходимо выявить временные производственные факторы и предложить меры по их ликвидации, а также разработать технику безопасности на участке изготовления детали и противопожарные мероприятия. Исходными данными для разработки дипломного проекта являются годовая программа
N = 150000 шт., чертежи детали и базовый техпроцесс.
1. ПЕДАГОГИЧЕСКАЯ ЧАСТЬ
1.1. Дидактический анализ темы урока
Согласно школьной программы предмет "Трудовое обучение" изучается в 5-9 классах. Программы состоят из следующих разделов:
технология обработки древесины;
технология обработки металла;
бытовые ремонтные работы.
На их изучение в каждом классе отводится 68 часов в год. Технология обработки металлов тАУ один из наиболее традиционных разделов программы трудового обучения в средней школе. Работы по металлу не требуют особенно больших помещений и специальных условий; как правило оборудование для металлообработки обеспечивается действующей системой снабжения школ. На изучение раздела "Обработка металлов" курса средней школы за 9 класс предусмотрено программой 24 часа. Из них 10 часов отводится на формирование знаний, умений и навыков при работе на токарно-винторезных станках ТВ-6. Для изучения предлагаются следующие темы:
1. "Точность обработки и качество поверхности" тАУ 2ч.
2. "Основные сведения о процессе резания" тАУ 2ч.
3. "Механическая подача суппорта токарно-винторезного станка ТВ-6" тАУ 2ч.
4. "Обработка цилиндрических и конических поверхностей" тАУ 4ч.
Из вышеперечисленных тем видно, что изучение данного подраздела идет от простого к сложному, от теории к практике. Согласно календарно-тематическому плану тема "Обработка цилиндрических и конических поверхностей" изучается в третьей четверти на 5 тАУ 6-ом занятиях. Первое занятие проводится в форме комбинированного урока с изучением теоретических и практических знаний и умений по материалу данной темы. Второе занятие тАУ практическое, связанное с выполнением комплексной работы (изготовление пробойника). Наибольшую сложность при изучении материала данной темы у учащихся вызывает переналадка станка на обрабатывание конической поверхности, в то время как основной материал является повторением ранее изученного в 7-ом и 8-ом классах. Знания, полученные на уроках: физики ("Свойства твердых тел"), черчения ("Тела вращения", "Уклоны и конусность"), математика ("Геометрическое тело") нужно применить при изучении данной темы.
Выполнение учащимися практических работ способствует формированию технического мышления и навыков работы с технической документацией.
1.2. Знания и умения формируемые при изучении темы
При планировании урока были выдвинуты следующие дидактические цели:
- Сформировать знания по теме "Обработка цилиндрических и конических поверхностей".
- Сформировать первоначальные умения по выполнению данных операций токарной обработки.
- Развивать техническое мышление.
На основании вышеизложенных дидактических целей необходимо сформировать следующие умения: управление станком, осуществление наладки станка на обработку цилиндрических и конических поверхностей, пользоваться измерительным инструментом. При проведении вводного инструктажа на этапе актуализации прежних знаний по теме "Механическая подача суппорта токарно-
винторезного станка" учащиеся закрепляют знания об устройстве механизмов, обеспечивающих данную подачу: гитары, коробки подач, зубчатых передач фартука. При изучении нового материала у учащихся формируются знания по наладке станка: крепление заготовки, установка режущего инструмента, установка режимов резания. Учащиеся также изучают способы обработки конической поверхности, а также особенности наладки станка на данную операцию. На протяжении текущего инструктажа тАУ самостоятельной работы учащихся формируются умения работы с технической документацией, а именно с инструкционно-технологическими картами. В результате выполнения практической работы у учащихся формируются умения выполнять наладку станка, вести обработку с использованием как ручной, так и механической подачи, пользоваться измерительным инструментом, осуществлять переход от одной обработки на другую, соблюдая технологии ее выполнения. Также воспитываются чувства ответственности и самоконтроля за качество выполнения задания. При изучении тем, связанных с механической обработкой металла, у учащихся развивается технической мышление, навыки работы с технической документацией, что в некотором роде может являться профессиональной ориентацией при выборе будущей профессии.
1.3. Логическая структура учебного материала темы
Изучение и анализ учебной литературы тАУ один из видов деятельности преподавателя при подготовке к занятиям по предмету. Успешность этой деятельности во многом определяется его умением выделить логическую структуру учебного материала.
Под логической структурой учебного материала понимают ".. систему внутренних связей между понятиями и суждениями, входящими в данный отрезок материала". При поурочном планировании объектом изучения являются только локальные структуры, рассматривающие систему внутренних связей между понятиями и суждениями, входящими в относительно небольшие фрагменты учебного материала, ограниченные содержанием всего урока или его части. Изучение структуры учебного материала и ее анализ на основе только простого перечисления понятий, входящих в тему, невозможен. Поэтому возникает необходимость построения модели, отражающей в наглядной форме интересующие преподавателя свойства учебного материала: последовательность, подчиненность и соподчиненность понятий, входящих в материал, их непротиворечивость и закономерность связи между ними. Подобные изображения логической структуры учебного материала называются структурно-логическими схемами. При их создании необходимо соблюдать следующие правила:
- в каждую вершину графа (система отрезков, соединяющих заданные точки, которые называются вершинами) следует помещать только одно понятие;
- ребра, соединяющие вершины, не должны пересекаться;
- отношения подчинения между понятиями указываются направлением стрелки на ребре графа;
- равнозначные вершины графа, содержащие соподчиненные понятия, следует располагать на одной линии, подчиненные опускают на ступень ниже.
Построение структурно-логической схемы.
Начинается построение с понятийного анализа учебного материала и выделения исходных понятий. Среди них могут быть новые и уже известные для учащихся понятия.
Усваиваемые понятия могут быть основными (опорными) и вспомогательными, раскрывающими или детализирующие основные понятия. На основании вышеизложенного была построена структурно-логическая схема на тему "Обработка конических и цилиндрических поверхностей". Построение структурно-логических схем представляет собой один из приемов отбора и систематизации учебного материала, реализующий принципы научности, систематичности и последовательности обучения, доступности и наглядности. Так, при систематизации и закреплении знаний учащихся либо самостоятельно, либо с помощью преподавателя могут составить наглядную "картину" новых знаний.
1.4. Обоснование формы методов и средств обучения
Основной формой организации учебной работы учащихся является урок. Для наиболее качественного изучения материала темы был выбран комбинированный, так как это наиболее эффективный и распространенный вид урока, в ходе которого учитель повторяет с учащимися ранее пройденный материал, сообщает и закрепляет новые знания. Комбинированный урок был построен по следующей схеме:
- повторение пройденного учебного материала;
- сообщение новых знаний по теме урока;
- закрепление изложенного материала программы;
- задание на дом.
Каждый элемент играет определенную роль и преследует конкретную цель.
Рассмотрим этапы урока по мере использования методов и средств обучения.
Для реализации организационной части урока был использован словесный метод обучения тАУ беседа, т.к. основной целью данного этапа является подготовка учащихся к уроку и изучению новой темы.
Вводный инструктаж состоит из нескольких частей. Актуализация прежних знаний учащихся по теме "Механическая подача суппорта токарно-винторезного станка ТВ-6" осуществляется путем применения словесных методов обучения тАУ беседы с элементами дискуссии, т.к. целью данной части вводного инструктажа является повторение прежних знаний и плавный переход к изучению нового материала темы. Учитель задает классу теоретические вопросы, на которые учащиеся должны отвечать, сопровождая ответ демонстрацией отдельных узлов и механизмов ТВ-6. На втором этапе вводного инструктажа при изложении нового материала темы "Обработка цилиндрической и конической поверхности" применяем группу методов обучения тАУ словесные, наглядные и практические. Изложение нового материала идет в форме беседы с классом, которая сопровождается применением технических средств обучения тАУ графопроектора. Комплект транспарантов (Транспарант №1 - №6) в определенной последовательности предлагается вниманию учащихся, что позволяет учителю сэкономить учебное время и сосредоточить внимание учеников на более сложных элементах материала. Демонстрация транспарантов №2 ("Схема обработки цилиндрической поверхности"), №3 ("Таблица режимов работы станка"), №4 ("Методы обработки конуса") сопровождается показом трудовых приемов учителем для более наглядного и подробного изучения данных операций. Третий этап вводного инструктажа тАУ закрепление нового материала. На данном этапе идет обсуждение предстоящей практической работы учащихся по инструкционно-технологическим картам: карта №1 ("Обтачивание заготовки за один проход"), карта №2 ("Обработка конической поверхности"). Целью данного этапа является закрепление теоретических знаний нового материала посредством изучения технической документации. Так как данная работа проходит в форме диалога, то применяем метод беседы.
Основной частью текущего инструктажа является закрепление знаний и умений путем выполнения практической работы. На данном этапе учитель контролирует работу учащихся: следит за соблюдением ТБ; контролирует соблюдение технологии; следит за самостоятельностью выполнения задания. Работа осуществляется согласно инструкционно-технологическим картам №1 и №2 на станке ТВ-6.
Целью заключительного инструктажа является подведение итогов практической работы учащихся. Требуется указать общие ошибки, допущенные при выполнении работы, продемонстрировать лучшие работы. При выдаче домашнего задания учитель демонстрирует плакаты "Токарная обработка пробойника", знакомя учащихся с практическим заданием на следующий урок. Для проведения заключительного инструктажа воспользуемся методом беседы так как общение с учащимися проходило в форме диалога.
1.5. Разработка технологии обучения
1.5.1. План урока
Тема: "Обработка цилиндрических и конических поверхностей" 9 класс.
Цель урока:
1) Сформировать знания по теме "Обработка цилиндрических и конических поверхностей".
2) Сформировать первоначальные умения и навыки по выполнению данных токарных операций.
3) Развить техническое мышление.
Оборудование: станок ТВ-6, графопроектор, набор резцов, штангельциркули, инструкционно-технологические карты, операционная карта, транспаранты.
Время тАУ 2 часа.
Ход урока
РЖ тАУ организационная часть
1) Подготовить учащихся к уроку.
2) Заполнить учебную документацию.
РЖРЖ тАУ вводный инструктаж
1. Актуализация прежних знаний по теме "Механическая подача суппорта ТВ-6".
Вопросы для повторения.
- Какие механизмы участвуют в механической подаче суппорта?
- Каково их назначение?
- За счет чего в коробке подач достигается изменение подачи?
- Каково назначение червячной передачи?
- Как осуществляется механическая подача суппорта?
2. Изложение нового материала
Вопросы для изложения
- Оборудование.
- Технология обработки цилиндрических поверхностей.
- Технология обработки конических поверхностей.
- Особенности обработки конуса на ТВ-6.
3. Закрепление нового материала.
Выполнение практической работы по инженерно-технологическим картам.
Инструктаж по ТБ.
РЖРЖРЖ тАУ текущий инструктаж
1. Следить за соблюдением ТБ.
2. Контролировать соблюдение технологии.
3. Совершать целевые обходы.
4. Следить за самостоятельностью выполнения задания.
IV тАУ заключительный инструктаж
1. Проверить выполнение работ.
2. Выделить лучшие работы.
3. Указать на общие ошибки.
4. Выдать домашнее задание.
1.5.2.Технологическая карта урока
| № п/п | Этапы урока | Методы обучения | Деятельность | Средства обучения | Обору-дование | |
| Учителя | учащихся | |||||
| 1 | 2 | 3 | 4 | 5 | 6 | 7 |
| 1 | Организационная часть | Беседа | 1 Проверить отсутствующих. 2 Назначить дежурных. 3 Заполнить учебную документацию | Подготавливаются к уроку. Одевают спецодежду. Занимают рабочие места. | ||
2 1 | Вводный инструк-таж 1 Актуа-лизация прежних знаний 2 Изло- жение нового матерала 2 3. закреп-ление но-вого мате-риала | Беседа с элемен-тами дис-куссии Беседа Метод де-монстра-ции 3 Метод де-монстра-ции и метод показа трудовых процессов Метод де-монстра-ции Беседа Метод де-монстра-ции и по-каз трудо-вых прие-мов Метод де-монстра-ции Показ трудовых приемов Метод де-монстра-ции Беседа | 1 Задает вопросы для обсуждения: - Какие механизмы участвуют в механической подаче суппорта? - Каково их назначение? - За счет чего в коробке подач достигается изменение подачи? - Каково назначение червячной передачи? - Как осуществляется механическая подача суппорта? Задает вопросы учащимся: 1 Назначение ТВ-6 2 Устройство ТВ-6 Демонстрирует транспа-рант №1 "Обозначение уклона и конусности на чертеже". 4 Демонстрирует транспа-рант №2 "Схема обработки цилиндрической поверхности". Демонстрирует транспа-рант №3 "Таблица режи-мов работы станка". Задает вопрос: - Как осуществляется контроль качества при помощи лимба поперечной подачи и штангельциркуля Демонстрирует транспа-рант №4 "Методы обра-ботки конуса". Изображе-ния графопроектора сов-мещают с показом трудо-вых приемов по наладке станка (поворот верхних салазок суппорта на опре-деленный угол). Демонстрирует транспа-рант №5 "Выбор метода обработки конуса" Демонстрирует трудовые действия по обработке конуса. Демонстрирует транспа-рант №6 "Контроль качес-тва конической поверх-ности". Раздает инструкционно-технологические карты. Обсуждает ход выполне-ния работы, инструктирует по правилам ТБ. | Отвечают на вопросы, демонстрируя ответы на станке ТВ-6. Исправляют друг друга. Вспоминают устрой-ство и назначение ТВ-6. Отвечают на вопросы. Анализируют изобра-жение графопроектора. Вспоминают, что такое конус, цилиндр и обозначение их на чертеже. 5 Повторяют знания по установке инструмента и заготовки Анализируют изобра-жение графопроектора. Вспоминают как уста-навливаются режимы резания и механическая подача станка ТВ-6 Вспоминают цену деле-ния лимба и установку глубины резания отно-сительно измерений штангельциркуля. Внимательно слушают объяснения учителя и конспектируют после-довательность выпол-нения наладки станка. Задают вопросы попут-но объяснению. Анализируют изобра-жения графопроектора. Обсуждают, выносят свои мнения. При необ-ходимости исправляют друг друга. Внимательно наблюда-ют за действиями учи-теля. Задают попутные вопросы. Анализируют изобра-жения графопроектора. Вспоминают правила работы с угломером Ознакамливаются с конструкционно- тех-нологическими картами Задают вопросы по полученному заданию. | Транспо-рант №1 6 Транспо-рант №2 Транспо-рант №3 Транспо-рант №4 Транспо-рант №5 Транспо-рант №6 Инструк-ционно-техноло-гические карты №1, №2. | Станок ТВ-6 Графо-проек-тор 7 Графо-проек-тор Графо-проек-тор Станок ТВ-6 Графо-проек-тор, станок ТВ-6, ком-плект инстру-ментов. Графо-проек-тор. Станок ТВ-6 Графо-проек-тор. |
| 1 | 2 | 3 | 4 | 5 | 6 | 7 |
| 3 | Текущий инструк-таж | Упраж-нения в трудовых дей-ствиях | Следит за соблюдением правил ТБ., контроли-рует соблюдение техно-логии, совершает целе-вые обходы, следит за самостоятельностью вы-полнения задания | Выполняют задание согласно инструкци-онно-технологичес-ких карт. Проверяют качество. При необ-ходимости задают вопросы учителю. | Инструк-ционно-техноло-гические карты №1, №2. | Станок ТВ-6, ком-плект инстру-ментов, набор резцов, заготовка пру-ток Ø12 L=65 |
| 4 | Заключи-тельный инструк-таж | Беседа | Проверяет выполнение работы, демонстрирует лучшие работы, указы-вает общие ошибки, демонстрирует задание на следующее занятие. | Анализируют допу-щенные ошибки. Задают вопросы учи-телю по выполнен-ной работе. Знако-мятся с практичес-ким заданием на сле-дующее занятие. | Работы учащихся плакат "Опера-ционная карта из-готовле-ния про-бойника" | |
2. ИНЖЕНЕРНАЯ ЧАСТЬ
2.1. Назначение и условия работы детали
Коробка перемены передач предназначена для изменения передаточных чисел трансмиссии и обеспечения реверса и, тем самым, получения различных скоростей движения трактора МТЗ-50 передним и задним ходом.
Кроме того, конструкция коробки передач обеспечивает привод переднего моста, синхронного заднего и бокового валов отбора мощности, а также предусматривает возможность получения пониженных скоростей при установке ходоуменьшителя.
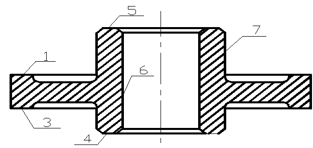
Рассматриваемая деталь 1 тАУ ведомая шестерня 50-1701216 расположена на шлицах полого, промежуточного вала 2 и закреплена на нём неподвижно, само колесо в процессе работы входит в зацепление с ведущей шестерней 4, сидящей на шлицах ведущего вала 5.
Эскиз сборочной единице представлен на рисунке 2.1.
Шестерня ведомая изготавливается из стали 25ХГТ ГОСТ 4543-71, химический состав и механические свойства которой представлены в табл.1.1. Данная деталь является цилиндрическим прямозубым зубчатым колесом и предназначена для передачи вращательного движения между валами с параллельными осями вращения. Зубчатая передача, в состав которой входит рассматриваемая деталь является силовой, т.е., служит для передачи крутящего момента с изменением частоты вращения валов.
Таблица 2.1. тАУ Химический состав и механические свойства стали 25ХГТ ГОСТ 4543-71
| Химический состав | |||||||||
| С, % | Сr, % | Mn, % | Ti, % | Si, % | S, % | P, % | |||
| 0,22-0,28 | 1,00-1,30 | 0,80-1,10 | 0,06-0,12 | 0,17-0,37 | <0,040 | <0,040 | |||
| Механические свойства | |||||||||
Gв, МПа | Gт, МПа | δ, % | Ψ, % | ||||||
| 600-620 | 360-380 | 25-28 | 28-30 | ||||||
Gв тАУ предел прочности;
Gт тАУ предел текучести;
δ ,Ψ тАУ относительное удлинение и относительное сужение соответственно.
Основными причинами, вызывающими выход из строя шестерни являются: износ поверхностей зубьев, усталостные разрушения, связанные с явлением питтинга контактирующих поверхностей.


Рисунок 2.1. тАУ Эскиз сборочной единицы (КПП трактора МТЗ-50).
2.2. Анализ технологичности конструкции детали
2.2.1.Качественная оценка технологичности конструкции
Шестерня ведомая изготовлена из стали 25ХГТ и проходит термическую обработку, которая приводит к короблению детали при нагреве и охлаждении. В этом отношении перемычка, связывающая тело зубчатого венца и ступицу, расположена неудачно, так как при термической обработке возникнут односторонние искажения. Зубчатый венец уменьшится в размерах и вызовет сжатие ступицы с левого торца. Таким образом отверстие приобретёт коническую форму, что скажется на характере искажения зубчатого венца. Это в свою очередь приводит к обязательной калибровки шлицевого отверстия после термической обработки.
С точки зрения механической обработки зубчатые колёса вообще нетехнологичны, так как операции нарезания зубьев со снятием стружки производится в основном малопроизводительными методами. Применение пластического формообразование затруднено из-за недостаточной жёсткости обрабатываемой шестерни.
Наличие выступа относительно зубчатого венца на левом торце неизбежно приведёт к тому, что при одновременной обработке двух деталей зубофрезерованием между ними придётся установить прокладку в виде кольца, что соответственно увеличит длину резания и, следовательно, приведёт к снижению производительности процесса. Кроме того это приведёт к тому, что на нижнем торце верхней детали при зубофрезеровании образуются заусенцы, которые нужно будет снять.
Положительным следует считать наличие двух фасок в шлицевом отверстии, наружный диаметр которых больше наружного диаметра шлицевого отверстия. Это позволяет протягивать шлицевые отверстия после изготовления фасок, а торцы обрабатывать на многорезцовом станке. В этом случае резцы для подрезки торцов не будут доходить до шлицевого отверстия, что обеспечит хорошие условия резания (не на прерывистой поверхности) и, следовательно, высокую точность.
В целом применительно для деталей данного класса обрабатываемую шестерню можно считать достаточно технологичной, так как обеспечивается свободный доступ режущего и мерительного инструмента, хорошие условия отвода стружки и СОЖ, отсутствуют скрытые полости и высокоточные поверхности.
2.2.2. Количественная оценка технологичности конструкции
При количественной оценки технологичности детали, согласно методике изложенной в [ ], определяют значения следующих показателей:
1. Коэффициент унификации конструктивных элементов:
Ку.э. = Qу.э./Qэ = 9/13 = 0,69; (2.1)
где Qу. э и Qэ тАУ соответственно число унифицированных конструктивных элементов детали и общее, шт.;
2. Коэффициент применяемости стандартизованных обрабатываемых поверхностей:
Кп.ст. = Dо.с./Dм.о. = 7/10 = 0,7; (2.2)
где Dо.с. и Dм.о. тАУ соответственно число поверхностей детали обрабатываемых стандартным режущим инструментом, и всех, подвергаемых механической обработке поверхностей;
3. Коэффициент обработки поверхностей:
Кп.о. = Dм.о./Qэ = 10/13 = 0,77; (2.3)
4. Коэффициент использования материала:
Ки.м. = q/Q = 3,045/5 = 0,61; (2.4)
где q и Q тАУ соответственно масса детали и заготовки, кг;
5. Коэффициент применения типовых технологических процессов:
Кт.п. = Qт.п. / Qи = 3 / 4 = 0,75; (2.5)
где Qт.п. и Qи тАУ соответственно число типовых технологических процессов для изготовления детали и общее;
6. Масса детали тАУ 3,045,кг;
7. Максимальное значение квалитета обработки - 9;
8. Минимальное значение параметра шероховатости обрабатываемых поверхностей Ra тАУ 0,63.
Из полученных результатов видно, что значения коэффициентов использования материала и обработки поверхностей не высоки, что требует в отношении первого пересмотра способа получения заготовки. В пользу технологичности свидетельствуют достаточно высокие значения коэффициентов применяемости стандартизованных обрабатываемых поверхностей, коэффициента унификации, применения типовых технологических процессов и обработки поверхностей.
2.3. Определение типа производства
Тип производства по ГОСТ 3.1119-83 характеризуется коэффициентом закрепления операций. В соответствии с методическими указаниями РД 50-174-80, коэффициент закрепления операций для всех разновидностей серийного производства определяется:
Кзо = ∑Поi/ ∑Рi, (2.6)
где ∑Поi - суммарное число различных операций за месяц по участку из расчета на одного сменного мастера;
∑Рi - явочное число рабочих участка, выполняющих различные операции при работе в одну смену.
Условное число однотипных операций, выполняемых на одном станке в течении одного месяца при работе в две смены:
Поi = ηн / ηз , (2.7)
где ηн - планируемый нормативный коэффициент загрузки станка (0,75);
ηз - коэффициент загрузки станка проектируемой (заданной) операцией:
ηз = Тшт.Nм / (60FмКв), (2.8)
где Тш- штучно-калькуляционное время, необходимое для выполнения проектируемой операции, мин;
Nм - месячная программа выпуска заданной детали, шт.:
Nм = Nг / 12 = 150000 / 12 = 12500 шт, (2.9)
где Nг - годовой объем выпуска заданной детали, шт.:
Fм - месячный фонд времени работы оборудования в две смены, ч:
Fм = 4030 / 12 = 336 ч.
Следовательно:
Поi = 60 FмКв ηн / (Тшт.Nм), (2.10)
Необходимое число рабочих, для обслуживания одного станка (при работе в две смены):
Рi = ПоiТшт.Nм / (60FмрКв), (2.11)
где Fмр тАУ месячный фонд времени работы рабочего, Fмр = 176ч.
Результаты расчётов по приведенным выше зависимостям представлены в таблице 2.2.
Таблица 2.2. тАУ Результаты расчётов
| № операции | Тшт. | ηз | Рi | Поi |
| 005 | 1,94 | 0,60 | 1,43 | 0,81 |
| 010 | 0,77 | 0,48 | 1,43 | 2,04 |
| 015 | 1,26 | 0,79 | 1,43 | 1,25 |
| 020 | 9,22 | 0,96 | 1,43 | 0,17 |
| 025 | 1,24 | 0,77 | 1,43 | 1,27 |
| 040 | 1,80 | 0,56 | 1,43 | 0,88 |
| 045 | 2,57 | 0,80 | 1,43 | 0,61 |
| 050 | 0,45 | 0,28 | 1,43 | 3,49 |
| 055 | 0,39 | 0,24 | 1,43 | 4,03 |
| 065 | 0,97 | 0,60 | 1,43 | 1,62 |
| 100 | 1,14 | 0,71 | 1,43 | 1,38 |
| ∑ | 21,74 | 0,62 (ср.зн.) | 15,75 | 17,55 |
Тогда коэффициент закрепления операции равен:
Кзо = 17,55/ 15,75 = 1,1.
Производство крупносерийное.
Решение о целесообразности организации поточной формы производства обычно принимается на основании сравнений заданного суточного выпуска изделий и расчетной суточной производительности поточной линии при двухсменном режиме работы и ее загрузке 65-75%.
Заданный суточный выпуск изделий:
Nc = Nг / 257 , (2.12)
где 257 - количество рабочих дней в году.
Nc = 150000 / 257 = 583,65 шт.
Суточная производительность поточной линии:
Qc = Fcηз / Тср , (2.13)
где Fc- суточный фонд времени работы оборудования (при двухсменном режиме работы-960мин.);
Тср - средняя станкоёмкость основных операций, мин.
Средняя станкоёмкость операций:
Тср = ∑Тшт i / (nКв), (2.14)
где Тшт i -штучное время основной i-ой операции;
Кв - средний коэффициент выполнения норм времени;
n-количество основных операций.
Тср = 21,74 / (11 × 1,3) = 1,52.
Тогда:
Qc = 960 × 0,62 / 1,52 = 392 шт. (2.15)
Так как заданный суточный выпуск изделий больше суточной производительности поточной линии NcтАє Qc при условии ее загрузки на 65-75% то применение однономенклатурной поточной линии целесообразно.
Такт производства определяем по формуле:
τ = 60 Fэ / Nг = 60 × 4030 / 150000 = 1,61 мин. (2.16)
2.4. Выбор и экономическое обоснование метода получения заготовки
Согласно базовому варианту, заготовку получают на кривошипном горячештамповочном прессе, в открытых облойных штампах из прутка стали 25ХГТ диаметром 85 мм. Технологию получения заготовки можно представить в следующей последовательности:
1. Резка сортового проката, осуществляется на ножницах. Пруток предварительно нагревают ТВЧ, после отрезки получают цилиндр длиной 180
мм., массой 7,967 кг.
2. Загрузка разрезанного проката в накопитель перед нагревателем КИН-51.
3. Нагрев заготовки в нагревателе ТВЧ до температуры 1100 ¸1200 С0.
4. Транспортировка цепным транспортёром прутка к рабочей зоне пресса.
5. Штамповка на КГШП с усилием 25000 Н, температура штамповки 1200-900С0.
6. Транспортировка заготовки к ОГШП для обрезки облоя и прошивания отверстия, температура заготовки должна быть не менее 800-900С0, в противном случае требуется подогрев.
Масса заготовки после обрезки облоя составляет 5,6 кг. С учётом допускаемых отклонений на длину и диаметр проката масса обрезаемого облоя может колебаться в пределах 0,4 тАУ 0,7 кг., около 0,3 кг., составляет вес перемычки.Штамповка в открытых штампах характеризуется тем, что штампы в процессе деформации остаются открытыми. Зазор между подвижной и неподвижной частями является переменным, в него выдавливается металл при деформировании, образуя заусенец, что существенно увеличивает расход металла, кроме того для обрезки заусенца (облоя) необходимо применять специальные обрезные пресса и штампы. Исследования показали, что при обработке штампованных заготовок большая часть отходов 70-80% приходится на припуск и заусенец.
Одним из путей совершенствования метода получения заготовки является безоблойная штамповка, т.е., штамповка в закрытых штампах. Однако основной трудностью при его применении является повышенные требования к точности отрезаемого прутка по массе (объёму).
Эта задача может быть решена в случае применения специальных отрезных станков, в частности станков фирмы ВлКизерлингВ» (ФРГ) моделей НТ-62, НТ-125 и т.д.
Особенностью этих машин является то, что во время резки два охватывающих режущих инструмента, приводятся в движение от двух маховиков с кулачками. В результате двустороннего отрезного удара металл срезается ровно. Производительность 150-300 дет/мин, допуск на длину заготовки В± 0,15 мм. поверхность среза получается чистой без заусенцев. В этом случае колебание объёма отрезаемого прутка будет в значительно меньших пределах и эта погрешность может быть скомпенсирована за счёт изменения толщины перемычки. При этом для прошивки отверстия в заготовке можно будет применять менее мощные и, как следствие более дешёвые пресса. Кроме того, способ получения заготовки в закрытых штампах позволяет повысить точность штамповки, а это значит снизить припуски на механическую обработку и как следствие снизить трудоёмкость изготовления изделия.
В настоящее время себестоимость заготовки по заводскому варианту составляет 1355 руб. для определения целесообразности изменения способа получения заготовки воспользуемся методикой изложенной в [ ].
Себестоимость заготовки с достаточной степенью точности можно определить по приведенной ниже зависимости:
(2.17)
где Сi тАУ базовая стоимость 1т заготовок ,руб.;
Q тАУ масса заготовки, кг.;
kт, kc, kв, kм, kп, - Коэффициенты зависящие от класса точности, группы сложности, массы, марки материала и объема производства заготовок.
q тАУ масса готовой детали, кг.;
Sотх тАУ цена 1 т отходов, руб.;
С4 = 373000 руб.;
Q = 5 кг.;
kт = 1; kc = 0,77; kв = 0,88; kм = 1,21; kп = 0,8;
q тАУ 3,045 кг.;
Sотх = 25000 руб.;
руб.
Как видно из приведенных расчётов расчётная себестоимость заготовки получаемой в закрытых штампах ниже, экономия на материале составит при стоимости тонны стали 25ХГТ ГОСТ 4543-71 порядка 140884 .руб. и годовой программе выпуска шестерни 150000 шт. составит:
Эм = N г. × 0,6 = 150000 × 0,6 = 90000 кг. (2.18)
В денежном выражении:
Эд = Эм × 50000 = 90 × 140884 = 12,678 млн. руб. (2.19)
Кроме того, отпадает необходимость в оборудовании для обрезки облой, средняя стоимость пресса составляет 948520 руб. несложно подсчитать, что экономический эффект от внедрения предложенного метода без учёта стоимости пресса составит:![]()
, (2.20)
где Со',Co'' - технологические себестоимости сравниваемых операций, руб;
N - годовая программа ;
тыс. руб,
Значит применение предложенного метода экономически целесообразно.
2.5. Выбор технологических баз

Рисунок 2.2. тАУ Схема расположения базовых поверхностей
Точность обработки зубьев цилиндрических зубчатых колес в большой степени зависит от правильного выбора баз на зуборезных и зубоотделочных операциях и точности базовых поверхностей заготовок перед зубообработкой.
Базовыми поверхностями при обработке заготовок цилиндрических зубчатых колес могут быть поверхности, зависящие в первую очередь от конструктивных форм колес, требований к точности по техническим условиям и серийности выпуска.
При зубофрезеровании и зубошевинговании нашей шестерни за технологическую базу принимают отверстие 6, которое соответс
Вместе с этим смотрят:
РЖгрова дiяльнiсть в групi продовженого дня
РЖнновацiйнi методи навчання на уроках зарубiжноi лiтератури
РЖнтенсифiкацiя навчального процесу у вищiй школi