Технология GPRS
Цифровые беспроводные и сотовые технологии берут свое начало в 1940-х, когда началось коммерческое использование мобильной телефонной связи.
В начале 80-х годов в Европе существовало несколько конкурирующих стандартов аналоговой сотовой связи. В Европе к тому времени уже двадцать лет как существовал вполне подходящий инструмент для решения подобных вопросов тАУ CEPT. Конференция CEPT (Conference Europeenne des Administration des postes et des telecommunications, The European Conference of Postal and Telecommunications Administrations) была основана в 1959. Её деятельность в основном сводилась к урегулированию международных коммерческих и операционных вопросов и стандартизации в области связи.
В 1982 этом году CEPT создала Groupe Speciale Mobile для изучения будущей европейской системы сотовой связи. Встречаются упоминания о том, что эта группа была создана по предложению Nordic Telecom и Netherlands PTT. Позже аббревиатура GSM стала читаться как Global System for Mobile Communications.
Сегодня GSM-сети охватывают практически все густонаселённые районы земного шара. Стандарт успешно развивается, однако можно смело говорить о том, что эволюционный процесс в сети ещё не закончен. Разработчики заложили слишком много лазеек для роста GSM при его развитии. На данный момент сеть имеет определённый потенциал развития по абонентской базе, конкурентоспособности и предоставлению новых услуг.
Сети стандарта GSM умеют передавать данные. Изначально эта возможность закладывалась в них разработчиками в далеких 80-х годах прошлого века. Тогда никто и подумать не мог о развитии коммуникаций в ближайшие десятки лет. Сейчас GSM может предоставить вполне конкурентоспособные сервисы, которые выведут абонентов во Всемирную Паутину и позволят переслать факсимильное или е-mail сообщение. Сеть GSM даёт пользователю возможность вывести свой компьютер в Интернет, используя сотовый телефон как устройство передачи данных. Кроме этого, современный мобильный телефон сам является web-браузером, ICQ-клиентом и даже файл-сервером.
Современный сотовый мир развивается очень быстро, и уследить за всеми нововведениями порой просто невозможно. С другой стороны, только грамотные пользователи могут использовать сотовую связь с максимальной выгодой для себя. Предупреждён тАУ значит вооружён.
1. Структура и развитие сети "GSM Казахстан"
ТОО "GSM Казахстан ОАО "Казахтелеком" тАУ казахстанский оператор сотовой связи стандарта GSM 900 был основан 30 сентября 1998 года. Акционерами "GSM Казахстан" являются национальный оператор связи.
АО "Казахтелеком" и финская компания "FinTur". Основное направление деятельности тАУ предоставление сотовой сети GSM900 и обеспечение высококачественной связи.
Коммерческий пуск сети "GSM Казахстан" состоялся 6 февраля 1999 года с торговой маркой "K'Cell". Запуск карточной сотовой "Activ", которая является ещё одной торговой маркой компании, состоялся 9 сентября 1999 года.
На сегодняшний день количество абонентов сети "GSM Казахстан" составляет более 3 миллионов человек. Сеть "GSM Казахстан" работает более чем в 194 населенных пунктах Казахстана. Компания предоставляет услугу международного автоматического роуминга с 224 операторами в 101 стране мира.
Покрыты трассы: Астана-Караганда протяженностью 250 км, Алматы-Георгиевка (трасса на Бишкек) 250 км, Алматы-Талдыкорган 250 км, Астана-Кокшетау 300 км, Алматы-Шымкент протяженностью 600-700 км, Астана-Павлодар 600 км, Балхаш-Караганда 200 км, Кокшетау-Костанай 600 км. В будущем покрытие дорог РК будет продолжено в соответствии с планами развития сети "GSM Казахстан", включая покрытие населенных пунктов, расположенных вдоль трасс.
Постоянно расширяется спектр дополнительных услуг, предлагаемых абонентам компании. В них входят гороскоп, курсы валют, погода, расписание кинотеатров, программа телевидения, логотипы, мелодии, графические открытки, словарь, шутки и многое другое.
23 ноября 2004 года первой среди отечественных операторов, компания "GSM Казахстан" осуществила революционный прорыв в сотовой связи Республики Казахстан и открыла для своих абонентов услуги, основанные на технологии "EDGE" (Enhanced Data for GSM Evolution). Ввод "EDGE" является существенным шагом на пути модернизации сети "GSM" в сеть связи третьего поколения. Внедрение технологии "EDGE" позволит "GSM Казахстан" поднять сервис мобильной связи на качественно новый уровень. Благодаря технологии "EDGE", в значительной мере увеличивающей скорость передачи данных (до 200Кбит/с., что в 2-3 раза быстрее GPRS), абоненты уже в ближайшем будущем смогут воспользоваться всеми преимуществами услуг третьего поколения.
Руководство компании ТОО "GSM Казахстан ОАО "Казахтелеком" базируется в городе Алматы. Там же сосредоточен основной административный и технический персонал.
В состав "GSM Казахстан ОАО "Казахтелеком" входят следующие департаменты:
- административный департамент;
- департамент Главного исполнительного директора;
- департамент маркетинга;
- департамент по работе с клиентами;
- департамент по управлению человеческими ресурсами;
- департамент продаж;
- департамент информационных технологий;
- технический департамент;
- финансовый департамент;
- юридический департамент.
Состав Технического департамента:
- отдел планирования сети;
- отдел сектора передачи данных;
- отдел инженеров базовых станций;
- отдел радио поддержки;
- отдел энергетиков;
- отдел инженеров климатического контроля.
"GSM Казахстан" использует коммутационное оборудование тАУ "Ericsson". Сегодня сеть компании включает 2 HLR, 13 коммутаторов (MSC), 19 контроллеров базовых станций (BSC) и рассчитана на 3,5 миллиона абонентов. Причем, используется перспективная версия MSC Ericsson AXE-10.
Сеть Карагандинской области обеспечивает коммутационная система, состоящая из одного коммутатора MSC и двух контроллеров BSC.
Связь с коммутатором более высокого уровня, расположенного в Алматы осуществляется посредством арендуемых двухмегабитных каналов на оптическом волокне ОАО "Казахтелеком".
В качестве исследуемой области выберем сектор сети базовых станций "GSM Казахстан", расположенный на юго-востоке города Караганды.
На данный момент в секторе работают 7 станций Ericsson RBS2206, обеспечивающие покрытие описываемого района города.
В состав параметров станции входят:
- наименование станции тАУ присваивается на стадии составления проекта новой базовой станции;
- координаты станции тАУ в данном случае географические координаты расположения антенн сотовой связи;
- альтитуда тАУ абсолютная высотная отметка земной поверхности на месте расположения объекта;
- высота здания или вышки над земной поверхностью, на которых установлены антенны сотовой связи;
- высота расположения секторных антенн базовой станции над земной поверхностью;
- конфигурация базовой станции тАУ устанавливаемая приемо-передающая емкость на каждом из трех секторов покрытия базовой станции;
- высота подвеса радио релейных антенн тАУ высота установки радио релейных антенн над земной поверхностью.
Координаты и альтитуды объектов, на которых установлены или планируется установить базовые станции, определяются с помощью ручных навигаторов GPS (Global Position System). В нашем случае это Garmin GPS 60 в соответствии с рисунком 1.1. После чего данные вносятся в персональный компьютер (ПК). Импорт данных, их обработку и визуализацию осуществляет компьютерная программа "Map Source". Интерфейс программы с местоположениями станций сотовой связи.
Данная программа дает представление о взаимоположении станций на карте, а также позволяет определить прямые расстояния между станциями и азимуты направления антенн сотовой связи.

Рисунок 1.1 тАУ Ручной навигатор Garmin GPS 60
Высота установки антенн сотовой связи замеряется ручным лазерным дальномером.
Все эти данные находят отражение в санитарном паспорте базовой станции "GSM Казахстан" при регистрации и получении разрешения на использование радиочастотного спектра.
На обследуемом секторе сети сотовой связи базовые станции работают с максимальной загрузкой, о чем свидетельствует рабочая конфигурация станций. В часы пик наблюдаются перегрузки, что свидетельствует о недостаточной емкости сотовой сети в данном секторе. Чтобы исправить создавшееся положение инженер отдела планирования составляет проект дополнительных станций сотовой связи, которые необходимо смонтировать в данном секторе сети. Благодаря этому в секторе повысится емкость по обслуживанию абонентов сотовой связи, а также улучшится и увеличится покрытие сектора сети.
Сеть передачи данных формируется из сегментов тАУ Радио Релейных Линий (РРЛ), которые в свою очередь делятся на терминалы ближнего и дальнего конца.
Длина РРЛ определяется посредством программного приложения "Map Source". Диаметр антенны подбирается исходя из длины РРЛ. Основное применение в городских условиях получило оборудование, работающее на частотах 22-23 ГГц, которым соответствуют индексы используемых радиоблоков. Частоты, действующие на РРЛ, подбираются с помощью программного комплекса TEMS оптимизаторами сети передачи данных и регистрируются на основании заявки, подаваемой в Агентство информатизации и связи Республики Казахстан.
В связи с малой насыщенностью эфира частотами данного диапазона на сегодняшний день используется только вертикальная поляризация.
Емкость РРЛ определена в соответствии с потребностью на объем цифровых каналов действующих базовых станций.
1.1 Структура сети GSM900
Самая простая часть структурной схемы тАУ переносной телефон, состоит из двух частей:
- Mobile Equipment тАУ мобильное устройство;
- SIM (Subscriber Identity Module) тАУ смарт-карта или модуль идентификации абонента, получаемый при заключении контракта с оператором.
Сотовый телефон имеет собственный номер тАУ IMEI (International Mobile Equipment Identity тАУ международный идентификатор мобильного устройства), который может передаваться сети по ее запросу. SIM, в свою очередь, содержит так называемый IMSI (International Mobile Subscriber Identity тАУ международный идентификационный номер подписчика). Значит, IMEI соответствует конкретному телефону, а IMSI тАУ определенному абоненту.
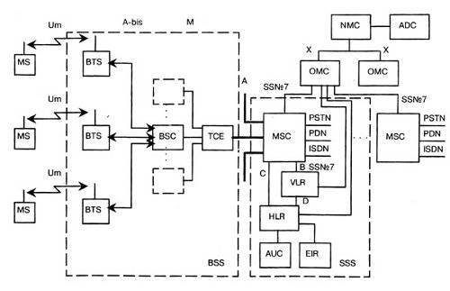
Типовая структурная схема и состав оборудования GSM сети соответствует рисунку 1.2.
"Центральной нервной системой" сети является NSS (Network and Switching Subsystem тАУ подсистема сети и коммутации), а компонент, выполняющей функции "мозга" называется MSC (Mobile services Switching Center тАУ центр коммутации). MSC в сети может быть и не один (в данном случае очень уместна аналогия с многопроцессорными компьютерными системами). MSC занимается маршрутизацией вызовов, формированием данных для биллинговой системы, также управляет многими другими процедурами.
Следующими по важности компонентами сети, также входящими в NSS, являются HLR (Home Location Register тАУ реестр собственных абонентов) и VLR (Visitor Location Register тАУ реестр перемещений). HLR представляет собой базу данных обо всех абонентах, заключивших контракт с данным оператором. В ней хранится информация о номерах пользователей (под номерами подразумеваются, во-первых, упоминавшийся выше IMSI, а во-вторых, так называемый MSISDN тАУ Mobile Subscriber ISDN, т.е. телефонный номер в его обычном понимании).
В отличие от HLR, который в системе один, VLR-ов может быть и несколько тАУ каждый из них контролирует свою часть сети. В VLR содержатся данные об абонентах, которые находятся на его территории (причем обслуживаются не только свои подписчики, но и зарегистрированные в сети клиенты роуминга). Как только пользователь покидает зону действия какого-то VLR, информация о нем копируется в новый VLR, а из старого удаляется. В HLR для каждого абонента постоянно присутствует ссылка на тот VLR, который с ним (абонентом) сейчас работает (при этом сам VLR может принадлежать чужой сети, расположенной, например, на другом конце Земли).

Рисунок 1.2 тАУ Типовая структурная схема
На рисунке 1.2 приняты обозначения:
- MSC (Mobile Switching Centre) тАУ центр коммутации подвижной связи;
- BSS (Base Station System) тАУ оборудование базовой станции;
- ОМС (Operations and Maintenance Centre) тАУ центр управления и обслуживания;
- MS (Mobile Stations) тАУ подвижные станции.
NSS содержит еще два компонента тАУ AuC (Authentication Center тАУ центр авторизации) и EIR (Equipment Identity Register тАУ реестр идентификации оборудования). Первый блок используется для процедур установления подлинности абонента, а второй, как следует из названия, отвечает за допуск к эксплуатации в сети только разрешенных сотовых телефонов.
Исполнительной частью сотовой сети, является BSS (Base Station Subsystem тАУ подсистема базовых станций). BSS состоит из нескольких BSC (Base Station Controller тАУ контроллер базовых станций), а также множества тАУ BTS (Base Transceiver Station тАУ базовая станция). Каждый BSC контролирует целую группу BTS и отвечает за управление и распределение каналов, уровень мощности базовых станций и тому подобное. BSC в сети не один, а целое множество (базовых станций же вообще сотни).
Управляется и координируется работа сети с помощью OSS (Operating and Support Subsystem тАУ подсистема управления и поддержки). OSS состоит из всякого рода служб и систем, контролирующих работу и трафик тАУ дабы не перегружать читателя информацией.
1.2 Регистрация в сети
При каждом включении телефона после выбора сети начинается процедура регистрации. Рассмотрим наиболее общий случай тАУ регистрацию не в домашней, а в чужой, так называемой гостевой, сети (будем предполагать, что услуга роуминга абоненту разрешена).
Пусть сеть найдена. По запросу сети телефон передает IMSI абонента. IMSI начинается с кода страны "приписки" его владельца, далее следуют цифры, определяющие домашнюю сеть, а уже потом тАУ уникальный номер конкретного подписчика. По номеру IMSI VLR гостевой сети определяет домашнюю сеть и связывается с ее HLR. Последний передает всю необходимую информацию об абоненте в VLR, который сделал запрос, а у себя размещает ссылку на этот VLR, чтобы в случае необходимости знать, "где искать" абонента.
При регистрации AuC домашней сети генерирует 128-битовое случайное число тАУ RAND, пересылаемое телефону. Внутри SIM с помощью ключа Ki (ключ идентификации тАУ так же как и IMSI, он содержится в SIM) и алгоритма идентификации А3 вычисляется 32-битовый ответ тАУ SRES (Signed RESult) по формуле:
SRES = Ki × RAND (1.1)
Точно такие же вычисления проделываются одновременно и в AuC (по выбранному из HLR Ki пользователя). Если SRES, вычисленный в телефоне, совпадет со SRES, рассчитанным AuC, то процесс авторизации считается успешным и абоненту присваивается TMSI (Temporary Mobile Subscriber Identity-временный номер мобильного абонента). TMSI служит исключительно для повышения безопасности взаимодействия подписчика с сетью и может периодически меняться (в том числе при смене VLR).
Теоретически, при регистрации должен передаваться и номер IMEI. При получении IMEI сетью, он направляется в EIR, где сравнивается с так называемыми "списками" номеров. Белый список содержит номера санкционированных к использованию телефонов, черный список состоит из IMEI, украденных или по какой-либо иной причине не допущенных к эксплуатации телефонов, и, наконец, серый список тАУ "трубки" с проблемами, работа которых разрешается системой, но за которыми ведется постоянное наблюдение.
После процедуры идентификации и взаимодействия гостевого VLR с домашним HLR запускается счетчик времени, задающий момент перерегистрации в случае отсутствия каких-либо сеансов связи. Обычно период обязательной регистрации составляет несколько часов. Перерегистрация необходима для того, чтобы сеть получила подтверждение, что телефон по-прежнему находится в зоне ее действия. Дело в том, что в режиме ожидания телефон только отслеживает сигналы, передаваемые сетью, но сам ничего не излучает тАУ процесс передачи начинается только в случае установления соединения, а также при значительных перемещениях относительно сети. В таких случаях таймер, отсчитывающий время до следующей перерегистрации, запускается заново. Поэтому при "выпадении" телефона из сети (например, был отсоединен аккумулятор, или владелец аппарата зашел в метро, не выключив телефон) система об этом не узнает.
1.3 Территориальное деление сети и Handover
Как уже было сказано, сеть состоит из множества BTS тАУ базовых станций (одна BTS тАУ одна "сота", ячейка). Для упрощения функционирования системы и снижения служебного трафика, BTS объединяют в группы тАУ домены, получившие название LA (Location Area тАУ области расположения). Каждой LA соответствует свой код LAI (Location Area Identity). Один VLR может контролировать несколько LA. И именно LAI помещается в VLR для задания местоположения мобильного абонента. Именно в соответствующей LA, а не в отдельной соте, будет произведен поиск абонента. При перемещении абонента из одной соты в другую в пределах одной LA перерегистрация и изменение записей в VLR/HLR не производится, но стоит ему (абоненту) попасть на территорию другой LA, как начнется взаимодействие телефона с сетью.
Разбиение сети на LA довольно непростая инженерная задача, решаемая при построении каждой сети индивидуально. Слишком мелкие LA приведут к частым перерегистрациям телефонов и, как следствие, к возрастанию трафика разного рода сервисных сигналов и более быстрой разрядке батарей мобильных телефонов. Если же сделать LA большими, то, в случае необходимости соединения с абонентом, сигнал вызова придется подавать всем сотам, входящим в LA, что также ведет к неоправданному росту передачи служебной информации и перегрузке внутренних каналов сети.
Рассмотрим очень красивый алгоритм так называемого handover`ра (такое название получила смена используемого канала в процессе соединения). Во время разговора по мобильному телефону вследствие ряда причин (удаление "трубки" от базовой станции, многолучевая интерференция, перемещение абонента в зону так называемой тени и т.п.) мощность (и качество) сигнала может ухудшиться. В этом случае произойдет переключение на канал (может быть, другой BTS) с лучшим качеством сигнала без прерывания текущего соединения. Handover`ра принято разделять на четыре типа:
- смена каналов в пределах одной базовой станции;
- смена канала одной базовой станции на канал другой станции, но находящейся под патронажем того же BSC;
- переключение каналов между базовыми станциями, контролируемыми разными BSC, но одним MSC;
- переключение каналов между базовыми станциями, за которые отвечают не только разные BSC, но и MSC.
В общем случае, проведение handover`а тАУ задача MSC. Но в двух первых случаях, называемых внутренними handover`ами, чтобы снизить нагрузку на коммутатор и служебные линии связи, процесс смены каналов управляется BSC, а MSC лишь информируется о происшедшем.
1.4 Маршрутизация вызовов
Каким образом происходит маршрутизация входящих вызовов мобильного телефона? Рассмотрим наиболее общий случай, когда абонент находится в зоне действия гостевой сети, регистрация прошла успешно, а телефон находится в режиме ожидания.
При поступлении запроса, в соответствии с рисунком 1.3, на соединение от проводной телефонной (или другой сотовой) системы на MSC домашней сети (вызов "находит" нужный коммутатор по набранному номеру мобильного абонента MSISDN, который содержит код страны и сети).

Рисунок 1.3 тАУ Маршрутизация вызовов
MSC пересылает в HLR номер (MSISDN) абонента. HLR, в свою очередь, обращается с запросом к VLR гостевой сети, в которой находится абонент. VLR выделяет один из имеющихся в ее распоряжении MSRN (Mobile Station Roaming Number тАУ номер "блуждающей" мобильной станции). Идеология назначения MSRN очень напоминает динамическое присвоение адресов IP при коммутируемом доступе в Интернет через модем. HLR домашней сети получает от VLR присвоенный абоненту MSRN и, сопроводив его IMSI пользователя, передает коммутатору домашней сети. Заключительной стадией установления соединения является направление вызова, сопровождаемого IMSI и MSRN, коммутатору гостевой сети, который формирует специальный сигнал, передаваемый по PAGCH (PAGer CHannel тАУ канал вызова) по всей LA, где находится абонент.
2. Состав оборудования GSM сети
Основной поставщик оборудования сотовой связи GSM900 для ТОО "GSM Казахстан" является шведская компания "Ericsson".
В состав оборудования, на основе которого построена сеть сотовой связи, входят:
- коммутационная система AXE 10;
- сеть передачи данных Mini-Link;
- базовые станции RBS 2206.
2.1 Цифровая коммутационная система AXE-10
АТС AXE-10 представляет собой современную высокопроизводительную цифровую телефонную коммутационную систему, созданную фирмой "Ericsson".
Цифровая коммутационная система АХЕ является самой популярной коммутационной системой из всех когда-либо создававшихся. Начиная с 1994 года, эта система была успешно смонтирована в более чем 110 странах. Число установленных и заказанных линий превышает 94 миллиона.
AXE-10 тАУ цифровая коммутационная система с программным управлением. Система АХЕ-10 характеризуется модульностью построения аппаратных и программных средств. Программные модули полностью независимы друг от друга и взаимодействуют между собой с помощью стандартизованных сигналов. Модульность аппаратных средств обеспечивает простое проектирование, производство, монтаж и техобслуживание.
АТС Ericsson AXE-10 предназначена для широкого спектра применений на телефонной сети и может функционировать как:
- местная "городская" телефонная станция;
- транзитная телефонная станция;
- станция сотовой и подвижной связи;
- узлы интеллектуальной и деловой сети.
Характеристика системы:
- емкость коммутационной системы до 40000 абонентских и до 60000 соединительных линий;
- емкость выносных концентраторов до 2048 абонентских и до 480 соединительных линий;
- пропускная способность 20000 Эрл в ЧНН;
- производительность управляющего устройства до 900 тысяч вызовов
в час;
- напряжение питания от 47В до 51В;
- потребляемая мощность до 2 Вт на абонентскую линию;
- станция обеспечивает возможность подключения абонентов ISDN;
- габаритные размеры стативов 2250 × 900 × 600 мм;
- условия эксплуатации: температура от 4 до 35 градусов, относительная влажность воздуха от 20 до 80 процентов.
Гибкость построения сети позволяет использовать АТС Ericsson AXE-10 в различных конфигурациях и с различными емкостями от небольших выносов на несколько сотен абонентов до глобальных телефонных систем крупных мегаполисов.
АТС Ericsson AXE-10 не имеет никаких ограничений для собственного развития благодаря уникальной гибкой системной архитектуре, называемой "функциональная модульность".
Новая версия оборудования АТС Ericsson AXE-10, с обозначением AXE 810, является новейшей разработкой в технологии коммутации. Оборудование АТС Ericsson AXE 810 состоит из магазинов GEM (Generic Ericsson Magazine), коммутационного поля GS 890, терминалов STM1
ET155-1, эхо-компенсаторов ECP 5, нового поколения транскодеров TRA R6.
Магазин GEM предоставляет возможность комбинировать коммутационное оборудование с устройствами обслуживания трафика в едином магазине. Групповой коммутатор GS890 является принципиально новым, неблокируемым распределенным коммутатором, включающим в себя также блоки синхронизации.
Плата ET 155-1, размещаемая в GEM магазине является терминалом STM-1. Плата поддерживает стандарты ITU-T и ANSI. Плата ECP5 тАУ является новым поколением эхо-компенсатора, работающего в группе. Новое поколение плат транскодеров предназначено для применения в сетях 3G, GSM, TDMA, CDMA.
Основные характеристики АТС Ericsson AXE-10:
- единый коммутационный магазин GEM, в котором размещены почти все устройства обслуживания трафика;
- магазины GDM, используемые в настоящее время, возможно подключить к новому оборудованию AXE10;
- магазины GDM и GEM выполнены в конструктиве BYB 501;
- технология Plug&Play обеспечивает простую установку оборудования;
- на платах установлены новые управляющие процессоры RPI (Regional processor Integrated);
- обеспечена полная совместимость с оборудованием BYB 501;
- существующие узлы AXE10 на базе оборудования BYB 501 могут быть расширены с использованием нового оборудования AXE 810.
Функциональное сопряжение элементов системы осуществляется рядом интерфейсов. Все сетевые функциональные компоненты в стандарте GSM взаимодействуют в соответствии с системой сигнализации МККТТ SS N 7 (CCITT SS.N7).
Центр коммутации подвижной связи обслуживает группу сот и обеспечивает все виды соединений, в которых нуждается в процессе работы подвижная станция. MSC аналогичен ISDN коммутационной станции и представляет собой интерфейс между фиксированными сетями (PSTN, PDN, ISDN и т.д.) и сетью подвижной связи. Он обеспечивает маршрутизацию вызовов и функции управления вызовами. Кроме выполнения функций обычной ISDN коммутационной станции, на MSC возлагаются функции коммутации радиоканалов. К ним относятся "эстафетная передача", в процессе которой достигается непрерывность связи при перемещении подвижной станции из соты в соту, и переключение рабочих каналов в соте при появлении помех или неисправностях.
Каждый MSC обеспечивает обслуживание подвижных абонентов, расположенных в пределах определенной географической зоны. MSC управляет процедурами установления вызова и маршрутизации. Для телефонной сети общего пользования (PSTN) MSC обеспечивает функции сигнализации по протоколу SS N 7, передачи вызова или другие виды интерфейсов в соответствии с требованиями конкретного проекта.
BSS тАУ оборудование базовой станции, состоит из контроллера базовой станции (BSC) и приемо-передающих базовых станций (BTS). Контроллер базовой станции может управлять несколькими приемо-передающими блоками. BSS управляет распределением радиоканалов, контролирует соединения, регулирует их очередность, обеспечивает режим работы с прыгающей частотой, модуляцию и демодуляцию сигналов, кодирование и декодирование сообщений, кодирование речи, адаптацию скорости передачи для речи, данных и вызова, определяет очередность передачи сообщений персонального вызова.
В цифровых сотовых систем подвижной связи стандарта GSM рассматриваются интерфейсы трех видов: для соединения с внешними сетями; между различным оборудованием сетей GSM; между сетью GSM и внешним оборудованием.
Присоединение GSM сотовых операторов к телефонной сети общего пользования (ТФОП/PSTN). Соединение с телефонной сетью общего пользования осуществляется MSC по линии связи 2 Мбит/с в соответствии с системой сигнализации SSN7. Электрические характеристики 2 Мбит/с интерфейса соответствуют Рекомендациям МККТТ G.732.
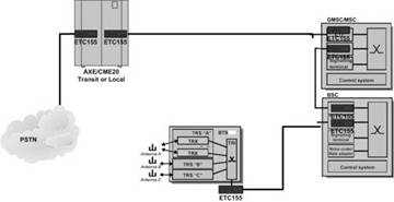
Типовая схема присоединения GSM (MSC) сотового оператора к AXE-10 телефонной сети общего пользования (ТФОП) соответствует рисунку 2.1.
ЕТ155, SDH AXE/CME20 Ericsson терминал. В качестве оптимального решения для присоединения сети связи GSM оператора к сети электросвязи общего пользования компанией "РИМКО XXI" предлагается блок ЕТ 155 Ericsson, который соответствует рисунку 2.2.
ET155 Ericsson является 155 Мб/с STM-1 для 63 x 2 Мб/с потоков PDH (Плезиохронной цифровой иерархической системы) терминалом обмена SDH (Синхронной цифровой иерархической системы) поддерживающим стандарт ETSI (Системы ввода с разделением времени) и интегрированным в AXE/CME20. Блок ET155 является полностью интегрированной частью АХЕ/CME20, поэтому кроме физической интеграции в АХЕ/CME20, производится управление и техобслуживание также системой АХЕ/CME20. В результате этого, техническое обслуживание всей транспортной иерархии PDH и SDH, можно произвести из станции.

Рисунок 2.1 тАУ Схема присоединения MSC (GSM-MSC) к ТФОП

Рисунок 2.2 тАУ ET155, SDH AXE/CME20 терминал
Присоединение между различным оборудованием сетей GSM. Интерфейс между MSC и BSS (А-интерфейс) обеспечивает передачу сообщений для управления BSS, передачи вызова, управления передвижением. А-интерфейс объединяет каналы связи и линии сигнализации. Последние используют протокол SS N7 МККТТ.
В соответствии с рисунком 2.3, ET155 AXE/CME 20 может быть применен в архитектуре GSM сети:
- BTS (Base Transceiver System) тАУ BSC (Base Station Controller);
- BSC тАУ Mobile Services Switching Centre (MSC);
- MSC тАУ TE (Transit Exchange);
- MSC тАУ ISC (International Switching Centre);
- MSC тАУ LE (Local Exchange).

Рисунок 2.3 тАУ Применение ET155,SDH AXE/CME20 терминала в GSM сети
Преимущества Цифровой коммутационной системы AXE-10. Преимущества предложенного решения:
- сильно упрошенная архитектура GSM сети тАУ телекоммуникационная система AXE/CME20 напрямую подсоединяется к SDH сети или к телекоммуникационной системе AXE ТФОП;
- значительное уменьшение аппаратных средств тАУ 63 терминала, емкостью 2048 кбит/с, плюс магазины и шкафы заменяются на один блок ЕТ155;
- 126 (63 x 2) электрических кабелей емкостью 2048 кбит/с заменяются на два оптических, либо два электрических кабеля;
- большой цифровой кросс (DDF) заменяется на небольшой DDF, или на оптический кросс ODF для установления двух электрических, либо оптических связей;
- не требуются SDH мультиплексоры;
- ET155 связывает каналы для нагрузки между STM-1 155Мбит/с и Групповой Ступенью (ГИ) станции AXE/СME20;
- ET155 передает 63 сигнала 2048кбит/с преобразующихся в контейнерах SDH.
Базовая станция Ericsson RBS 2206. Базовая станция тАУ RBS 2206 размещается внутри зданий и поддерживает до двенадцати трансиверов на один шкаф. Она может быть сконфигурирована с одним, двумя или тремя секторами в одном шкафу. RBS 2206 поддерживает повышенные скорости передачи данных для системы EDGE.
Основные характеристики:
- полная поддержка режима передачи данных: 14,4 кбит/с, HSCSD, GPRS;
- поддержка EDGE на 12 трансиверов во всех временных интервалах;
- поддержка всех речевых кодеков: HR, FR и EFR;
- расширенный радиус действия тАУ 121 км;
- дуплексор и поддержка TMA для всех конфигураций;
- поддержка программно задаваемого увеличения мощности;
- четыре порта передачи, поддерживающие скорость до 8 Мбит/с.
Технические характеристики базовой станции RBS 2206 приведены в таблице 2.1.
Таблица 2.1 тАУ Технические характеристики станции RBS 2206
Диапазон частот Передача Прием | GSM 900 925-960 МГц 880-915 МГц | GSM 1800 1805-1880 МГц 1710-1785 МГц |
| Размеры | 1900 х 600 х 400 мм | |
| Вес | 230 кг при полном оснащении | |
| Мощность, поступающая в фидер антенны | 35 Вт/45,5 дБм (GSM 900) 28 Вт/44,5 дБм (GSM 1800) | |
| Чувствительность приемника | -110 дБм (без TMA) | |
| Электропитание | 120-250 В переменного тока, 50/60 Гц -48 - -72 В постоянного тока, +20,5 - +29 В постоянного тока | |
| Диапазон рабочих температур | +5В°С - +40В°С | |
Сеть передачи данных Mini-Link Е. Применение Mini-Link Е в сети сотовой связи ТОО "GSM Казахстан". MINI-LINK E и E Micro обеспечивают микроволновую передачу точка-точка с пропускной способностью от 2 до 34+2 (17х2) Мбит/с в частотных диапазонах от 7 до 38 ГГц. Ниже дана краткая характеристика этих систем.
MINI-LINK E содержит модуль доступа, расположенный в помещении, и наружный радиоблок с антенной. Такая конструкция обеспечивает гибкость и достаточную пропускную способность, как на маленьких, так и на больших многотерминальных сайтах. Терминалы могут быть сконфигурированы для различных типов сетей: в виде звезды, дерева или кольца. Для обеспечения резервирования они могут быть сконфигурированы либо как системы 1+1, либо в виде кольца.
Мобильные сети связи в настоящее время являются наиболее обычной сферой использования MINI-LINK E и E Micro, в соответствии с рисунком 2.4, где они развертываются в сетях радиосвязи с невысокой производительностью.

Рисунок 2.4 тАУ Пример мобильной сети, в которой аппаратура MINI-LINK осуществляет связь базовых станций с центрами коммутации
В соответствии с рисунком 2.5, производится использование аппаратуры MINI-LINK E и E Micro в сетях различной топологии.
Несколько терминалов MINI-LINK E могут быть интегрированы в один общий модуль доступа, в соответствии с рисунком 2.6. Это позволяет сделать чрезвычайно компактными сайты сети, а также эффективно распределить между разными терминалами такие ресурсы, как мультиплексоры, интерфейсы служебных каналов и системы поддержки.
Состав оборудования многотерминальных сайтов соответствует рисунку 2.7.
Маршрутизация трафика и его переадресация в пределах сайта могут выполняться при минимальном количестве внешних кабелей. Маршрут трафика задается с помощью программного и конфигурируется во время установки станции. Терминал может быть сконфигурирован как нерезервируемый (1+0) или резервируемый (1+1); резервирование может быть также обеспечено сетью кольцевого типа. Каждый терминал обеспечивает скорость трафика до 17x2 (34+2) Мбит/с.
Конфигурация терминалов. Нерезервируемый терминал (1+0). Терминал типа 1+0 содержит как минимум:
- один радиоблок (RAU);
- одну антенну;
- один магазин модуля доступа (AMM 1U);
- один блок модема (MMU);
- один соединяющий коаксиальный кабель.
Для трафика со скоростью 8x2, 17x2 и 4x8 Мбит/с требуется также блок ключей/мультиплексоров (SMU). В магазин модуля доступа может быть также добавлен блок служебных каналов (SAU), что обеспечивает дополнительные интерфейсы для управления и аварийной сигнализации, служебных каналов и других специфических потребностей клиента.

Рисунок 2.5 тАУ Пример топологии сети

Рисунок 2.6 тАУ Многотерминальный сайт MINI-LINK E
Резервируемый терминал (1+1). Терминал типа 1+1, как минимум, включает:
- два радиоблока (RAU);
- две антенны или одну антенну и делитель мощности;
- один магазин модуля доступа (AMM) с двумя MMU и одним SMU;
- два соединительных коаксиальных кабеля.
Радиоблоки могут иметь индивидуальные антенны или могут быть подключены к общей антенне. Если используется одна общая антенна, то два радиоблока подключаются волноводами к делителю мощности, установленному на антенне, имеющей одну поляризацию.
Автоматическое переключение может использоваться как при горячем, так и при рабочем резервировании (с разносом по частоте). Переключение приемников в системах с разносом по частоте обеспечивает бесперебойную передачу данных.
При горячем резервировании работает один передатчик, а второй находится в резерве (он не передает сигнала, но находится в состоянии постоянной готовности к передаче и включается при сбое в работе активного передатчика). Оба радиоприемника принимают сигналы. MMU выбирает наилучший сигнал в зависимости от приоритета неисправностей, подает его сначала на SMU для демультиплексирования, а затем к внешнему оборудованию.

Рисунок 2.7 тАУ Состав оборудования многотерминального сайта
Компоненты системы MINI-LINK E. MINI-LINK E состоит из располагаемого внутри помещения модуля доступа, находящегося снаружи радиоблока с антенной и монтажного комплекта. Радиоблок соединяется с внутренним оборудованием одним коаксиальным кабелем и может комбинироваться с разнообразными антеннами для раздельной и совместной установки.
Радиоблоки независимы от пропускной способности трафика, т.е. рабочая частота определяется только радиоблоком. Она устанавливается на сайте. Это осуществляется с помощью управляющего программного обеспечения или переключателя на находящемся в помещении модеме.
Радиоблок имеет защищенный от ат
Вместе с этим смотрят:
IP-телефония. Особенности цифровой офисной связи