Архитектурные конструкции многоэтажных зданий
РЕФЕРАТ
Конструктивные решения многоэтажных зданий
Выполнил студент
Вечернего отделения
4 курса, группы №6
Капустина Ю. В.
Москва, 2010г
Содержание
1. Составные элементы конструктивных систем и их назначение
2. Конструктивные системы остова многоэтажных зданий
3. Типы лестничных клеток
4. Типы лестнично-лифтовых блоков
5. Конструктивные решения фасадных систем: многослойные, вентилируемые, светопрозрачные
6. Конструктивные решения крыш
Используемая литература
1. Составные элементы конструктивных систем и их назначение
Фундаменты тАФ подземные конструктивные элементы зданий воспринимающие все нагрузки от выше расположенных вертикальных элементов несущего остова и передающие эти нагрузки на основание.
Работа фундаментов протекает в постоянно изменяющихся условиях под воздействием больших нагрузок поэтому к их качеству предьявляют повышенные требования. Материалы из которых делают фундаменты, должны обладать высокой морозостойкостью, механической прочностью ,долговечностью и не разрушаться под агрессивным воздействием грунтовых вод. Таким качеством отвечают такие материалы, как бутобетон, бетон, железобетон. В настоящее время в конструкциях фундаментов используется в основном железобетон, который находит применение как в монолитных фундаментах так и для изготовления сборных элементов.
По характеру конструктивного решения и особенностям выполнения различают следующие типы фундаментов:
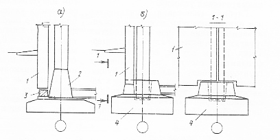
а) ленточные, состоящие из непрерывной в плане стеновой опоры под всей длиной нагруженной стены здания (рис.1}
б)столбчатые или отдельно стоящие, представляющие собой ряд отдельных опор, устанавливаемых под стойками или колоннами, а также под стенами, опертыми на фундаментные балки (рис.2)
в] свайные, устраиваемые из свай, опускаемых в грунт (рис.3)
г) сплошные илц плитные, состоящие из обшей фундаментной плиты, принимающей вес всего здания или сооружения в целом (рис.4)
Разновидностью сплошных фундаментов являются так называемые ребристые и коробчатые конструкции {рис.5)
По технологии возведения фундаменты разделяются на монолитные и сборные;
по величине заглубления тАФ на фундаменты мелкого заложения(менее 2 м) и глубокого(более 3ч).

Рис.1
Конструкции ленточных фундаментов:
а тАФ из сплошных стеновых фундаментных блоков
б тАФ из пустотелых блоков
в тАФ вариант с устройством подвала
г тАФ монолитный фундамент
1 тАФ фундаментная плита
2 тАФ фундаментный блок
3 тАФ стеновой блок подвала
4 тАФ монолитный бетон(бутобетон)

Рис.2
Конструкция столбчатых фундаментов
а тАФ конструкция на фундаментной подушке
б тАФ конструкция фундамента стаканного типа
1 тАФ наружная цокольная панель
2 тАФ пирамидальное основание колонны
3 тАФ фундаментная балка
4 тАФ фундаментный стакан

Рис.3
Конструкция свайных фундаментов
а тАФ сопряжение сборного оголовка под одиночную сваю
б тАФ однорядное расположение свай
в тАФ шахматное расположение свай
г тАФ двурядное расположение свай
д тАФ куст свай под одиночную колонну
1 тАФ свая
2 тАФ сборный оголовок
3 тАФ монолитный ж.б. ростверк
4 тАФ ж.б.ростверк под колонну

Рис.4
Конструкция сплошных фундаментов
а тАФ перекрестная конструкция
б, втАФ варианты устройства сплошной фундаментной плиты
г тАФ коробчатая конструкция фундамента
Конструктивно-технологические решения фундаментов. ВЗ принимаются на основании оценки геотехнической опасности территории строительства и технико-экономического сравнения возможных вариантов обеспечивающих наиболее полное использование прочностных и деформационных характеристик грунтов и физико-механических свойств материалов фундаментов и подземных конструкций. Три геотехнические особенности ВЗ обуславливают следующие основные типы фундаментов для них:
тАУ массивные плитные (предпочтительно повышенной жесткости, в т.ч. коробчатые с развитой подземной частью) на естественном или укрепленном основании.
тАУ свайные (предпочтительно глубокие опоры);
тАУ комбинированные, в т.ч. свайно-плитные (СПФ), плитно-анкерные, щелевые.
Подробно об этих видах фундаментов:
Плитные фундаменты. Плитные (сплошные) фундаменты проектируют в виде балочных или безбалочных, бетонных или железобетонных плит. Ребра балочных плит могут быть обращены вверх и вниз. Места пересечения ребер служат для установки колонн каркаса. Пространство между ребрами в плитах с ребрами вверх заполняют песком или гравием, а поверх устраивают бетонную подготовку. Бетонные плиты не армируют. Железобетонные армируют по расчету. При большом заглублении сплошных фундаментов и необходимости обеспечить большую их жесткость фундаментные плиты можно проектировать коробчатого сечения с размещением между ребрами и перекрытиями коробок помещений подвалов.
Показаны различные варианты решений сплошных фундаментов. (Рис.5)

Рис.5. Плитные фундаменты
а - в виде ребристой железобетонной плиты;
б - в виде плиты сплошного сечения
Свайные фундаменты. Основными элементами свайных фундаментов являются собственно сваи, оголовки и ростверки. Сваи представляют собой железобетонные, бетонные и реже деревянные или металлические стержни, погруженные в грунт ударным или вибрационным способом, ввинчиванием, или бетонируемые на месте, в заранее пробуренных скважинах.
В зависимости от способа погружения в грунт различают забивные, набивные, сваи-оболочки, буроопускные и винтовые сваи.
Забивные железобетонные и деревянные сваи погружают с помощью копров, вибропогружателей и вибровдавливающих агрегатов. Эти сваи получили наибольшее распространение в массовом строительстве. Железобетонные забивные сваи и сваи-оболочки могут иметь обычную и предварительно напряженную арматуру и изготовляться цельными и составными, из отдельных секций. В поперечном сечении они могут быть квадратные, прямоугольные, квадратные с круглой полостью и полые круглые: обычные сваи диаметром до 800 мм, а сваи-оболочки - свыше 800 мм. По продольному сечению сваи могут быть призматические и с наклонными боковыми гранями - пирамидальными, трапецеидальными и ромбовидными. Нижние концы свай могут быть заостренными или плоскими, с уширением или без него, а полые сваи - с закрытым или открытым концом и с камуфлетной пятой. В последнее время получили распространение новые конструкции свай с корневидным основанием.
На рис. 3. представлены различные виды забивных свай и свай-оболочек.
Деревянные забивные сваи устраивают там, где существуют постоянные температурно-влажностные условия. Деревянные сваи могут быть цельные или срощенные по длине; из одиночных бревен или пакетные. Их изготовляют из бревен хвойных пород, очищенных от коры и сучьев. Набивные сваи устраивают методом заполнения бетонной или иной смесью предварительно пробуренных, пробитых или выштампованных скважин. Нижняя часть скважин может быть уширена с помощью взрывов (сваи с камуфлетной пятой).
Буроопускные сваи отличает oт набивных то, что в скважину устанавливают готовые железобетонные сваи с заполнением зазора между сваей и скважиной песчано-цёментным раствором.В зависимости от свойств грунтов все сваи могут или передавать нагрузку от здания на практически несжимаемые грунты, опираясь на них своими нижними концами (так называемые сваи-стойки), или при сжимаемых грунтах передавать нагрузку на грунт боковыми поверхностями и нижним концом за счет сил трения (висячие сваи).
Для равномерного распределения нагрузки на сваи по их верхним концам непосредственно на сваи или на специально устраиваемые уширения верхних концов тАФ оголовки укладывают распределительные балки или плиты, называемые ростверками. Железобетонные ростверки могут быть сборные и монолитные. В последнее время разработаны конструктивные решения свайных фундаментов без ростверков. Плиты перекрытия в этих случаях опирают на сборные оголовки свай. Проектирование свайных фундаментов ведут в соответствии со специальными нормами на основе результатов инженерно-геологических и гидрогеологических изысканий исходя из конструктивных особенностей и нагрузок, характерных для здания.
( 1 - СНиП П-17-77 ВлСвайные фундаменты. Нормы проектированияВ». М., 1978.)
Свайные фундаменты в плане могут состоять из одиночных свай тАФ под опоры; лент свай тАФ под стены здания, с расположением свай в один, два и более рядов; кустов свайтАФпод тяжело нагруженные опоры; сплошного свайного поля тАФ под тяжелые сооружения с равномерно распределенными по плану здания нагрузками.

Рис. 6 Свайные фундаменты
а тАФ фрагмент плана фундамента под несущие стены; б - фундамент под колонну; в тАУ фундамент на сваях-стойках; г тАУ тоже на висячих сваях; д тАФ стык сборного ростверка с забивной сваей; e - свая; 2 тАФ ростверк; 3 тАФ оголовок сваи; 4 тАФ колонна; 5 тАФ монолитный ростверк стаканного типа под колонну; 6 - арматура сваи: 7 - свая-стойка; 8 - висячая свая; 9 тАФ монолитный ростверк; 10 тАУ бетон замоноличивания; 11 тАУ закладная деталь; 12 тАУ стальная деталь; 13 тАУ панель перекрытия; 14 тАУ панель стены; 15 тАУ цементный раствор

Рис.7
Гидроизоляция подземной части здания. Фундаменты подвергаются увлажнению грунтовой влагой и просачивающейся в грунт атмосферной влагой. Увлажнение фундаментоз может снизить их долговечность, вызвать отсыревание стен подвала и повысить влажность стен, наземной части здания вследствие капиллярного подсоса влаги. Для исключения капиллярного подсоса наземную часть стен (наружных и внутренних) изолируют от фундаментов горизонтальной гидроизоляцией в уровне низа цокольного перекрытия. В зданиях с подвалами предусматривается еще один ряд горизонтальной гидроизоляции в уровне пола подвала. Горизонтальная гидроизоляция устраивается обычно из двух слоев рубероида на битумной мастике. Если проектом предусмотрена совместная статическая работа наземной и подземной частей здания на горизонтальные нагрузки, гидроизоляция осуществляется из цементного раствора состава 1:2. По всей внешней поверхности фундаментов устраивается вертикальная обмазочная гидроизоляция горячим битумом за два раза. Возможность увлажнения фундамента дождевыми и талыми водами должна исключаться планировкой территории застройки и устраиваемой по внешнему периметру здания отмосткой из плотных водонепроницаемых материалов - асфальта, асфальтобетона. Отмостка имеет уклон от здания 3%.
Колонны. Стойки каркасных систем тАУ колонны, пилоны и другие аналогичные элементы возводят с применением так называемого высокопрочного (HSC тАУ High Strength Concrete) и высококачественного бетона (HQC тАУ High Quality Concrete).
В современных небоскребах крайне редко можно встретить тАЬчистотАЭ стальные или железобетонные в традиционном понимании (с обычным процентом армирования) конструкции. Габаритные размеры колонн и количество рабочей арматуры определяются целым рядом факторов и зависят от тех конкретных требований, которые инженер предъявляет к несущей системе здания. Варьируя прочность бетона и количество продольного армирования (рис. 4), можно добиться оптимизации конструктивных решений и минимизации их стоимости без снижения надежности, что для высотных зданий весьма и весьма актуально. При недостаточной несущей способности, жесткости или продольной устойчивости стоек каркаса применяют сталебетонные колонны с внешней стальной оболочкой либо с внутренней жесткой арматурой). Такие решения позволяют также повысить и огнестойкость конструкций.
Наружные стены. Стены, в зависимости от воспринимаемых ими вертикальных нагрузок, подразделяются на несущие, самонесущие и ненесущие.
Несущей называется стена, которая помимо вертикальной нагрузки от собственного веса, воспринимает и передает фундаментам нагрузки от перекрытий, крыши, ненесущих наружных стен, перегородок в т.д.
Самонесущей называется стена, которая воспринимает и передает фундаментам вертикальную нагрузку только от собственного веса (включая нагрузку от балконов, лоджий, эркеров, парапетов и других элементов стены).
Ненесущей называется стена, которая поэтажно или через несколько этажей передает вертикальную нагрузку от собственного веса на смежные конструкции (перекрытия, несущие стены, каркас). Внутренняя ненесущая стена называется перегородкой. В жилых зданиях рекомендуется, как правило, применять несущие и ненесущие стены. Самонесущие стены допускается применять в качестве утепляющих стен ризалитов, торцов здания и других элементов наружных стен. Самонесущие стены могут применяться также внутри здания в виде вентиляционных блоков, лифтовых шахт и тому подобных элементов с инженерным оборудованием.

Рис.8. Наружные стены
а - несущие; б - самонесущие; в - ненесущие
Несущие и ненесущие наружные стены могут быть применены в зданиях любой этажности. Высота самонесущих стен ограничена в целях предотвращения неблагоприятных в эксплуатационном отношении взаимных смещений самонесущих и внутренних несущих конструкций, сопровождающихся местными повреждениями отделки помещений и появлением трещин. В панельных домах, например допустимо применение самонесущих стен при высоте здания не более 4 этажей. Устойчивость самонесущих стен обеспечивают гибкие связи с внутренними конструкциями.
Несущие наружные стены применяют в зданиях различной высоты. Предельная этажность несущей стены зависит от несущей способности и деформативности её материала, конструкции, характера взаимосвязей с внутренними конструкциями, а также от экономических соображений. Так, например, применение панельных легкобетонных стен целесообразно в домах высотой до 9тАФ12 этажей, несущих кирпичных наружных стен тАФ в зданиях средней этажности, а стен стальной решетчатой оболочковой конструкции тАФ в 70тАФ100-этажных зданиях.
Внутренние стены и перегородки - основные внутренние вертикальные ограждающие конструкции в зданиях. Кроме того, внутренние вертикальные ограждающие конструкции образуют конструктивные элементы, совмещенные с инженерным оборудованием: санитарно-технические кабины, вентиляционные блоки и шахты, лифтовые шахты и пр.
Внутренние стены выполняют в здании ограждающие и несущие функции, перегородки только ограждающие. Конструкции стен и перегородок должны удовлетворять нормативным требованиям прочности, устойчивости, огнестойкости, звукоизоляции, быть паро- и газонепроницаемыми, легковозводимыми Перегородки и стены влажных помещений, кроме того, должны быть водостойкими и водонепроницаемыми.
Общая ограждающая функция внутренних стен и перегородок - обеспечение звукоизоляции от воздушного шума. В связи с этим уровень требований к звукоизоляционным качествам этих конструкций совпадает и зависит не от их статической роли в здании, а от расположения в нем. Для межквартирных и межсекционных стен и перегородок, для ограждений, отделяющих жилые комнаты от лестничных клеток и лифтовых холлов требуемый главой СНиП "Защита от шума" индекс изоляции должен составлять не менее 50 дБ, для межкомнатных - 41, для стен и перегородок, разделяющих жилые комнаты и санитарные помещения квартиры, - 45, а для ограждений между жилыми комнатами и встроенными магазинами или кафе - соответственно 55 и 60 дБ.
Для обеспечения звукоизоляции применяют акустически однородные или неоднородные конструкции. В качестве акустически однородных используют массивные однослойные ограждающие конструкции сплошного или многопустотного сечения, в качестве неоднородных- двойные стены и перегородки, стены с гибким экраном, многослойные легкие перегородки. Способ звукоизоляции выбирают исходя из целесообразного использования свойств применяемых материалов.
Ригели железобетонные - в строительстве - линейный несущий элемент (сплошной или решетчатый) в конструкциях зданий и сооружений. Соединяет стойки, колонны (ригель рамы); служит опорой прогонов, плит (ригель перекрытия, покрытия). Выполняется из железобетона.
Ригели подразделяют на типы: РДП - для опоры много пустотных плит на две его полки (двух полочный);
РДР - то же, для опоры ребристых плит;
РОП - для опоры много пустотных плит на одну его полку (одно полочный);
РЛП - то же, применяемый только в лестничных клетках;
РОР - для опоры ребристых плит на одну его полку (одно полочный);
РЛР - то же, применяемый только в лестничных клетках;
РКП - консольный для опоры много пустотных плит балконов;


Рис.9. Схема крепления ригелей.
Перекрытия тАФ это внутренние горизонтальные ограждающие конструкции здания, членящие его по высоте на этажи. Их назначение тАФ воспринять и передать на стены или колонны постоянные и временные нагрузки от людей, мебели и оборудования, а также изолировать помещения друг от друга и от влияния внешней среды. Эти функции и определяют их прочностные, а также тепло-, влаго-, газо- и звукоизолирующие качества. В многоэтажных жилых зданиях перекрытия служат связями тАФ жесткими диафрагмами, способными придавать зданию повышенную устойчивость.
Для изготовления несущих элементов перекрытий многоэтажных зданий обычно применяются несгораемые материалы; железобетон на тяжелом и на легком заполнителях (керамзито-.шла-ко-, перлитобетонах и др.}; стальной профилированный настил, металлические балки, защищенные от непосредственного воздействия огня, и т. п. Перекрытия выполняются сборными, монолитными и сборно-монолитными.Монолитные железобетонные перекрытия изготовляют на стройке в специально изготовленной опалубке, их выполняют чаше трех видов: ребристыми, кессоннированными и безбалочными (плитными)

Рис.10. Типы междуэтажных монолитных перекрытий.
а тАФ ребристое, 6тАФ кессонированное, в тАФ безбалочное 1 тАФ плита, 2 тАФ главная балка(ригель)
3 тАФ второстепенная балка, 4 тАФ колонна, 5 тАФ капитель.
Первый состоит из плиты, второстепенных и главных балок. На рисунке балки (или ребра) направлены вниз; при необходимости получить гладкий потолок устраивают перекрытие ребрами вверх, что менее экономично, так как площадь поперечного сечения верхней сжатой зоны уменьшена. Кессонированное перекрытие получают при пересечении равномерно расположенных в двух направленииях ребер одной высоты; его применяют из эстетических соображений в интерьерах обшественных зданий, а также как средство облегчения собственной
Массы плиты при больших пролетах. Безбалочные перекрытия опираются на колонны или через капители.
Типы междуэтажных сборных перекрытий.

атАФбалочные; б тАФ плитные; 1 тАФ балки; 2 тАФ межбалочное заполнение; 3 тАФ плиты
Перекрытия разделяют по видам и по типу конструкций.
Расположенные над подвальными (полуподвальными) этажами тАФ называют подвальными (полуподвальными),
расположенные над техническими подпольями тАФ цокольными,
отделяющие верхний этаж от чердака тАФ чердачными,
расположенные между смежными этажами тАФ междуэтажными.

1 тАФ опирание элементов здания; 2 тАФ собственный вес; 3 тАФ движение теплового потока; 4 тАФ диффузия водяных паров; 5 тАФ воздухопроницание; 6тАФударный шум; 7 тАФ воздушный шум; 8тАФ эксплуатационные нагрузки; 9 тАФ специфические воздействия

Рис. 12. Перекрытия по металлическим балкам
1 тАФ балки; 2 тАФ гипсобетонная плита; 3 тАФ промазка щелей раствором или подстилка толя; 4 тАФ усиление изоляции воздушного шума (песок); 5 тАФ изоляция ударного шума (упругие прокладки); 6 тАФ пол по лагам; 7 тАФ пароизоляция; 8 тАФ теплоизоляция; 9тАФ стяжка; 10 тАФ затирка; 11 тАФ металлическая сетка; 12 тАФ деревянный короб

Перекрытие по железобетонным балкам(используются редко)
а тАФ с заполнением из плит; б тАФ с заполнением из пустотелых блоков: 1 тАФ балки; 2 тАФ плиты; 3 тАФ пустотелые блоки; 4 тАФ промазка щелей раствором или подстилка толя; 5 тАФ усиление изоляции воздушного шума (песок); 6 тАФ изоляция ударного шума (упругие прокладки); 7 тАФ- изоляция воздушного и ударного шумов; 8 тАФ пол по лагам; 9 тАФ пол по стяжке; 10 тАФ пароизоляция; И тАФ теплоизоляция; 12 тАФ стяжка; 13 тАФ затирка

Перекрытие по железобетонный плитам
а тАФвиды несущих плит; бтАФ конструкции перекрытий; 1 тАФ сплошная плита (Y=400 кг/м2); 2 тАФ круглопустотная; 3 тАФ ребристая; 4 тАФ типа ТТ; 5 тАФ изоляция ударного шума; 6 тАФ пол по стяжке; 7 тАФ усиление изоляции воздушного шума (гипсобетонные плиты по лагам); 8 тАФ пол; 9 тАФ пароизоляция; 10тАФтеплоизоляция; 11 тАФ стяжка.
Крыша тАФ верхняя конструкция, отделяющая помещения здания от внешней среды и защищающая их от атмосферных осадков и других внешних воздействий. Состоит из несущей части {стропил} и изолирующих (ограждающих) частей, в том числе тАФ наружной водонепроницаемой оболочки тАФ кровли. Крыши устраивают чердачные и бесчердачные. Чердачные (над чердаком) бывают холодными (теплозащитные функции выполняет чердачное перекрытие) и утепленными. Утепленная или как говорят, Влтеплая крыша устраивается при наличии и при отсутствии чердака, когда функции чердачного перекрытия и кровли совмещаются (в последнем случае применяются названия: совмещенная крыша, совмещенное покрытие, и бесчердачное перекрытие.

Основные типы покрытий с ж.б. плитами и рулонными кровлями.
а-в тАУ невентилируемые; г, д тАУ частично вентилируемые; е тАУ вентилируемые; 1 тАУ защитный слой;2 тАУ гидроизоляционный ковер; 3 тАУ стяжка; 4 тАУ несущая плита; 5 тАУ утеплитель; 6 тАУ пароизоляция; 7 тАУ однослойная ограждающая и несущая конструкция; 8 тАУ каналы и борозды; 9 тАУ воздушная прослойка; 10 тАУ подкладки.

Покрытия со стальным профилированным настилом и с волнистыми асбестцементными листами.
а-в тАУ применение стального профилированного настила(а,б тАУ профили;в тАУ утепленное покрытие)
г тАУ покрытие с асбестцементными волнистыми листами усиленного или унифицированного профиля;
д, е тАУ то же с применением плоских асбестцементных листов; 1 тАУ балка покрытия;2 тАУ настилк;
3 тАУ рулонная пароизоляция ; 4 тАУ утеплитель; 5 тАУ гидроизоляция; 6 тАУ гравий; 7 тАУ болт; 8 тАУасбестцементный волнистый лист; 9 тАУ прокладка; 10 тАУ деревянный брус; 11 тАУ прижимная пластина; 12 тАУ крюк; 13 тАУ швеллер из асбестцемента; 14 тАУ плоский асбестцементный лист; 15 тАУ мастика; 16 тАУ утеплитель;17 тАУ то же типа мин.ватных плит; 18 тАУ нащельник; 19 тАУ деревянный каркас панели; 20 тАУ гернит; 21 тАУ рейка, фиксирующая положение утеплителя.
2. Конструктивные системы остова многоэтажных зданий
Конструктивной системой здания называется совокупность взаимосвязанных конструкций здания, обеспечивающих его прочность, жесткость и устойчивость. Несущая конструкция здания обеспечивает его пространственную устойчивость и передает нагрузки, собираемые надземной частью через подземную часть на основание тАФ способный к их восприятию грунт.
Принятая конструктивная система здания должна обеспечивать прочность, жесткость и устойчивость здания на стадии возведения и в период эксплуатации при действии всех расчетных нагрузок и воздействий.
В современном высотном строительстве применяют различные конструктивные системы и схемы с разнообразными вариантами компоновок. Вместе с тем все конструктивные системы можно разделить на три категории:
стержневые тАФ каркасные системы из вертикальных стоек тАФ колонн и связывающих их в горизонтальной плоскости балок тАФ ригелей с жесткими (рамными) узлами или стенками тАФ диафрагмами жесткости.
плоскостные тАФ стеновые системы из монолитных стен или сборных панелей;
и смешанные:
каркасно-панельные системы с наружными панельными стенами, обстраивающими расположенный внутри каркас;
панельно-блок-комнатные системы с объемными элементами и внутренними поперечными или наружными продольными несущими стенами;
каркасио-панельно-ствольные системы с монолитными башенными элементами, образующими ядро жесткости высотного здания в 12 и более этажей.
В свою очередь каркасные системы подразделяются на:
Рамные и связевые.
(особенности этих систем будут рассмотрены ниже)
Среди стеновых систем следует выделить схемы
поперечно-стеновые, продольно-стеновые, перекрестно-стеновые, коробчатые (оболочковые).
Смешанные системы сочетают в себе отдельные признаки двух других систем, к ним относят каркасноствольные и коробчатоствольные.
Стеновые.
Различают конструктивную систему поперечных стен с узким шагом (на помещение) - 3,0-4,5 м, с широким шагом (на целый дом) тАФ 4,5-7,2 м и более, и смешанным шагом, при котором чередуются узкий и широкий шаг.
В зависимости от расположения несущих стен в плане здания и характера опирания на них перекрытий различают следующие конструктивные системы:

Рис. 4. Стеновые конструктивные системы
а. поперечно-стеновые тАУ с поперечными несущими стенами.
б.перекрестно-стеновые с поперечными и продольными несущими стенами.
в.продольно-стеновые с перекрытиями - с продольно несущими стенами
Каркасная система ( рамная, рамно-связевая, связевая)
Рамная схема каркасного несущего остова зданий представляет собой систему колонн, ригелей и перекрытий, соединенных в конструктивных узлах в жесткую и устойчивую пространственную систему, воспринимающую горизонтальные (ветровые и другие) усилия.
Рамно-связевая схема каркасного здания аналогична рамной схеме с тем лишь дополнением, что горизонтальная жесткость здания увеличивается за счет диагональных связей, выполняемых, как правило, из металла. При этом часть горизонтальных усилий передается с колонн на эти связи. Особенностью рамно-связевой схемы является ограничение перемещений каркаса.
Связевая схема каркасного несущего остова зданий отличается от рамной тем, что все горизонтальные усилия в ней в обоих направлениях через сплошные междуэтажные перекрытия передаются на жесткие диафрагмы тАФ стенки или ядра жесткости. Рамы в этом случае рассчитываются только на вертикальные нагрузки. При этом сопряжения вертикальных и горизонтальных элементов конструкций могут иметь не только жесткое, но и шарнирное решение.
В несущем остове каркасного здания при связевой схеме жесткие связи можно располагать с интервалами в несколько конструктивных шагов на расстоянии не больше 48 м при сборных перекрытиях или 54 м при монолитном каркасе. Таким образом, связевая система каркаса позволяет во всех этажах здания получить достаточно большие зальные помещения между связевыми стенами.
Каркасный остов связевой системы в настоящее время имеет наибольшее распространение в массовом строительстве общественных зданий, зданий повышенной этажности и в высотных зданиях любого назначения.
Для повышения сопротивления внешним воздействиям несущей системы зданий высотой более 250 м применяют преимущественно ствольные конструктивные системы: тАЬтруба в трубетАЭ и тАЬтруба в ферметАЭ. Их компоновочная схема включает центральный ствол, воспринимающий основную долю всех нагрузок, и расположенные по периметру здания несущие элементы в виде отдельных стоек (колонн), решетчатых систем (ферм, составных стержней и др.), пилонов, которые также могут быть объединены в единую конструкцию. Жесткость ствольной системы, ее устойчивость и способность к гашению вынужденных колебаний обеспечиваются заделкой центрального ствола в фундамент.
В случаях, когда жесткости стеновой, каркасной или ствольной системы недостаточно, прибегают к комбинированным решениям, сочетающим в себе признаки разных конструктивных решений. В частности, для повышения сопротивления несущего остова здания возрастающим с высотой над уровнем земли ветровым нагрузкам применяют комбинацию ствольной и стеновой систем. В этом случае горизонтальные нагрузки воспринимаются не только внешней оболочкой и центральным стволом, но и внутренними несущими стенами. Комбинированная конструктивная система обладает большей конструктивной гибкостью в части возможности распределения доли воспринимаемых усилий за счет варьирования жесткости несущих элементов остова.

Рис.5. Схема каркасных зданий:
a тАФ рамная; б тАФ рамно-связевая; в тАФрамная с диафрагмами
жесткости; 1 тАФ рама; 2 тАФ смет; 3 тАФ диафрагма; 4 тАФ крепления
Особенности узловых соединений колонн и ригелей. Пространственный каркас несущего остова при рамной схеме должен обладать необходимой жесткостью не только в одной плоскости, но и в перпендикулярном направлении, что достигается жестким решением всех узловых стыков вертикальных и горизонтальных элементов конструкций как в продольном, так и в поперечном направлении
Связевый железобетонный каркас можно считать шарнирным, так как узел сопряжения колонны с ригелем не способен воспринимать изгибающие моменты от ветровых нагрузок. Такой каркас не обладает рамными свойствами, а работает по связевой схеме. Все нагрузки, вызывающие горизонтальное перемещение каркаса, воспринимаются сквозными вертикальными диафрагмами жесткости, связанными в пространственную жесткую коробчатую систему горизонтальными дисками перекрытий.
Сквозные диафрагмы жесткости образуются путем заполнения каркаса стенками располагающихся в плоскости и из плоскости рам. Они устанавливаются на всю высоту здания. Диафрагмы жесткости обычно совмещаются со стенами лестничных клеток, лифтовых шахт и с разделительными перегородками помещений.
В статическом отношении рамные и связевые системы отличаются способом восприятия внешних нагрузок, в конструктивном тАФ решением основных узлов.

3. Типы лестничных клеток
Лестничные марши и площадки для многоэтажных зданий
Лестница состоит из маршей и площадок и называется по количеству маршей в пределах этажа Наиболее распространены в зданиях с высотой этажа до 3 м двухмаршевые лестницы. Трехмаршевые лестницы с расположенным между маршами пассажирским лифтом обычно применяются при высоте этажа более 3 м.
Наклонный марш разделен на ступени. Уклон марша и его ширина устанавливаются в зависимости от условий эксплуатации лестниц:
Минимальная ширина рекомендуемый марша, уклон в пяти-девятиэтажных зданиях, 1,05 1:2
эвакуационных в десятиэтажных и более зданиях 0,9 1:1,75
наружной подвальной.... 0,7 1:1,5
Таким образом, минимальная ширина марша, рассчитанного на встречное движение, 1,05 м. Максимальная ширина марша, обеспечивающего безопасный спуск толпы, 2,4 м. При большой ширине марша нет возможности удержаться за перила. Суммарная ширина лестничных маршей также определяется в зависимости от количества подлежащих эвакуации людей из всех примыкающих помещений из расчета 0,5 м на 100 человек.
Количество ступеней в марше не менее 3 (чтобы не оступиться при быстром спуске) и не более 18 (чтобы не утомляться при подъеме). Обычно в зданиях с высотой этажа до 3 м в марше 8тАФ10 ступеней.
Лестничные площадки размещаются в уровне этажей и между ними. Ширина лестничных площадок этажных от 1,2 м, междуэтажных тАФ не менее ширины марша, перед входом в лифт с распашными дверьми тАФ от 1,6 м, в больницах для прохода с носилками тАФ от 2,1 м.
Ступень состоит из горизонтальной проступи и вертикального подступенка. Для удобства пользования лестницей ширина проступи и удвоенная высота подступенка должны равняться примерно 0,6 м (средний шаг человека). Ступени, расположенные в плоскости площадки, называются фризовыми.
Наиболее употребительные размеры ступеней (проступь, подступенок) 300X150 мм.
одномаршевая прямая лестница

двухмаршевая прямая лестница с промежуточной площадкой

двухмаршевая "Г" - образная лестница с угловой промежуточной площадкой

двухмаршевая "П" - образная лестница с промежуточной площадкой

трехмаршевая лестница с двумя угловыми промежуточными площадками

одномаршевая криволинейная лестница, расположенная у стены

одномаршевая криволинейная лестница, расположенная в прямоугольном объеме

винтовые лестницы

одномаршевая лестница с нижними забежными ступенями и поворотом на 90 град.

одномаршевая лестница с верхними и нижними забежными ступенями и поворотом на 90 град.

Конструктивные решения лестниц. Удобство изготовления и монтажа лестниц во многом зависит от принятого принципа разрезки на сборные элементы. Следует стремиться к максимально возможному укрупнению элементов, равновесности их между собой и остальными элементами сборного здания, единству системы опирания элементов лестниц и элементов перекрытий.

Рис. 1. Варианты разрезки сборных лестниц
а тАУ отдельные ступени; косоуры, балки и плиты; б тАУ марши и площадки; в тАУ марши с полуплощадками; г тАУ объемный блок лестничной клетки: 1 тАФ ступени; 2 тАФ косоуры; 3 тАФ балки; 4 тАФ плиты; 5 тАФ марши; 6 тАФ площадки; 7 тАФ марш с полуплощадкой; 8 тАУ дополнительная полуплощадка; 9 тАФ ригель
В зависимости от общей конструктивной системы зданий сложилось несколько вариантов разрезки лестниц. Наиболее распространены в настоящее время два основных принципиальных решения. В бескаркасных крупнопанельных зданиях лестницы собирают из отдельных маршей и площадок. Для сборки лестницы на один этаж требуются два марша и три площадки тАУ пять элементов. В этом варианте площадки опирают на поперечные стены, марши тАУ на площадки.
В каркасно-панельных зданиях лестницы собирают из одинаковых элементов тАФ марша с двумя полуплощадками Для одного этажа используют два элемента. Элемент опирают гранями полуплощадок на продольные ригели. Экспериментальную проверку проходит изготовление готовых блоков, включающих все элементы лестницы на этаж. На заводе блок может быть собран из отдельных элементов или отлит целиком в объемной форме.
4. Типы лестнично-лифтовых блоков
Обычно ЛЛУ располагают в центральной части высотных зданий. Как правило, он размещается в пределах центрального ствола строений с каркасноствольной, коробчатоствольной или аналогичными несущими системами. Предел огнестойкости конструкций лестничнолифтового узла принимают по национальным нормам проектирования, и в большинстве случаев он составляет 2 ч. Исходя из этого показателя, назначают толщину стен и перекрытий и выполняют их проектирование.
В трех-пятиэтажном здании тАФ лестница в лестничной клетке из несгораемых конструкций с пределом огнестойкости в 1 ч; мусоропровод для всех зданий в пять и выше этажей;
В шести-девятиэтажных зданиях к лестничной клетке примыкает шахта пассажирского лифта грузоподъемностью от 320 кг (иногда она располагается в самой лестничной клетке между маршами).;
В шести-девятиэтажных зданиях к лестничной клетке примыкает шахта пассажирского лифта грузоподъемностью от 320 кг (иногда она располагается в самой лестничной клетке между маршами).;
В десяти-шестнадцатиэтажиых зданиях тАФ лифтовой холл, шахты грузопассажирского и пассажирского лифтов грузоподъемностью соответственно от 500 и от
Вместе с этим смотрят:
Авангардизм як явище архiтектури ХХ столiття
Автоматическая автозаправочная станция на 250 заправок в сутки
Анализ деятельности строительного предприятия "Луна-Ра-строй"
Анализ проектных решений 20-ти квартирного жилого дома