Применение и устройство строительных машин
ГОСУДАРСТВЕННОЕ ОБРАЗОВАТЕЛЬНОЕ УЧРЕЖДЕНИЕ
ВЫСШЕГО ПРОФЕССИОНАЛЬНОГО ОБРАЗОВАНИЯ
Тихоокеанский государственный университет
КОНТРОЛЬНАЯ РАБОТА
по дисциплине ВлСтроительные машиныВ»
Студента Коростелева
Владимира Ивановича
Специальность Промышленное
и гражданское строительство
Хабаровск, 2011
Оглавление
1. Устройство и принцип действия четырехтактного карбюраторного двигателя
1.1 Основные механизмы и системы двигателя
1.1.1 Конструкция основных механизмов двигателя
1.1.2 Основные понятия и определения
1.1.3 Рабочий цикл четырехтактного двигателя
1.2 Карбюраторный двигатель
1.2.1 Система питания карбюраторного двигателя
1.2.2 Система охлаждения и смазки
2. Стреловые самоходные краны, назначение, классификация,
устройство
3. Бульдозеры, назначение, классификация, устройство
4. Типы просеивающих поверхностей, назначение, классификация грохотов
4.1 Типы просеивающих поверхностей
4.2 Назначение, классификация грохотов
5. Определить производительность бульдозера при разработке грунта
Список используемой литературы
1. Устройство и принцип действия 4-тактного карбюраторного двигателя
Двигателем внутреннего сгорания называют такой тепловой двигатель, в котором топливо в смеси с воздухом воспламеняется и сгорает внутри цилиндров, при этом теплота, выделяющаяся при сгорании топлива, преобразуется в механическую энергию для приведения в действие машины и рабочего оборудования с целью совершения полезной работы.
ДВС применяются на автомобилях, тракторах-тягачах, мобильных и прицепных строительных и дорожных машинах благодаря ряду достоинств: автономности, т.е. независимости от внешних источников энергии, высокой экономичности и постоянной готовности к работе, простоте обслуживания и управления.
1.1 Основные механизмы и системы двигателя
Поршневой ДВС состоит из следующих механизмов: кривошипно-шатунного, газораспределительного и декомпрессионного, а также систем: питания, смазки, охлаждения, зажигания (карбюраторные) и пуска.
Кривошипно-шатунный механизм (КШМ) преобразует прямолинейное возвратно-поступательное движение поршня во вращательное движение коленчатого вала.
Газораспределительный механизм обеспечивает своевременный впуск в цилиндр воздуха (у дизелей) или горючей смеси (у карбюраторных двигателей) и выпуск из цилиндра отработавших газов.
Декомпрессионный механизм (у дизелей) облегчает прокручивание коленчатого вала при запуске холодного двигателя, а также его остановку.
Система питания карбюраторного двигателя предназначена для приготовления и подачи в цилиндры горючей смеси определенного состава в необходимом количестве в соответствии с режимом его работы.
В дизельных двигателях система питания обеспечивает периодический впрыск и тонкое распыление топлива в камере сгорания в количестве, соответствующем режиму его работы. Система смазки подает к трущимся деталям двигателя масло, которое уменьшает трение и износ, охлаждает детали и удаляет с них продукты износа и загрязнения.
Система охлаждения отводит излишнее тепло от деталей двигателя и поддерживает его нормальную температуру 85..95 oС.
Система пуска осуществляет запуск двигателя.
Система зажигания карбюраторных двигателей предназначена для принудительного воспламенения рабочей смеси от электрической искры. У дизеля система зажигания отсутствует.
1.1.1 Конструкция основных механизмов двигателя
а) Кривошипно-шатунный механизм (КШМ).
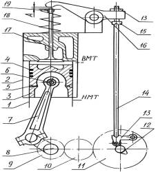
КШМ (рис. 1) состоит из гильзы 1, размещенной в блоке цилиндров 2, поршня 3 с компрессионными 4 и маслосъемными кольцами 5. Поршень 3 пальцем 6 соединен с шатуном 7, который установлен на шатунной шейке коленчатого вала 8 двигателя.

Рис. 1. Схема кривошипно-шатунного и газораспределительного механизмов
Поршни изготавливают из сплавов алюминия АЛ-25 и подвергают термической обработке.
Поршневые компрессионные кольца 4 должны создавать герметичность полости цилиндра, их изготавливают из специальных марок чугуна с хромированием рабочих поверхностей. Маслосъёмные кольца 5 снимают излишки масла со стенок гильзы 1. Поршневой палец 6 шарнирно соединяет поршень 3 с шатуном 7 и для облегчения выполнен полым. Шатун 7 передает коленчатому валу 8 силу давления газов со стороны поршня 3.
Подшипники шатунные и коренные коленчатого вала 8 служат для уменьшения трения при вращении коленчатого вала в коренных опорах и в месте соединения шатуна с коленчатым валом.
Коленчатый вал 8 воспринимает нагрузки от шатунов 7 и служит для преобразования энергии возвратно-поступательного движения поршня 3 в энергию вращательного движения маховика. Маховик предназначен для вывода поршня из мертвых точек и достижения равномерности вращения коленчатого вала двигателя. Маховик также дает возможность преодолевать кратковременные перегрузки. Материал маховика - серый чугун.
в) Газораспределительный механизм
На четырехтактных автотракторных двигателях применяется клапанный механизм распределения. Различают механизмы с нижним и верхним расположением клапанов. В современных конструкциях наиболее распространено верхнее расположение клапанов. При верхнем расположении клапанов улучшается наполнение цилиндров горючей смесью (воздухом), достигается большая степень сжатия, что повышает экономичность двигателя.
Движение от шестерни 9 (рис. 2), установленной на коленчатом валу 8, передается на промежуточную шестерню 10, а затем на шестерню 11 распределительного кулачкового вала 12.
При вращении кулачок вала 12 через ролик передает движение толкателю 13 и через штангу 14 на регулировочный винт 15 и коромысло 16, давление от которого передается на клапан 17, сжимая при этом клапанную пружину 18, удерживаемую на клапане 17 с помощью двух сухариков 19. Перемещение клапанов 17 сообщает полость цилиндра с атмосферой. Диаметр тарелки впускного клапана больше, чем выпускного.
В процессе работы клапан нагревается, и его длина увеличивается. Для исключения нарушения герметичности камеры сгорания при нагрева-нии клапанов предусмотрен тепловой зазор А между клапаном и бойком коромысла. Для впускных клапанов А = 0,35 мм, выпускных - 0,45 мм.
1.1.2 Основные понятия и определения
Верхняя мертвая точка (ВМТ) - верхнее расположение поршня в гильзе цилиндра.
Нижняя мертвая точка (НМТ) - нижнее расположение поршня в гильзе цилиндра.
Ход поршня - расстояние между ВМТ и НМТ.
Рабочий цикл двигателя - совокупность процессов, последовательно и периодически протекающих в цилиндре.
Такт - часть рабочего цикла двигателя, происходящая за один ход поршня (от одной мертвой точки к другой). Двигатели, в которых рабочий цикл совершается за четыре хода (такта) поршня или за два оборота коленчатого вала, называются четырехтактными. Двигатели, в которых рабочий цикл совершается за два хода поршня или за один оборот коленчатого вала, называются двухтактными.
Рабочий объем цилиндра - объем, освобождаемый поршнем при его перемещении от ВМТ к НМТ
![]()
где S - ход поршня; D - диаметр цилиндра.
Объем камеры сжатия Vс - объем над поршнем, когда он находится в ВМТ. Полный объем цилиндра - сумма объема камеры сжатия и рабочего объема цилиндра, т.е. пространство над поршнем, когда он находится в НМТ - V = Vс + Vn. Степень сжатия E = V/Vc. Таким образом, E - показатель уменьшения объема смеси или воздуха, сжатых в цилиндре. У карбюраторных двигателей E= 6..10.
Увеличение степени сжатия способствует повышению мощности и экономичности двигателя.
Смесь, поступающая в цилиндр двигателя из карбюратора, называется горючей смесью. Продукты сгорания топлива называются отработанными газами. Главными параметрами двигателя являются номинальная мощность и номинальная частота вращения коленчатого вала.
1.1.3 Рабочий цикл четырёхтактного двигателя
Двигатели, у которых весь рабочий цикл совершается за четыре хода (такта) поршня или за два оборота коленчатого вала, называются четырехтактными.
Рабочие циклы четырехтактных двигателей (дизелей и карбюраторных) имеют одинаковые названия тактов: впуск, сжатие, рабочий ход, выпуск.
При вращении коленчатого вала 8 (рис. 2) движение посредством шатуна 7 передается поршню 3, а через шестерни 9,10,11 - распределительному валу 12, который воздействует своими кулачками на толкатели 13, штанги 14, регулировочные винты 15, коромысла 16 и открывает клапаны 17, преодолевая усилие пружины 18.
Первоначальное вращение коленчатому валу 8 передается от системы пуска (стартера или пускового карбюраторного двигателя), а после запуска двигателя его вращение обеспечивается за счет энергии сгорания горючей смеси.
1.2 Карбюраторный двигатель
а) Впуск. При движении поршня от ВМТ к НМТ в цилиндре создается некоторое разрежение (примерно 0,005..0,025 МПа), и горючая смесь из карбюратора поступает через открытый впускной клапан. Выпускной клапан закрыт (рис. 2).

Рис. 2. Схема рабочего цикла четырехтактного двигателя
б) Сжатие рабочей смеси. Горючая смесь, перемешанная с оставшимися в цилиндре отработанными газами, называется рабочей смесью. Сжатие рабочей смеси начинается при движении поршня из НМТ к ВМТ, при этом оба клапана закрыты. В конце такта "сжатие", когда поршень находится на незначительном расстоянии от ВМТ, между электродами запальной свечи проскакивает электрическая искра от системы зажигания, и рабочая смесь воспламеняется. Температура рабочей смеси перед воспламенением достигает 350..450 oС, а давление 0,6..2,2 МПа.
в) Рабочий ход. Теплота, выделяющаяся при сгорании, резко повышает температуру (до +1900..2400 оС) и давление (до 2,0..2,5 МПа) газов. Под действием усилия давления газов поршень движется от ВМТ к НМТ. При этом газы совершают полезную работу.
г) Выпуск отработанных газов. При движении поршня от НМТ к ВМТ открывается выпускной клапан, происходит выталкивание (выпуск) отработанных газов. Температура газов составляет 600..800 оС.
После прихода поршня в ВМТ рабочий цикл повторяется.
1.2.1 Система питания карбюраторного двигателя
В карбюраторных двигателях к основным элементам системы питания относятся карбюратор, топливный бак с отстойником, подкачивающий насос. Рассмотрим принцип действия простейшего карбюратора (рис. 3). Карбюратор служит для приготовления горючей смеси. Карбюратор состоит из корпуса 1, воздушной заслонки 2, дроссельной (топливной) заслонки 3, диффузора 4, распылителя 5, жиклера 6, поплавковой камеры 7, поплавка 8, игольчатого клапана 9, побудителя 10 и воздушного фильтра 11.

Рис. 3. Схема простейшего карбюратора
При заполнении топливом (бензином) поплавковой камеры 7 поплавок всплывает, и при определенном уровне игольчатый клапан 9 прекращает поступление топлива через трубку 12. Благодаря разрежению, возникающему в цилиндре при движении поршня, воздух через воздухоочиститель 11 поступает в диффузор 4. Вследствие уменьшения сечения в диффузоре 4 скорость воздуха возрастает, а давление падает. Под действием разности давлений в диффузоре 4 и атмосферного давления в поплавковой камере 7 топливо поступает в жиклер 6 и фонтанирует через распылитель 5 в диффузоре, где подхватывается потоком воздуха, испаряется и поступает в цилиндр двигателя. При истечении топлива из распылителя 5 уровень его в поплавковой камере 7 понизится, поплавок 8 опустится вниз и игольчатый клапан 9 откроет подачу топлива.
Дроссельная заслонка 3 служит для регулирования количества поступающей рабочей смеси. При пуске двигателя воздушный трубопровод карбюратора прикрывается воздушной заслонкой 2, а дроссельная заслонка 3 полностью открывается.
1.2.2 Система охлаждения и смазки
В процессе сгорания топлива часть тепла передается стенкам камеры сгорания и цилиндрам двигателя. Перегрев двигателя сопровождается изменением зазоров, повышением износа трущихся деталей и может привести к заклиниванию деталей, образованию трещин в головках цилиндров, смолообразованию, т.е. выделению из масел твердой фазы. Оптимальной температурой является 85..95 оС. Работа двигателя при температуре ниже оптимальной снижается срок службы двигателя, увеличивает расход топлива.
Системы охлаждения автотракторных двигателей по типу охлаждающего агента подразделяются на воздушную и жидкостную. Наибольшее распространение получило жидкостное охлаждение. В качестве охлаждающего агента используется вода, этиленгликоль, тосол, дизельное топливо и другие жидкости. Этиленгликоль, тосол, дизельное топливо применяются в зимнее время и в условиях Крайнего Севера.
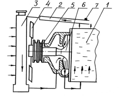
Жидкость, отводящая тепло от нагретых деталей двигателя, находится в пространстве между стенками блока и головки цилиндра, образуя так называемую рубашку 1 (рис. 4). Нагреваемая жидкость из рубашки 1 по водяному коллектору 2 отводится в радиатор 3 - специальный охладитель. Охлаждение жидкости в радиаторе 3 производится путем обдува его с помощью вентилятора 4, приводимого шкивом 5. Циркуляция жидкости в системе охлаждения обеспечивается центробежным насосом 6, находящимся на одном валу с приводом шкива 5.
Привод шкива осуществляется клиноременной передачей от коленчатого вала двигателя.

Рис. 4. Система охлаждения двигателя
Охлаждение двигателя - водяное, с принудительной циркуляцией. В качестве охлаждающей жидкости применяется чистая пресная вода, дождевая или речная. Жесткую воду следует смягчать кипячением, предварительным добавлением 8 г каустической соды (NaOH) на 10 л воды или хромонатриевой соли (хромпик) Na2 Cr2 O3 в количестве 30 г на 10 л воды.
Для удаления накипи сливают воду и в систему охлаждения заливают раствор, содержащий 750..800 г соды (NaOH) и 250 г керосина на 10 л воды. Двигатель запускают и прогревают на средних оборотах в течение 10 минут. Затем останавливают двигатель, и раствор оставляют в системе на 10..12 часов. После этого двигатель вновь прогревают, сливают раствор и промывают чистой водой в количестве не менее 150 литров.
Система смазки служит для уменьшения сил трения, отвода тепла от трущихся поверхностей, а также удаления продуктов износа из зон трения. Кроме того, слой смазки, находящийся на поверхности гильзы, колец и поршня, обеспечивает уплотнение цилиндра.
Двигатель имеет комбинированную систему смазки: часть деталей смазывается под давлением, часть - разбрызгиванием масла. Под давлением смазываются коренные и шатунные подшипники, подшипники газораспределительного вала. Остальные узлы смазываются разбрызгиванием.
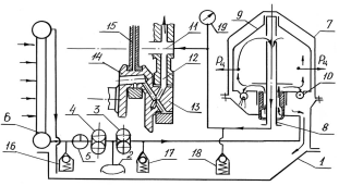
Моторное масло, находящееся в картере (поддоне) 1 (рис. 5), через маслоприемник 2 с крупной сеткой всасывается двумя секциями 3 и 4 шестеренного насоса и направляется по двум направлениям: в масляный радиатор 6 через трехходовой кран-переключатель "зима-лето" 5 и для смазки деталей двигателя.

Рис. 5. Система смазки двигателя
Масло из секции 3 направляется к центробежному очистителю 7, внутри которого на оси 8 установлен ротор 9, в нижней части имеющий два сопла 10. Под давлением масло вытекает из сопел 10, создающих "сегнеров" эффект, в результате которого ротор 9 начинает вращаться со скоростью 5500..6000 об/мин. Загрязняющие частицы масла, находящегося в роторе, под действием центробежной силы прилипают к стенкам ротора 9. Очищенное масло по каналу внутри оси 8 поступает к горизонтальному каналу 11, просверленному в блоке цилиндров двигателя, а от него каналами 12 к коренным шейкам 13 коленчатого вала и по косо расположенному каналу к шатунным шейкам 14. Смазка поршневых пальцев осуществляется через канал 15 в шатуне.
Давление в системе смазки регулируется редукционным клапаном 16, предохранительным 17 и сливным 18 клапанами соответственно на 0,6; 0,7; 0,35 МПа.
Контроль давления осуществляется по манометру 19. Оптимальное давление составляет 0,25..0,35 МПа.
2. Стреловые самоходные краны, назначение, классификация, устройство
Стреловые самоходные краны представляют собой стреловое или башенно-стреловое крановое оборудование, смонтированное на самоходном гусеничном или пневмоколесном шасси. Такие краны являются основными грузоподъемными машинами на строительных площадках и трассах строительства различных коммуникаций. Широкое распространение стреловых самоходных кранов обеспечили: автономность привода, большая грузоподъемность (до 250 т), способность передвигаться вместе с грузом, высокие маневренность и мобильность, широкий диапазон параметров, легкость перебазировки с одного объекта на другой, возможность работы с различными видами сменного рабочего оборудования (универсально) и т. д. Различают стреловые самоходные краны общего назначения для строительно-монтажных и погрузочно-разгрузочных работ широкого профиля и специальные для выполнения технологических операций определенного вида (краны-трубоукладчики, железнодорожные и плавучие краны и т. п.).
Стреловые самоходные краны общего назначения классифицируют следующим образом:
а) по грузоподъемности: легкие (грузоподъемностью 10 т),средние (грузоподъемностью 10..25 т), тяжелые (грузоподъемностью выше 25 т)
б) по типу ходового устройства: автомобильные (на стандартных шасси грузовых автомобилей), тракторные (навесные на серийные тракторы), пневмоколесные, гусеничные, имеющие специальные шасси
в) по количеству и расположению силовых установок: с одной силовой установкой на ходовом устройстве (шасси), с одной силовой установкой на поворотной части, с двумя силовыми установками
г) по количеству приводных двигателей механизмов: с одномоторными приводами, многомоторным приводами
д) по типу привода: с механическим приводом, электрическим приводом, гидравлическим приводом
е) по количеству и расположению кабин управления: с кабинами только на шасси, только на поворотной платформе, на шасси и на поворотной платформе
ж) по конструкции стрелы: со стрелой неизменяемой длины, выдвижной стрелой, c телескопической стрелой
з) по способу подвески стрелы: с гибкой (на канатных полиспастах), жесткой (с помощью гидроцилиндров) подвеской

Рис. 1.Схема индексации стреловых самоходных кранов
Основные типоразмеры и параметры современных стреловых самоходных кранов, а также технические требования к ним регламентированы ГОСТ 22827-85 ВлКраны стреловые самоходные общего назначения. Технические условияВ». В соответствии с этим стандартом предусмотрен выпуск десяти размерных групп стреловых самоходных кранов грузоподъемностью 4; 6,3; 10; 16; 25; 40; 63; 100; и 250 т. Указанные грузоподъемности кранов - это максимально допустимая масса груза, которую может поднять кран данной размерной группы при минимальном вылете основной стрелы.
Всем моделям стреловых самоходных кранов общего назначения, выпускаемых в Российской Федерации, присваивается индекс, структурная схема которого показана на рис. 1. Первые две буквы индекса КС обозначают кран стреловой самоходный; четыре основные цифры индекса последовательно обозначают: размерную группу (грузоподъемность в т) крана, тип ходового устройства, способ подвески стрелового оборудования и порядковый номер данной модели крана.
Десять размерных групп кранов обозначаются соответственно цифрами 1..10. Тип ходового устройства указывается цифрами 1..9, причем цифра 1 обозначает гусеничное устройство (Г), 2 - гусеничное уширенное (ГУ), 3 - пневмоколесное (П), 4 - специальное шасси автомобильного типа (Ш), 5 - шасси стандартного грузового автомобиля (А), 6 - шасси серийного трактора (Тр), 7 - прицепное ходовое устройство (Пр), 8, 9 - резерв. Способ подвески стрелового оборудования указывается цифрами 6 или 7, обозначающими соответственно гибкую или жесткую подвеску. Последняя цифра индекса (цифры 1..9) обозначает порядковый номер модели крана. Следующая после цифрового индекса дополнительная буква (А, Б, В и т. д.) обозначает порядковую модернизацию данного крана, последующие буквы (ХЛ, Т или ТВ) - вид специального климатического исполнения машины: ХЛ - северное, Т - тропическое, ТВ - для работы во влажных тропиках.
Например, индекс КС-4561АХЛ обозначает: кран стреловой самоходный, четвертой размерной группы (грузоподъемностью 16 т), на стандартном шасси грузового автомобиля, с гибкой подвеской стрелового оборудования, первая модель, прошедшая первую модернизацию, в северном исполнении.

Рис. 2. Схемы стреловых самоходных кранов: а тАУ гусеничного с гибкой подвеской стрелового оборудования; б тАУ пневмоколесного с жесткой подвеской стрелового оборудования
Каждый стреловой самоходный кран (рис. 2) состоит из следующих основных частей: ходового устройства 1, поворотной платформы 13 (с размещенными на ней силовой установкой 10, узлами привода 9, механизмами и кабиной машиниста 17 с пультом управления), опорно-поворотного устройства и сменного рабочего оборудования. Исполнительными механизмами кранов являются: механизм подъема груза, изменения вылета стрелы (крюка), вращения поворотной платформы и передвижения крана.
Стреловые самоходные краны могут осуществлять следующие рабочие операции:
тАФ подъем и опускание груза;
тАФ изменение угла наклона стрелы при изменении вылета;
тАФ поворот стрелы в плане на 360В°;
тАФ выдвижение телескопической стрелы с грузом;
тАФ передвижение крана с грузом.
Отдельные операции могут быть совмещены (например, подъем груза или стрелы с поворотом стрелы в плане). Шасси кранов 14 с пневмоколесным ходовым устройством (рис. 2, б), оборудуется выносными опорами-аутригерами 18 в виде поворотных (откидных) или выдвижных кронштейнов с опорными винтовыми или гидравлическими домами на концах. Аутригеры снижают нагрузки на пневмоколеса, увеличивают опорную базу и устойчивость крана. При работе без выносных опор грузоподъемность крана резко снижается и составляет 20..30 % от номинальной.
На кранах устанавливают стреловое и башенно-стреловое оборудование. Основными видами стрелового оборудования являются невыдвижная (жесткая) и выдвижная решетчатые стрелы 3, телескопическая стрела 15 с одной или несколькими выдвижными секциями для изменения их длины. Длину выдвижных стрел можно изменять только в нерабочем состоянии крана, телескопических - действующей рабочей нагрузке. Основное стреловое оборудование обеспечивает наибольшую грузоподъемность крана при требуемых ГОСТом вылете от ребра опрокидывания и высоте подъема крюка. Наибольшая грузоподъемность соответствует наименьшему вылету стрелы. С увеличением вылета грузоподъемность уменьшается. Зависимость грузоподъемности и высоты подъема груза от вылета стрелы называется грузовой характеристикой крана и изображается графически в виде кривых, которые даются в паспортах кранов. Пользуясь графиками, можно определить грузоподъемность и высоту подъема крюка для любого вылета основной стрелы и сменного рабочего оборудования. К сменному рабочему оборудованию относят удлиненные дополнительными вставками (секциями) жесткие и выдвижные стрелы, с применением которых увеличивается зона, обслуживаемая краном, но соответственно снижается грузоподъемность. В комплекс стрелового оборудования входят также стреловой полиспаст 6 или гидроцилиндры 16 для изменения угла наклона стрелы и крюковая подвеска 4 с грузовым полиспастом 5 для подъема и опускания груза.
Для увеличения вылета и полезного подстрелового пространства основные и удлиненные сменные стрелы оснащают дополнительными устройствами - управляемыми и неуправляемые гуськами, которые могут иметь второй (вспомогательный) крюк, подвешиваемый на полиспасте малой кратности и предназначенный для подъема с большей скоростью небольших по массе грузов.
У некоторых моделей кранов на основных жестких стрелах взамен крюка может навешиваться двухчелюстной грейферный ковш (грейфер) с канатным управлением для погрузки - разгрузки сыпучих и мелкокусковых материалов. Подъем основного груза или замыкание челюстей грейферного ковша производится главной грузовой лебедкой 7. Подъем-опускание крюковой подвески гуська и грейфера осуществляется вспомогательной грузовой лебедкой 8.
Башенно-стреловое оборудование кранов состоит из башни, управляемого гуська или маневровой стрелы, стрелового полиспаста и грузового полиспаста с крюковой подвеской. Такое оборудование по сравнению со стреловым обеспечивает увеличение обслуживаемой зоны в плане примерно в два раза.
Стреловое и башенно-стреловое оборудование вместе с главной грузовой, вспомогательной и стреловой лебедками, механизмом вращения поворотной части крана, узлами их привода и управления монтируют на поворотной платформе 13. Для уравновешивания крана во время работы на поворотной платформе устанавливают противовес 12. У кранов с гибкой подвеской стрелового оборудования (см. рис. 2, а) на поворотной платформе смонтирована двуногая опорная стойка 11, несущая стреловой полиспаст 6. Краны с жесткой подвеской стрелового оборудования (см. рис. 2,б) не имеет двуногую стойку, стрелоподъемные - лебедку и полиспаст; подъем-опускание стрелы у таких машин осуществляется одним или двумя гидроцилиндрами 16. Поворотная платформа соединена с рамой ходового устройства унифицированным опорно-поворотным кругом 2, который обеспечивает возможность вращения платформы с рабочим оборудованием в плане.
Привод исполнительных механизмов кранов с одномоторным (механическим) приводом осуществляется от дизельного или электрического двигателя через механическую трансмиссию. Эти краны имеют сложную кинематическую схему с большим количеством зубчатых передач, муфт и тормозов. Для изменения направления рабочих движений в кинематическую цепь одномоторных кранов включен реверсивный механизм.
Основными недостатками кранов с механическим приводом являются невозможность бесступенчатого и плавного регулирования скоростей исполнительных механизмов, отсутствие низких ВлпосадочныхВ» скоростей опускания груза, необходимых при ведении монтажных работ. Выпуск кранов с одномоторным приводом постоянно сокращается, они будут заменены машинами с многомоторным приводом.
Многомоторный привод обеспечивает независимую работу исполнительных механизмов, бесступенчатое регулирование их скоростей в широком диапазоне, получение монтажных скоростей перемещения груза, упрощает кинематику кранов, улучшает технико-эксплуатационные показатели машин и т. п.
У кранов с многомоторным приводом исполнительные механизмы приводятся индивидуальными электрическими или гидравлическими двигателями. Питание электродвигателей механизмов может осуществляться от внешней силовой сети переменного тока напряжением 380В, частотой 50 Гц или от генераторной установки машины. Питание индивидуальных гидравлических двигателей механизмов обеспечивается гидронасосами через распределительную систему, Привод генератора и гидронасосов осуществляется обычно от основного двигателя машины - дизеля.

Грузоподъемность Q- главный параметр стреловых самоходных кранов. К основным параметрам этих кранов (рис. 3) относятся: вылет L - расстояние от оси вращения поворотной части крана О-О до центра зева крюка; вылет от ребра опрокидывания - расстояние от ребра опрокидывания до центра зева крюка: А1 - при работе без выносных опор, А2 - при работе на выносных опорах; высота подъема крюка Н - расстояние от уровня стоянки крана до центра зева крюка, находящегося в крайнем верхнем положении; глубина опускания крюка h - расстояние от уровня стоянки крана до центра зева крюка, находящегося в крайнем нижнем рабочем положении; скорость подъема и опускания груза Vгр; скорость посадки груза Vn - минимальная скорость опускания груза при монтаже и укладке конструкций, а также при работе с предельными по массе для данной модели крана грузами; частота вращения поворотной части крана Nп; скорость изменения вылета Vв - скорость перемещения крюка по горизонтали при изменении его вылета; время изменения вылета tв - продолжительность перемещения крюка от одного предельного положения стрелы до другого; скорость телескопирования Vт - скорость движения секций выдвижных или телескопических стрел относительно основной (невыдвижной) секции при изменении длины стрел; рабочая скорость передвижения Vр - скорость передвижения крана с грузом на крюке; транспортная скорость крана vтр - скорость передвижения крана, стреловое оборудование которого находится в транспортном положении; колея крана К - расстояние между вертикальными осями, проходящими через середины опорных поверхностей ходового устройства; база крана Б - расстояние между вертикальными осями передних и задних ходовых тележек или колес; минимальный радиус поворота крана Rк - расстояние от центра поворота до наиболее удаленной точки крана при минимальном радиусе поворота шасси крана; размеры опорного контура выносных опор (поперек и вдоль); преодолеваемый уклон пути α- наибольший угол подъема, преодолеваемый краном, движущимся с постоянной скоростью, установленная мощность Ру; конструктивная Tк и эксплуатационная Tэ массы крана.
3. Бульдозеры, назначение, классификация, устройство, производительность
Бульдозеры предназначены для послойного срезания грунта, его перемещения на небольшое расстояние и разравнивания. Их широко используют в различных отраслях гражданского, промышленного, гидротехнического и мелиоративного строительства, при прокладке железных и автомобильных дорог, в аэродромном строительстве, в горнодобывающей промышленности. Бульдозеры применяют для разработки песчано-гравийных карьеров, котлованов, выемок и траншей, сооружения каналов, прудов и водоемов, возведения насыпей, дамб и плотин, на вскрышных работах при добыче полезных ископаемых открытым способом.
Состоит бульдозер из базовой машины 6 (гусеничного или колесного трактора или колесного промышленного тягача) и навесного бульдозерного оборудования, расположенного спереди. Бульдозерное оборудование включает в себя рабочий орган (отвал) 2, толкающее устройство 9 (толкающие брусья или толкающую раму) и систему управления отвалом 7 (гидравлическую или канатную).
Отвал бульдозера представляет собой жесткую сварную металлоконструкцию с лобовым листом криволинейного профиля. Чтобы предотвратить пересыпание грунта при работе на несвязных и рыхлых грунтах, к средней части отвала приваривают козырек. Вдоль нижней кромки отвала с помощью болтов крепят режущие ножи 1. Для увеличения объема перемещаемого грунта (при работе на легких грунтах) отвал бульдозера может быть удлинен путем установки с обоих его концов уширителей, прикрепленных к отвалу болтами. Толкающее устройство состоит из балок коробчатого сечения. Передняя часть толкающего устройства шарнирно соединена с отваломтАЩ бульдозера, а задняя тАФ также шарнирно с опорами, расположенными на базовом тракторе. Отвалом бульдозера управляют из кабины машиниста с помощью гидравлической или канатной системы управления. При гидравлическом управлении подъем и опускание отвала и фиксирование его в заданном положении, а иногда и его перекос в вертикальной (поперечной) плоскости осуществляются с помощью гидроцилиндров 5 системы управления, установленных на базовой машине. Этими гидроцилиндрами управляют с помощью рычагов гидрораспределителя, установленного в кабине машиниста. Применение гидроперекоса отвала расширяет область применения бульдозера и повышает его эксплуатационные возможности на планировочных работах. Отвал бульдозера может быть перекошен в поперечной плоскости в левую или правую сторону с помощью гидроцилиндра перекоса, которым управляют из кабины машиниста. Непосредственно на гидроцилиндре перекоса установлен запорный клапан, фиксирующий положение отвала в поперечной плоскости. При канатном управлении подъем и опускание отвала и фиксирование его в заданном положении выполняются с помощью канатноблочной системы управления, приводимой от лебедки, установленной на базовой машине (гусеничном тракторе). Лебедкой управляют с помощью рычага, размещенного в кабине машиниста.

1 тАФ нож; 2 тАФ отвал; 3 тАФ козырек; 4 тАФ кронштейн; 5 тАФ гидроцилиндр подъема-опускания; б тАФ базовый трактор; 7 тАФ рычаг управления гидрораспределителем; 8 тАФ поперечная балка с цапфами; 9 тАФ толкающий брус
Бульдозеры классифицируют по: назначению, массе и мощности, силе тяги базовой машины и типу движетеля, отдельным конструктивным признакам; системе управления рабочим органом.
По назначению бульдозеры делятся на бульдозеры общего назначения, приспособленные для выполнения разнообразных землеройно-планировочных и строительных работ в различных грунтовых условиях, и на бульдозеры специального назначения, которые предназначаются для определенных видов работ (например, для прокладки дорог, чистки снега, сгребания торфа).
По мощности двигателя и номинальному тяговому усилию бульдозеры классифицируются на:
| Типы | N, кВт (л.с.) | ТН, кН |
| Малогабаритные | До 15 (20) | До 25 |
| Легкие | 15,5-60 (21-80) | 26-75 |
| Средние | 60-108 (81-147) | 80-145 |
| Тяжелые | 110-220 (150-300) | 150-300 |
| Сверхтяжелые | 220 (>300) | >300 |
По типу движетеля базовой машины бульдозеры разделяются на гусеничные и колесные. Колесные бульдозеры создаются на базе колесных тракторов, колесных тягачей, автомобилей и специализированных самоходных машин (автогрейдеров и др.).
По размещению рабочего органа бульдозерного оборудования на базовой машине различают бульдозеры с передним и задним расположением отвала.
По типу механизма управления бульдозеры разделяются на бульдозеры с гидравлическим, канатным и смешанным управлением. В бульдозерах с гидравлическим управлением отвал внедряется в грунт принудительно за счет усилий гидросистемы. Эти усилия могут дос
Вместе с этим смотрят:
Авангардизм як явище архiтектури ХХ столiття
Автоматическая автозаправочная станция на 250 заправок в сутки
Анализ деятельности строительного предприятия "Луна-Ра-строй"
Анализ проектных решений 20-ти квартирного жилого дома