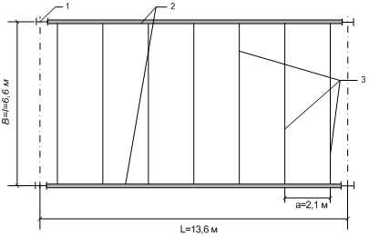
Монтажная схема балочной площадки
В данном проекте произведены два расчета и приведена монтажная схема балочной площадки:
1. Расчет балок настила, со схемами балочной клетки нормального типа и расчетной схемой
2. Расчет центрально сжатой колонны.
1. Исходные данные
- Пролет L=13,6 м
- Шаг колонB=6,6 м
- Шаг балок настилаa=2,1 м
- Отметка верха настилаH=9,9 м
- Нормативная временная нагрузкаpH=2500 кг/м2
- Толщина железобетонного настилаt=12 см
- Сталь С245Ry=2400 кг/см2
- плотность железобетона rВ=2500 кг/м3
- относительный прогиб балок настила
Ва=![]()
2. Расчет балок настила

Рис. Схема балочной клетки нормального типа: 1 тАУ колонна; 2 тАУ главные балки; 3 тАУ балки настила
Расчетная схема

Сбор нагрузок на 1 м2 настила
Таблица 1
| № п/п | Наименование нагрузки | Нормативная нагрузка, кг/м2 | Коэффициент перегрузки, gr | Расчетная нагрузка, кг/м2 |
| 1 | Временная полезная нагрузка, pH | 2500 | 1,2 | 3000 |
| 2 | Вес железобетонного настила (rB х t=2500 х 0,12=300) | 300 | 1,1 | 330 |
| 3 | Вес металлических балок | 30 | 1,05 | 32 |
| Итого: | gН=2830 | g=3362 | ||
Нормативная нагрузка на балку настила:
qH= gН+a=2830 x 2,1=5943 кг/м=59,43 кг/см
Расчетная погонная нагрузка на балку настила:
q=g x a = 3362 х 2,1 = 7060,2 кг/м
Максимальный изгибающий момент:
Mmax=
=
=38442,8 кг/м
Проверка прочности изгиба элементов:
s= Откуда выражаем требуемый момент сопротивления балки Wтр: Wтр= h тАФ высота двута Балки двутавровые (ГОСТ 8239-89) Вместе с этим смотрят: Авангардизм як явище архiтектури ХХ столiття Автоматическая автозаправочная станция на 250 заправок в сутки Анализ деятельности строительного предприятия "Луна-Ра-строй" Анализ проектных решений 20-ти квартирного жилого дома![]()
=
=1601,8 см3
вра; b тАФ ширина полки; s тАФ
толщина стенки;
t тАФ средня
я толщи
на полки; R тАФ радиус внутрен
него закругления
; r тАФ радиус закругления
полки