Расчет сопротивления ограждающей конструкции
Содержание
1. Расчет сопротивления теплопередаче ограждающей конструкции
2. Расчет сопротивления паропроницанию ограждающей конструкции
3. Расчет сопротивления воздухопроницанию ограждающей конструкции
4. Список литературы
1. Расчет сопротивления теплопередаче ограждающей конструкции
1) Выписываем характеристики района строительства:
-расчетная температура наружного воздуха холодного времени года-
text=- 40 0С (определяем по приложению 1 источника [1]);
-средняя температура воздуха периода со среднесуточной температурой воздуха меньшей 8 0С тАУ tht=-6.2 0С (определяем по приложению 1 источника [1]);
-продолжительность периода со среднесуточной температурой воздуха меньшей 8 0С тАУ zht=264 сут (определяем по приложению 1 источника [1]);
-зона влажности тАУ нормальная (определяем по приложению 1 источника [1]);
2) Назначение помещения тАУ клуб:
- температура внутреннего воздуха тАУ tint=18 0С (определяем по таблице 1.2 источника [1]);
-влажность воздуха в указанном помещении тАУ φ=55% (определяем по таблице 1.3 источника [1]);
3) Влажностный режим помещения тАУ нормальный (определяем по таблице 1.1 источника [1]);
4) Условия эксплуатации ограждающей конструкции тАУ Б (определяем по таблице 1.4 источника [2]);
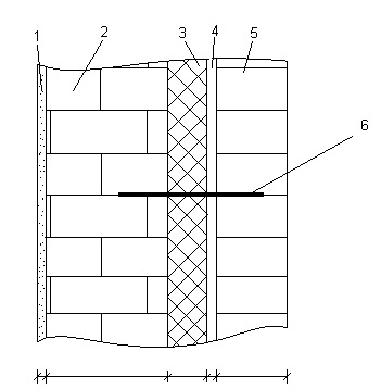
5) Конструкция стены:

0,015 0,250 0,020 0,120
| Теплотехнические характеристики материала стены | |||
| Материал | Наименование характеристик | ||
δ, м. | ρ, кг/м3 | λ, Вт/м. 0С | |
| 1. Мрамор | 0,015 | 800 | 0,91 |
| 2. Кирпичная кладка из силикатного четырнадцатипустотного кирпича на цементно-песчаном растворе | 0,25 | 1400 | 0,52 |
| 3. Пенополистирол Стиропор PS30 | x | 225 | 0,0072 |
| 4. Воздушная прослойка | 0,020 | 0,15 | |
| 5. Кирпичная кладка из силикатного четырнадцатипустотного кирпича на цементно-песчаном растворе | 0,120 | 1400 | 0,52 |
| 6. Стальной анкер | 0,004 | 7850 | 58 |
Вместе с этим смотрят:
Анализ деятельности строительного предприятия "Луна-Ра-строй"
Анализ проектных решений 20-ти квартирного жилого дома
Архитектура в коммуникативном аспекте
Архитектурно-ландшафтное проектирование автомобильных дорог
Благоустройство и озеленение участка загородного дома