Земляные работы в строительстве
1. Общие положения
Строительство любых зданий и сооружений вызывает необходимость переработки грунтов, включающей в свой состав их разработку, перемещение, укладку и уплотнение. Весь комплекс этих процессов называют земляными работами.
Удельный вес земляных работ в общем объеме строительно-монтажных работ очень велик и составляет около 15% по стоимости и до 20% по трудоемкости. На земляные работы приходится около 10% всех рабочих, занятых в строительстве. Объемы земляных работ постоянно растут и составляют свыше 15 млрд.м в год. Переработка такого количества грунта возможна лишь при условии комплексной механизации и эффективной технологии производства работ.
Одним из важных резервов снижения объемов земляных работ, а следовательно, и стоимости строительства, использование которого полностью зависит от архитектора, является обеспечение привязки зданий и проектирование вертикальной планировки с учетом рельефа местности.
Снижение стоимости и трудоемкости земляных работ следует достигать, используя рациональные проектные решения, обеспечивающие максимальную сбалансированность необходимых выемок и насыпей при минимальных расстояниях перемещения грунта, комплексы машин, что сводит к минимуму объемы работ, выполняемых вручную.
В настоящее время земляные работы в основном выполняют механизированные комплексы, а ручная разработка грунта предусмотрена только в местах, недоступных для машин, так как производительность ручного труда в 20..30 раз ниже механизированного, что существенно влияет на общие затраты труда.
Промышленность выпускает различные высокопроизводительные землеройные, землеройно-транспортные, уплотняющие машины и механизмы.
Выбор комплекта машин и способа производства работ осуществляют на основании технико-экономического анализа различных вариантов.
Важными условиями дальнейшего совершенствования технологии земляных работ являются:
В· рациональная организация производства земляных работ по времени года тАФ сокращение объемов работ, выполняемых в зимнее время;
В· повышение доли применения высокопроизводительных землеройных машин;
В· создание и внедрение в производство комплектов машин для засыпки траншей и котлованов, уплотнения и разработки мерзлых грунтов.
2. Виды земляных сооружений
В промышленном и гражданском строительстве земляные работы приходится выполнять при устройстве котлованов и траншей под фундаменты и подземные коммуникации, при возведении земляного полотна дорог, а также планировке площадок.
Выемки и насыпи, получаемые в результате разработки и перемещения грунта, называют земляными сооружениями. Они имеют следующие названия:
котлован тАФ выемка шириной более 3 м и длиной не менее ширины;
траншея тАФ выемка шириной менее 3 м и длиной, многократно превышающей ширину;
шурф тАФ глубокая выемка с малыми размерами в плане;
насыпь тАФ сооружение из насыпного и уплотненного грунта;
резерв тАФ выемка, из которой берут грунт для возведения насыпи;
кавальер - насыпь, образуемая при отсыпке ненужного грунта, а также создаваемая для его временного хранения.
Земляные сооружения бывают:
В· постоянные тАФ насыпи дорог, плотины, дамбы, ирригационные и мелиоративные каналы, водоемы, планировочные площадки жилых кварталов, промышленных комплексов, стадионов, аэродромов и т. д.
В· временные тАФ выемки для прокладки подземных коммуникаций и устройства фундаментов, насыпи для временных дорог.
В зависимости от назначения земляных сооружений к ним предъявляют различные требования в отношении крутизны и тщательности отделки откосов, степени уплотнения и фильтрующей способности грунта, его устойчивости к размыванию и других механических свойств.


Рис. 1. Элементы откоса: а - выемки; б тАУ насыпи.
Для обеспечения устойчивости земляных сооружений (насыпей и выемок) их возводят с откосами, крутизну которых характеризует отношение высоты h к заложению l, h/l=1/m, где m тАФ коэффициент откоса (рис.1).
Крутизна откосов определена строительными нормами и правилами (СНиП III-8-76 ВлЗемляные сооруженияВ») для постоянных и временных земляных сооружении в зависимости от их глубины или высоты и вида грунта. Откосы насыпей постоянных сооружений делают более пологими, чем откосы выемок. Более крутые откосы допускают при устройстве временных котлованов и траншей.
3. Классификация грунтов
Грунтами в строительном производстве называют породы, залегающие в верхних слоях земной коры. Составляющими грунтов являются минеральные частицы различной крупности и органические примеси. По характеру структурных связей частиц грунты делятся на два класса:
¾ скальные грунты, где отдельные частицы сцементированы между собой, в результате чего грунт обладает большой прочностью;
¾ нескальные грунты, состоящие из разрушенных горных пород. В зависимости от крупности частиц, их содержания и количества органических примесей нескальные грунты делят на крупнообломочные, песчаные, супесчаные, глинистые, суглинистые, лессовые, илы и торф.
Свойства и количество грунта влияют на устойчивость земляных сооружений, трудоемкость разработки и стоимость работ.
Выбор наиболее эффективного способа разработки или укрепления грунта осуществляют с учетом его основных свойств: плотности, влажности, коэффициента фильтрации, сцепления и разрыхляемости.
Плотность тАФ масса 1 м3 грунта в естественном состоянии (в плотном теле). Плотность песчаных и глинистых грунтов составляет 1,6..2,1 т/м3, а скальных неразрушенных грунтов тАФ до 3,3 т/м3.
Влажность тАФ степень насыщения грунта водой, которую характеризует отношение массы воды в грунте к массе твердых частиц грунта, выраженное в процентах. При влажности до 5% грунты считают сухими, 5..30% тАФ влажными, а более 30% тАФ мокрыми.
Коэффициент фильтрации тАФ показатель способности грунта пропускать (дренировать) воду. Он измеряется количеством воды, пропускаемым в сутки и зависит от состава и плотности грунта. Для песчаного грунта этот коэффициент находится в пределах 0,5..75, глинистоготАФ 0,001..1 м/сут.
Сцепление тАФ показатель начального сопротивления грунта сдвигу. Зависит от вида грунта и его влажности и составляет для песчаных грунтов 3..50 кПа, для глинистых тАФ 5..200 кПа.
Разрыхляемость тАФ показатель способности грунта увеличиваться в объеме за счет уменьшения плотности при его разработке. Этот показатель характеризуется коэффициентом разрыхления. Различают коэффициент первоначального и остаточного разрыхления: Кр и Ко.р.
Коэффициент первоначального разрыхления представляет собой отношение объема разрыхленного грунта к объему грунта в естественном состоянии.
Для песчаных грунтов Кр составляет 1,08. .1,17, суглинистыхтАФ 1,14.. 1,28 и глинистых тАФ 1,24..1,3.
Уложенный в насыпь грунт даже под влиянием массы вышележащих слоев или механического уплотнения не достигает того объема, который он занимал до разработки.
Отношение объема уплотненного грунта к объему грунта до его разработки характеризует коэффициент остаточного разрыхления. Для песчаных грунтов он составляет 1,01.. 1,025, суглинистых тАФ 1,015..1,05 и глинистых тАФ 1,04..10,9.
Плотность и сцепление грунта в основном влияют на трудность его разработки. Классификация грунтов по трудности разработки приведена в ЕНиР (сборник 2, вып. 1, раздел 1, Техническая часть, табл. 1 и 2) с учетом вида используемых машин. При разработке одноковшовыми экскаваторами грунты по трудности разработки подразделяются на шесть групп, многоковшовыми и скреперами тАФ на две группы, а при ручной тАФ на семь групп.
В процессе производства земляных работ часто возникает необходимость в осушении и закреплении грунта с использованием метода электроосмоса или в температурном воздействии на грунт при его оттаивании и искусственном замораживании. В этих случаях требуется знать электропроводность и теплофизические свойства грунта, которые в основном зависят от степени влажности грунта, но не от его вида.
4. Подготовительные и вспомогательные работы при возведении земляных сооружений
Возведение земляных сооружений требует выполнения подготовительных и вспомогательных работ. К подготовительным работам относятся: подготовка территории, геодезическая разбивка, обеспечение водоотвода и осушение, прокладка дорог.
К вспомогательным работам относятся: устройство временных креплений котлованов и траншей, обеспечение водоотлива или понижения уровня грунтовых вод, искусственное закрепление слабых грунтов.
Разбивка земляных сооружений предусматривает установление и закрепление их положения на местности. Выполняют разбивку по разбивочным чертежам, привязанным к сетке координат данной площадки. Методы разбивки зависят в основном от вида сооружения и способа производства работ. Различают разбивочные работы для отдельных котлованов, земляных сооружений линейного типа (дороги, каналы, плотины и т. п.), сооружений с развитыми по всем направлениям в плане контурам и т. п.
Разбивку котлованов начинают с выноса и закрепления на местности створными знаками основных разбивочных осей, за которые в большинстве случаев принимают главные оси здания: IтАФI и IIтАФII (рис.2,а). Затем вокруг будущего котлована на расстоянии 2..3 м от его бровки параллельно основным разбивочным осям устанавливают обноску, состоящую из забитых в грунт металлических стоек или вкопанных деревянных столбов и прикрепленных к ним досок на высоте, обеспечивающей свободный проход людей. Доска должна быть толщиной не менее 40 мм, иметь обрезную грань, обращенную кверху, и крепиться не менее чем на трех стойках. В местах пропуска транспорта делают разрывы. На местности со значительным уклоном обноску устраивают уступами. На доски обноски переносят основные разбивочные оси, а от них размечают все остальные оси здания, закрепляя их гвоздями или пропилами и нумеруя. После возведения подземной части здания основные разбивочные оси переносят на его цоколь.

Рис. 2. Схемы разбивки котлованов (а) и траншеи (б): 1 тАФ обноска; 2 тАФ доска; 3 тАФ стойка
Для линейно-протяженных сооружений устраивают только поперечные обноски, располагающиеся на прямых участках через 50 м, а на закругленных тАФ через 20 м. Обноску устраивают также на всех пикетах и точках перелома профиля. Применяют металлические инвентарные обноски (рис.2,6).
Высотную разбивку и вынос отметок выполняют методом геометрического нивелирования от реперов геодезической разбивочной основы, которых должно быть не менее двух.
Правильность разбивки проверяют проложением контрольных полигонометрических теодолитных и нивелирных ходов. Ошибка при этом не должна превышать погрешности разбивки.
Временное крепление стенок выемок. В стесненных условиях и в водонасыщенных грунтах стенки траншей и котлованов приходится делать вертикальными, с установкой временных креплений. Временное крепление выполняют из деревянного или металлического шпунта, деревянных щитов с опорными стойками, щитов с распорными рамами (рис.3).

Рис. 3. Крепление стенок шпунтом (а), щитами с опорными стойками (б), щитами с распорными рамами (в)
1-анкерная связь; 2-оттяжка, 3 опорная стойка; 4-направляющая; 5-шпунтовое ограждение, 6- щиты, 7-стойка распорной рамы, 8 тАУраспорка.
Стенки выемок глубиной более 8 м часто крепят, используя метод Влстена в грунтеВ»,
Шпунтовое ограждение применяют при водонасыщенных грунтах вблизи существующих зданий и сооружений. Шпунт погружают до разработки выемки.
В грунтах естественной влажности стенки котлованов и траншей целесообразно крепить деревянными щитами с опорными стойками. Щитовое крепление устраивают в процессе разработки выемки или после, в зависимости от степени подвижности грунта. Наиболее эффективными являются крепления с инвентарными распорными рамами из металлических трубчатых стоек и распорок. Они имеют сравнительно небольшую массу, легко собираются и разбираются. Телескопическая конструкция распорки дает возможность регулировать ее длину, а наличие муфты с винтовой нарезкой позволяет плотно прижимать щиты к стенкам выемки. Распорки со стойками крепят между собой на различной высоте с помощью штырей.
5. Определение объемов земляных работ
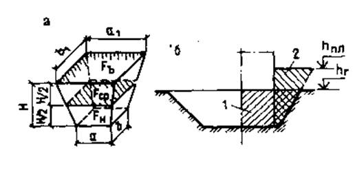
Объемы производства разрабатываемого грунта определяют в плотном теле по объему грунта при основных производственных процессах и площади поверхности при подготовительных и вспомогательных процессах (планировка откосов, пропашка поверхности и т. д.). При проектировании земляных сооружений подсчет объема разрабатываемого грунта сводят к определению объемов различных геометрических фигур, ограниченных ровными плоскостями. Наиболее часто приходится определять объемы котлованов и траншей.
Определение объема котлована. Для подсчета объема котлована, представляющего собой призматозоид (рис. 4, а), вначале определяют его размеры следующим образом:
а = А+0,5*2; =В + 0,5*2;
а1= а + 2Нт; 1= В + 2Нт,
где а и в - размеры сторон котлована понизу, м;
а1 и b1 - размеры сторон котлована поверху, м;
А и В - размеры фундамента понизу, м; 0,5-рабочий зазор от края фундамента до начала откоса, м;
Н - глубина котлована, вычисленная как разность между средней арифметической отметкой верха котлована по углам (черной тАФ если котлован на планировочной насыпи и красной тАФ на планировочной выемке) и отметкой дна котлована, м;
m тАФ коэффициент откоса, нормируемый СНиП III-8-76.
Объем котлована определяют как
VK = H [(2a + a1) b + (2a1+a) bl] / 6.
Объем обратной засыпки пазух котлована определяют как разность объемов котлована и подземной части сооружения (рис. 4,б).

Рис. 4. Схема для определения объемов котлована (а) и обратной засыпки (б): 1тАФобъем выемки; 2тАФобъем обратной засыпки
Определение объема траншеи и других линейно-протяженных земляных сооружений. Его определяют с учетом продольного и поперечного профилей сооружения. С этой целью выделяют участки между точками перелома профиля по дну траншеи и ее поверхности.
Для каждого из таких участков объем вычисляют отдельно, после чего их суммируют. Участок рассматривают как трапецеидальный призматоид (рис. 5), приближенный объем которого равен:
V = (F1 +F2) L / 2 (завышенный) или
V = Fср.L (заниженный),
где F1, F2-площади поперечного сечения в начале и в конце рассматриваемого участка, м²;
Fср. тАФ площадь поперечного сечения на середине рассматриваемого участка, м2 ;
L - длина участка, м.
Точное значение объема определяют по формуле Мурзо:
V = Fcp+[m(Н1 + H2)2/12]L,
где H1, H2 - глубина в начале и в конце участка, м.

Рис. 5 Схема для определения объема траншеи
Определение объемов грунтовых масс при вертикальной планировке. На застраиваемой территории, как правило, выполняют планировочные работы, связанные со срезкой выступающих и засыпкой западающих мест. В зависимости от объемов и вида срезаемого грунта, дальности его перемещения, рельефа местности определяют способ планировки. Существует несколько методов определения объемов работ по вертикальной планировке территории. Выбор метода зависит от сложности рельефа и требуемой точности подсчета. Наиболее распространенными являются методы четырехгранных и трехгранных призм.
Сущность этих методов состоит в том, что весь участок на плане с горизонталями делят на элементарные фигуры, по каждой из которых определяют объемы работ, а затем суммируют их.
Метод четырехгранных призм. Предусматривает членение площади участка на прямоугольники или квадраты со сторонами 10..100 м. Чем спокойнее рельеф местности, тем больших размеров принимают стороны прямоугольника. Дальнейший расчет будет проще, если прямоугольники принять одинаковых размеров. Для всех вершин прямоугольников вычисляют черные (местные) отметки hч тАФ путем интерполяции значений соседних горизонталей, красные (проектные); hпр тАФ по заданной планировочной отметке и имеющемуся уклону, рабочие отметки H тАФ как разность между красной и черной отметками. Рабочая отметка со знаком ВлплюсВ» показывает высоту насыпи, а со знаком ВлминусВ» тАФ глубину выемки. Вычисленные отметки записывают рядом с вершиной по схеме, приведенной на рис. 6.

Рис. 6.Схема разбивки местности при определении объемов планировочных работ методом четырехгранных призм. Цифры в кружках тАФ номера фигур
Между двумя вершинами с рабочими отметками разного знака находят такую точку, в которой рабочая отметка равна нулю. В этой точке не требуется никаких земляных работ. Расстояние от нее до вершин, имеющих соответствующие рабочие отметки Н1 и Н2, находят по правилу пропорциональности сторон подобных треугольников, причем Н1 и H2 входят в формулу как абсолютные величины:
X1=аH1/(H1 + H2),
где X1 тАФ расстояние нулевой точки от вершины, имеющей рабочую отметку H1, м;
a тАФ длина стороны прямоугольника между вершинами с рабочими отметками Н1 и H2, м.
Соединив между собой нулевые точки, получают линию нулевых работ, являющуюся границей между зоной планировочной выемки и планировочной насыпи.
Линия эта рассекает отдельные прямоугольники на другие геометрические фигуры различных размеров. По каждой фигуре, расположенной в той или иной зоне, определяют объем насыпи и выемки, умножая площадь фигур на среднюю рабочую отметку. Средняя рабочая отметка есть сумма рабочих отметок в вершинах рассматриваемой фигуры, деленная на число вершин этой фигуры. Результаты подсчета заносят в ведомость, имеющую следующую форму:
| № фигур | Выемка (тАФ) | Насыпь(+) | ||||
| F | Hcp | V | F | Hcp | V | |
| ∑Fв | ∑Vв | ∑Fн | ∑Vн | |||
Вместе с этим смотрят:
Анализ проектных решений 20-ти квартирного жилого дома
Архитектурно-ландшафтное проектирование автомобильных дорог
Благоустройство и озеленение участка загородного дома
Вариантное проектирование балочной клетки рабочей площадки
Владимирский собор в Херсонесе