Аналiз та розробка пристроiв для експериментального визначення властивостей ТСрунту
Реферат
на тему:
Аналiз та розробка пристроiв для експериментального визначення властивостей ТСрунту
Змiст
Вступ
1. Огляд лiтератури та патентний пошук
2. Теоретичний аналiз виконання даного технологiчного процесу
3. ОбТСрунтування конструктивних та технологiчних параметрiв
4. Розрахунок вузлiв та деталей на мiцнiсть
5. Технiко-економiчна оцiнка розробки
Висновки
Список використаноi лiтератури
грунт обробка твердомiр
Вступ
Як показуi життiвий досвiд розвитку будь-якого виробництва, найкращiй реалiзацii кожного процесу сприяють: знання властивостей обтАЩiктiв обробки; конкретизацiя вимог до виду i стану продукту, який одержують у результатi обробки; розумiння сутi технологiчного процесу, який повинен органiзуватися вiдповiдно до специфiчних властивостей обтАЩiкта обробки.
До числа найважливiших завдань, якi стоять перед нами, вiдносять досягнення стiйкого росту сiльськогосподарського виробництва, надiйне забезпечення краiни продуктами харчування та сiльськогосподарською сировиною. Для вирiшення цих завдань необхiдно широко впроваджувати високоефективнi засоби механiзацii на всiх етапах вирощування, пiдживлювання та збирання сiльськогосподарських культур.
Створення високоефективних засобiв механiзацii неможливе без вивчення теоретичних основ роботи сiльськогосподарських машин та методiв розрахунку iх параметрiв. Довгий час машини та знаряддя для сiльського господарства створювались iнтуiтивно, без якого-небудь наукового обТСрунтування.
Наука про сiльськогосподарськi машини почала формуватись в нашiй краiнi в кiнцi ХIХ столiття. Першим в свiтi науковцем, який розробив теоретичнi та науково-експериментальнi обТСрунтування конструкцiй сiльськогосподарських машин був наш спiввiтчизник академiк Василь Прохорович Горячкiн. Розроблену ним науку про сiльськогосподарськi машини вiн назвав тАЮЗемледельчиской механикойтАЭ.
Вiн заснував закони механiки до аналiзу робочих процесiв сiльськогосподарських машин. Ця та iншi роботи вiдкрили широкi можливостi для рацiональних конструкцiй i технiчних процесiв та основою режимiв роботи сiльськогосподарських машин.
1. Огляд лiтератури та патентний пошук
Для визначення твердостi ТСрунту використовують прилади тАФ ТСрунтовi твердомiри рiзних конструкцiй. Ранiше i твердiсть ТСрунту вимiрювали загостреною палицею, яка за формою нагадувала знаряддя з обробiтку ТСрунту. З другоi половини XIX ст. професор Н.РЖ.Желiзнов запропонував дня визначення твердостi ТСрунту використовувати динамометричний лом. Металевий лом iз загостреним кiнцем мав вимiрювальнi подiлки на загостренiй частинi. При вiльному вертикальному падiннi лома з висоти 1 м пiсля заглиблення в ТСрунт визначали твердiсть ТСрунту й енергетичнi потреби для його обробiтку. Пiзнiше було запропоновано багато конструкцiй твердомiрiв, у тому числi копри, лопати-твердомiри тощо. Кожна конструкцiя мала як своi науковi i практичнi переваги, так i недолiки. Найбiльше поширення одержав твердомiр В. П. Горячкiна, вдосконалений спiвробiтниками Всесоюзного науково-дослiдного iнституту сiльськогосподарського iнституту машинобудування. Цей твердомiр записуi вимiрювану твердiсть ТСрунту па глибинi 0-30 см. Маса приладу до 16 кг.
В експедицiях та маршрутних дослiдженнях ТСрунтiв використовують пружиннi твердомiри конструкцii РЖ. Ф. Голубiва та Н. А. Качинського масою до 1 кг.
Розрiзняють твердомiри, якi працюють:
1. Методом вдавлювання;
2. Методом зрiзу.
Усi твердомiри працюють за iдиним принципом тАУ вдавлювання вимiрювального органа в дослiджуваний ТСрунт. Зокрема розглянемо пристрiй для випробування ТСрунтiв крутним зрiзом.
Цей пристрiй складаiться з корпуса (Рис.1.), штанги установленiй у корпусi, вимiрювальну головку рукоятки, розмiщенi вiдповiдно на одному з кiнцiв штанги i корпуса, i чотири лопатi, попарно розмiщенi в однiй площинi i оснащенi пластиною, один кiнець якоi жорстко звтАЩязаний з iншим кiнцем штанги, на внутрiшнiй поверхнi виконанi пази, пластина рухомо розмiщена у пазах корпуса, одна пара лопатiв встановлена без зазору на iншому кiнцi пластини, а друга тАУ на iншому кiнцi корпуса з зазором мiж лопатнями, великим, бiльшим нiж ширина лопатiв першоi пари.
Установлюють пристрiй нормально до поверхнi дослiджуi мого ТСрунту. За допомогою рукоятки 8 задавлюють ТСрунт на задану глибину штангу 7 з пластиною 10 i лопатнями 11 та 12. При цьому пластина 10 перемiщуiться по пазах 5 i 6 в корпусi 1, а лопатi в зазорi Б мiж лопатнями 3 i 4.
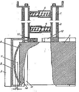
Аналогiчний пристрiй з деякими конструктивними вiдмiнностями запропонований: вiн складаiться з корпуса 1 (Рис.2.), в ньому розмiщенi штанги 2, кожна з яких закрiплена на однiй iз лопатiв 3, двi паралельнi пари телескопiчних стаканiв 4, розмiщенi мiж штангами 2, перпендикулярно до них, пружини 5 розмiщенi мiж стаканами 4 вздовж iх вiсi, та вимiрювальнi вузли. Лопатi 3 установленi паралельно друг другу. Кожний вимiрювальний вузол, а iх два, виконаний у виглядi пружинного елементу 6, звтАЩязаного з лопаттю 3, i датчика 7 опору, встановленого на пружинному елементi 6 та взаiмодiючого з рiжучими ножами 8, кожний рiжучий нiж 8 виконаний з загостреною кромкою 9 i за допомогою упору 10 встановлений в пазу 11, виконаному у лопатi 3, звтАЩязаного за допомогою фiксатора 12 зi штангою 2.
Пристрiй працюi наступним чином :
Прикладаючи зусилля вздовж вiсi 2, вдавлюють лопатi 3 в ТСрунт. Стакани 4 запобiгають попаданню ТСрунту до пружин 5. Прикладання до штанг 2 перпендикулярно до iх вiсi стискаюче зусилля, через лопатi 3 передають його пружнiм елементам 6, а через них тАУ рiжучим ножам.
Телескопiчне зтАЩiднання стаканiв 4, жорстко закрiплених на штангах 2, забезпечуi паралельний рух лопатiв 3 в вертикальнiй площинi в протилежнi сторони.

Рисунок 1. Твердомiр

Рисунок 2. Пристрiй для вимiрювання твердостi ТСрунту
В данiй роботi розглянемо конструктивну схему твердомiра:
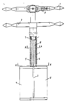
Вiн складаiться зi штампа 1 (Рис.3.) з отворами, навантажувальноi штанги 2 симетричнi вiдносно його вертикальноi вiсi крильчатки 3 зi штоками 4, розмiщенi на штампi 1, кожусi 5 з отворами 6 у верхньому торцi i розмiщенi всерединi штампу 1 втулки 7, опираючись на опорний пiдшипник 8. Навантажувальна штанга 2 оснащена зовнiшньою трубою 9 з кронштейнами 10, зтАЩiднаними з штоками 4 крильчаток 3, i ручками 11.
Для проведення дослiдження на ТСрунтi на штамп 1 з пiднятими крильчатками, ступенями через навантажувальну штангу 2 передаiться вертикальне навантаження, а пiсля стандартноi стабiлiзацii вимiрюiться вiдповiдна осадка.
Розрахунок модуля деформацii розраховуiться простим чином:
Пiсля розвантаження штампу, в ходi другого занурення при досягненнi тиску на нього рiвному 0,5Рроб. в ТСрунт проштовхуються дiаметрально протилежнi крильчатки 3 i за допомогою знiмного динамометричного ключа визначають крутнi моменти, необхiднi для iх прокручування.
При цьому при прокручуваннi крильчаток 3 спiльно з ними обертаються стакани 7, що знижуi тертя верхнiх торцевих поверхонь крильчаток 3 об ТСрунт i тим самим пiдвищуi точнiсть дослiдження.
Пiсля дослiджування, крильчатки 3 виймаються з ТСрунту безпосередньо вертикально перемiщенню зовнiшньоi труби 9, зтАЩiднаною з штампами 4 крильчаток 3, кронштейнами 10.

Рисунок 3.
Твердомiр стацiонарний
1. Штамп
2. Нагрузочна штанга
3. Крильчатка
4. Шток
5. Кришка
6. Пiдшипник
7. Стакан
8. Пiдшипник
9. Труба
10. Кронштейн
11. Ручки
12. Прокладка
2.Теоретичний аналiз виконання даного технологiчного процесу
Пiд технологiчними властивостями ТСрунту необхiдно вважати лише тi фiзико-механiчнi властивостi, якi суттiво впливають на закономiрностi i характер технологiчних процесiв, його механiчного обробiтку.
Технологiчною властивiстю може бути одна з фiзико-механiчних властивостей або сукупнiсть декiлькох. До технологiчноi властивостi ТСрунту вiдносять: мiцнiсть, фрикцiйнi властивостi, липкiсть, пластичнiсть, крихкiсть i пружнiсть.

Рисунок. 4. Дiаграма твердостi ТСрунту
Усi твердомiри працюють за iдиним принципом тАФ вдавлювання вимiрювального органу в дослiджуваний ТСрунт. Перед використанням у твердомiр вставляють наконечник конiчноi форми (конус) з вiдомою площею вдавлювання (для твердих ТСрунтiв тАФ 1 см2; для розпушених тАФ 2 см2). Твердомiри мають самописцi, за допомогою яких записують дiаграму змiни сил вдавлювання вимiрювального конуса в дослiджуваний ТСрунт. За записаною дiаграмою змiни сили вдавлювання вимiрювального конуса в ТСрунт визначають середню твердiсть ТСрунту Т за формулою:
Ва[6]
де h тАФ середня ордината дiаграми, см;
gП тАФ жорсткiсть пружини твердомiра, Н/см;
S тАФ площа вдавлювання в ТСрунт вимiрювального конуса, см2.
На рис. 4 наведено зразок дiаграми твердостi ТСрунту, записаноi пристроiм твердомiра.
На дiаграмi i кiлька фаз. У першiй фазi (дiлянка ОА) опiр ТСрунту деформацii зростаi майже пропорцiйно глибинi занурення конуса в ТСрунт до l=lA=5..6 см. Друга фаза АВ i перехiдною. Пiд час заглиблення в ТСрунт вимiрювального конуса перед його вимiрювальною площиною утворюiться конусоподiбний нарiст з ущiльненого ТСрунту тАФ ущiльнене ядро. В i третiй фазi ВС ТСрунт деформуiться конусоподiбним наростом, який розклинюi його, змiщуючи в боки, i зустрiчаi при цьому постiйний опiр тАФ ТСрунт "тече".
Перша фаза у кiлька разiв менш тривала, нiж третя, однак маi важливе практичне значення, тому що в реальних умовах деформацiя ТСрунту машинами, як правило, не виходить за межi першоi дiлянки дiаграми (менше lА). Тiльки пiсля проходу конусом орного шару крива СВ здiймаiться вгору, оскiльки на своiму шляху конус натрапляi на пiдорну пiдошву плуга.
Для характеристики ТСрунту користуються також коефiцiiнтом об'iм ного зминання ТСрунту д, Н/см3, який визначають за формулою:
Ва[6]
де РА тАФ сила вдавлювання конуса до точки А дiаграми, Н;
lА тАФ глибина заглиблення конуса, що вiдповiдаi РА, см.
Для свiжозораного ТСрунту коефiцiiнт об'iмного зминання дорiвнюi 1 тАФ2 Н/см3,для стернi, парiв, лугiв тАФ 5тАФ10, для ТСрунтовоi дороги тАФ 50тАФ 100 Н/см3.
Коефiцiiнт об'iмного зминання ТСрунту можна використати для визначення затрат роботи на процес зминання. Вiн також характеризуi межунiсноi здатностi ТСрунту. Роботу зминання на дiлянцi ОА(lА) визначають за формулою:
Ва[6]
![]()
Аналогiчно визначають роботу зминання в межах текучостi ТСрунту на дiлянцi ВС (див. рис. 1.2).
Теоретично вважають, що на основi дiаграми, яку одержують при вдавлюваннi в ТСрунт металевого конуса твердомiра, можна використовувати такий приблизний вираз (до початку текучостi ТСрунту пiд тиском):
Ва[6]
де Р тАФ опiр ТСрунту вдавлюванню в нього конуса, Н;
q тАФ об'iмний коефiцiiнт зминання ТСрунту, Н/см3;
S - площа основи конуса, або площа зминання, cм2;
h тАФ глибина занурення конуса в ТСрунт, см.
Припускають, що сила опору вдавлюванню в нього конуса пропорцiйна витiсненому об'iму ТСрунту:
Ва[6]
РЖснують конструкцii твердомiрiв, в яких вiдлiк твердостi ТСрунту ведуть за шкалою приладу.
На основi даних, одержаних за допомогою твердомiра, Н. А. Качинський подiляi ТСрунти на такi категорii: Р > 10 МПа тАФ злитий; 5тАФ10 МПа тАФ дуже щiльний; 3тАФ5 МПа тАФ щiльний; 2тАФ3 МПа тАФ щiльнуватий; 1тАФ2 МПа тАФ крихкуватий; до 1 МПа тАФ крихкий.
Крiм того на твердiсть ТСрунту значно впливаi його вологiсть з пiдвищенням вологостi ТСрунту його твердiсть зменшуiться.

Графiк залежностi твердостi глинистого ТСрунту вiд вологостi
Мiж твердiстю i питомим опором ТСрунту пiд час оранки iснуi пряма пропорцiйна залежнiсть: чим вища твердiсть ТСрунту тим, бiльший його питомий опiр.
У разi зменшення твердостi ТСрунту зменшуiться питомий опiр при його оранцi.
Знання цих властивостей ТСрунту дозволяi знайти шляхи i методи зменшення енергоiмностi його механiчного обробiтку, правильно розрахувати i спроектувати робочi органи i визначити умови iхнього рацiонального застосування. Для цього потрiбно знати граничну мiцнiсть ТСрунту при його опорi деформацiям рiзного виду.
При вимiрюваннi твердомiром твердостi ТСрунту необхiдно памтАЩятати, що твердiсть ТСрунту методом зрiзу необхiдно проводити на необхiднiй глибинi. Так для твердомiру який розглядаiться у данiй курсовiй роботi, спочатку крильчатки заглиблюють на Рмах , але для вимiрювання параметрiв необхiдно цi крильчатки заглиблювати вдруге, але вже на 0,5Рмах i вже на такiй глибинi проводити необхiднi нам вимiри та дослiдження.
3. ОбТСрунтування конструктивних та технологiчних параметрiв
Для твердомiра розроблено чотирилопатевi крильчатки i при цьому iх i двi для бiльш точного вимiрювання.
На кожен ТСрунтовий агрегат або елементарну частку дii сила R, яка являi собою рiвнодiючу нормального тиску N i сили тертя Fтр. В результатi агрегати i частки ТСрунту зсуваються в напрямку дiючоi на них сили ТСрунту R пiд кутом φ внутрiшнього тертя ТСрунту до нормальноi сили N. При цьому безперервно формуються все новi й новi поверхнi зсуву, якi сягають граничних значень, якi дорiвнюють сумi сил зчеплення i внутрiшнього тертя.
Вiдповiдний й максимальний тиск Ргр називають межею несучоi спроможностi ТСрунту, яка залежить не тiльки вiд його властивостей, але i вiд площi контакту. РЖз збiльшенням останньоi i Ргр , тобто точно, зсуваiться бiльше високого граничного тиску.
Здатнiсть ТСрунту чинити опiр зминанню характеризуiться середньою твердiстю:
Ва[6]
де h тАУ середня ордината дiаграми твердомiра;
k тАУ коефiцiiнт жорсткостi пружини;
s тАУ площа поперечного перерiзу плунжера;
Здатнiсть ТСрунту чинити опiр зминанню. Максимальне напруження зминання:
Ва[6]
Витрати енергii на зминання ТСрунту визначаiться за формулою:
Ва[6]
РЖнакше кажучи, при рiвностi лiнiйних деформацiй у першiй i другiй фазах витрата енергii в другiй фазi в два рази вища, нiж у першiй, тобто витрата енергii на одиницю часу деформацii ТСрунту в два рази вища нiж у фазi ущiльнення. Про це необхiдно памтАЩятати при проектуваннi опорних поверхонь сiльськогосподарських машин. Мiж параметрами, що характеризують ТСрунт чинити опiр зминанню i тяговим органам рiзних ТСрунтообробних машин спостерiгаiться високий кореляцiйний звтАЩязок.
4. Розрахунок вузлiв та деталей на мiцнiсть
Розрахунок штока на згин i на кручення:
нехай F=50Н

Рис.
Σ МА=0; ![]()
Σ МВ=0; ![]()
Для (0 Q = - RB = - 39.5 H M = RB В· x = (при х=0) = 0 (при х=56)= -39,5В·0,56 = -2,2 Н В· м Для (0<х<76) M = RB В· 56 + RA В· (56 + x) (при х = 0) М = 2,2 + 89,5 В· 0,056 = 2,8 Н В· м (при х = 76) М = 2,2 + 89,5 В· 0,132 = 9,6 Н В· м Для (0<х<60) М = -F + х В· RA (при х = 0) М = -F = -50 Н ∙ м (при х = 60) М = -F + 0,06 ∙ 50 = -47 H ∙ м З теорii мiцностi на згин: При умовi мiцностi на кручення: 5. Технiко-економiчна оцiнка розробки Використання даного пристрою даi можливiсть пiдвищувати економiчнiсть обробки ТСрунтiв. Наприклад, для окремих видiв ТСрунтiв потрiбна окрема обробка. Для бiльш твердих ТСрунтiв потрiбно виконати бiльше операцiй по обробiтку ТСрунту, тобто затратити бiльше енергii для того щоб вихiдний продукт був потрiбноi якостi. Для менш твердого ТСрунту потрiбна менша затрата енергii для отримання потрiбноi якостi обробки ТСрунтiв. Для площi земельних угiдь якi налiчують близько 2000 гектарiв даннi дослiдження необхiднi. А тому необхiдне вимiрювання твердостi ТСрунтiв. Це дозволяi пiдвищити економiчнiсть обробiтку ТСрунту. Так для прикладу для глинистих ТСрунтiв, ТСрунтiв суглинку та iнших твердих та глевких ТСрунтiв потрiбна одна сила для подолання опору плугу при оранцi, яка майже в два рази перевищуватиме силу, яка потрiбна для проведення оранки на пухких ТСрунтах, тобто пiсчаних та iнше. При дослiдженнi, перед обробкою ТСрунту, твердостi ТСрунту i зняттям необхiдних параметрiв можна для тих чи iнших ТСрунтiв призначити необхiднi режими обробки глибину оранки, швидкiсть та iншi параметри для того щоб правильно вiдрегулювати робочi органи, а також для даного агрегату призначити необхiднi потужностi трактора. Це зумовлюi економiю часу i затраченоi енергii. А отже пiдвищуi продуктивнiсть i знижуi собiвартiсть вихiдного продукту. Висновки В данiй курсовiй роботi: тАЮАналiз та розробка пристроiв для експериментального визначення властивостей ТСрунтутАЭ , я на основi досягнутих наук про сiльськогосподарськi машини висвiтив сутнiсть розробки машини для вимiрювання твердостi ТСрунту методом зрiзу, розрахував параметри робочих процесiв i органiв з врахуванням параметрiв обраноi машини. Було зтАЩясовано, що без проведення експериментального визначення властивостей ТСрунту неможливо ефективно розрахувати необхiдну потужнiсть технологiчноi обробки i економiчну ефективнiсть. Показники продуктивностi i ефективностi повиннi бути у вiдповiдному балансi. Тобто потрiбно створення необхiдноi продуктивностi обробки з використанням чи витрачанням як найменшоi кiлькостi енергii. Що дозволить зменшити витрати на вирощування тоi чи iншоi культури i зменшити собiвартiсть продукцii. Економнiсть при застосуваннi таких приладiв дуже велика. При дослiджуваннi ТСрунтiв ми не витрачаiмо нiякоi енергii, а натомiсть цi вимiри дозволяють зменшити собiвартiсть вихiдного продукту на декiлька або навiть до десятка вiдсоткiв. А тому такi дослiдження необхiднi, а особливо у великих господарствах. Список використаноi лiтератури 1.Кленин Н.И., Сакун В.А. Сельськохозяйственые и мелиоративные машины: Элементы теорий рабочих процессов, расчет регулировочных параметров и режимов роботы. тАУ 1-е изд. тАУ М.: Колос, 1980 тАУ 671с. 2.Основы проектирования и расчет сельскохозяйственных машин / Л.А. Резников, В.Т. Ещенко, Г.Н. Дьяченко и др. тАУ М.: Агропромиздат, 1991 тАУ 543с. 3.Сельскохозяйственные и мелиоративные машины / Г.Е. Листопада, М.: Агропромиздат, 1986 тАУ 688с. 4.Хайлис Г.А. Основы теорий и расчет сельскохозяйственных машин - К. М.: издательство УСХА, 1992 тАУ 240с. 5.Механiко-технологiчнi властивостi сiльсько господарських матерiалiв С.С. Яцун, - К.: Мета, 2003 тАУ 448с.: iл. 6.Механiко-технологiчнi властивостi сiльсько господарських матерiалiв: Навчальний посiбник /ред. С.С. Яцуна, - К.: Аграрна освiта 2000 тАУ 243с.: iл. 7.Сiльськогосподарськi машини. Основи теорii розрахунку. Пiдручник/ Д.Г.Войтюк, В.О.Дубровiн, Г.Д.РЖщенко та iн.; За редакцiiю Д.Г.Войтюка. тАУК.: Вища освiта, 2005. тАУ 454 с. 8.Сiльськогосподарськi та мелiоративнi машини. Пiдручник/ Д.Г.Войтюк, В.О.Дубровiн, Г.Д.РЖщенко та iн.; За редакцiiю Д.Г.Войтюка. тАУК.: Вища освiта, 2004. тАУ 544 с. 9.Сабликов М.В. сельскохозяйственные машины. Ч.2. основы теории и технологического расчета. М.: 1968. тАУ 296 с. 10.Турбин Б.Г., Лурьi А.Б., Григорьев С.М.и др. Сельскохозяйственные машины. Теория и технологического расчета. Л.: Машиностроение 1967. тАУ 494 с. Вместе с этим смотрят: Cостояние полезащитных лесных полос в северном Приднестровье Агротехника возделывания чечевицы, раннего картофеля и кормовой моркови Агротехнические особенности возделывания полевых культур
Ва[4]
Ва[4]