Безопасность взрывных работ
Безопасность взрывных работ
Оглавление
1. Наименование заказчика и исполнителя работ
2. Место проведения работы
3. Цель работы
4. Характеристики взрываемой технологической металлоконструкции и прилегающей территории
5. Технология обрушения технологической металлоконструкции
6. Транспортировка и доставка ВМ
7. Применяемые ВМ и средства взрывания
8. Расчет зарядов ВМ
9. Конструкция зарядов и схема инициирования
10. Схема взрывной сети
11. Объем взрывания
12. График проведения работ
13. Персонал исполнителей
14. Меры безопасности
Литература
1. Наименование заказчика и исполнителя работ
Заказчик работ:
Балтийский государственный технический университет
ВлВОЕНМЕХВ» им. Д.Ф. Устинова.
198005 Санкт-Петербург 1-ая Красноармейская, дом 1, кафедра Е-3
Исполнитель работ:
Студент ___Петров Илья Владимирович_______________________________________
Специальность 170103 ВлСредства поражения и боеприпасыВ» Гр. Е-312
Курсовой проект по курсу ВлБезопасность взрывных технологийВ» выполняется в соответствии с учебным планом специальности.
2. Место проведения работы
Опора технологической металлоконструкции расположена на территории защитных сооружений Санкт-Петербурга (дамбы).
Краткая характеристика места проведения работ:
В· Ширина дамбы в месте технологической металлоконструкции В»119м.
В· Суммарная длина технологической металлоконструкции =200м.
В· Подъезды к технологической металлоконструкции имеются.
В· Прямой доступ людей на технологическую металлоконструкцию не возможен.
В· На месте проведения работ строительно-монтажные работы не ведутся.
В· Движение по шоссе Горская-Кронштадт автобуса №510 осуществляется по расписанию (остановки автобуса в районе проектируемых взрывных работ нет).
В· Движение индивидуального транспорта, автотранспорта строительного управления и городского транспорта осуществляется по мере необходимости.
В· Судоходство в зоне Финского залива в радиусе 5 км от моста отсутствует.
В· Расстояние по шоссе от Горской до места проведения взрывных работ составляет 5 км, от места проведения работ до Кронштадта - 8 км, кратчайшее расстояние от места проведения работ до береговой линии острова Котлин - 5,5 км.
В· Контроль за движением автотранспорта на шоссе Горская-Кронштадт осуществляется на КПП (въезд-выезд на дамбу) и КПП (въезд-выезд в Кронштадт).
3. Цель работы
Целью работы является:
В· резка взрывом опоры технологической металлоконструкции;
В· разработка мероприятий по обеспечению безопасности взрывных работ.
4. Характеристики взрываемой технологической металлоконструкции и прилегающей территории
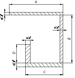
Технологическая металлоконструкция спроектирована как временное сооружение для монтажных работ при строительстве защитных сооружений Санкт-Петербурга (далее дамбы) и представляет собой стапель с двумя подъездными путями для одностороннего движения автомобилей грузоподъемностью до 40 т марки БЕЛАЗ. Опора удерживает стапель с двумя подъездными путями в исходном состоянии и в случае, ее обрушения происходит гарантированное обрушение всей технологической металлоконструкции с возможностью ее дальнейшей утилизации, традиционными методами (газовая резка). Конструкция опоры представляет собой сварную металлоконструкцию см. (рис.1) сложного профиля ( высота опоры 20 м, размеры А,B,С,D и толщина листов приведены в таблице 1). В качестве основного материала опоры использована сталь (Ст.3).
Характеристики опоры:
1. Масса опоры составляет (из рис.1 и таблицы 1):
V1 = A ∙ δ1∙H = 224∙2,8∙2000 = 1254400 см3
V2 = B ∙ δ2∙H = 185∙3,0∙2000 = 1110000 см3
V3 = C ∙ δ3∙H = 150∙3,5∙2000 = 1050000 см3
V4 = D ∙ δ4∙H = 70∙4,6∙2000 = 644000 см3
V∑ = 4058400 см3
M = V∑ ∙ ρ = 4058400 ∙ 7,8 = 31655520 г = 31,655520 т.
2. Масса стапеля и двух подъездных путей - 3970 т.
Грунт в зоне технологической металлоконструкции представляет собой следующий состав - суглинки, супеси и пески с различным содержанием гальки.

Рис.1 Сечение опоры в зоне резки взрывом.
Таблица 1. тАУ Характеристики листов опоры
| Обозначение | Размер (мм) |
| А | 2240 |
| В | 1850 |
| С | 1500 |
| D | 700 |
δ1 | 28 |
δ2 | 30 |
δ3 | 35 |
δ4 | 46 |
Вместе с этим смотрят:
Защита от производственного шума
Значение русского языка в культуре безопасности человека