Системы связи
Оглавление.
- Введение. 2
- Виды модуляции. 3
- Амплитудная модуляция. 3
- Частотная модуляция, фазовая модуляция. 9
- Импульсная модуляция. 12
3. Практическое применение. 16
3.1. Телеметрия. 16
- Частотное разделение каналов 17
(частотное уплотнение линии связи).
- Временное разделение каналов 22
(временное уплотнение линии связи).
- Телеметрический комплекс. 27
- Проблемы телеметрии. 30
- Аппаратура телеметрии и ее приложения. 31
- Другие системы связи. 34
- Заключение. 39
- Список используемой литературы. 39
1. ВВЕДЕНИЕ
Предмет Влэлектрическая связьВ» очень обширен и сложен. Описать его полносьтью в одном реферате невозможно, так как электрическая связь является существенной частью большого числа электронных систем и находит свое применение во всех аспектах нашей жизни. Каждая глава реферата не вдается в детали, а сосредотачивает все внимание на понимаВннии методов и средств связи, осуществляемой с помощью электроВнмагнитных волн. Более того, будут рассмотрены только основные метоВнды связи, стремясь показать их практическое использование.
В любом методе электромагнитной связи всегда можно выделить, во-первых, среду, которая будет переносить информацию, тАФ несуВнщую, во-вторых, саму информацию. Дальнейшее обсуждение будет сосредоточиваться на различных методах переноса информации, т. е. способах объединения информации (или слияния) с несущей, а именно на схемах модуляции.
Существуют три основные схемы модуляции: 1) амплитудная моВндуляция (AM); 2) угловая модуляция, подразделяющаяся на два очень похожих метода: частотную модуляцию (ЧМ) и фазовую модуВнляцию (ФМ); 3) импульсная модуляция (ИМ). Различные схемы моВндуляции совмещают два этих метода или более, образуя сложные системы связи. Телевидение, например, использует как AM, так и ЧМ для различных типов передаваемой информации. Импульсная модуляция совмещается с амплитудной, образуя импульсную амплиВнтудную модуляцию (АИМ), и т.д. Не всегда возможно найти четко выраженные основания для использования того или иного метода модуляции. В некоторых случаях этот выбор предписывается закоВнном (в США контроль осуществляет Федеральная комиссия по свяВнзи тАФ ФКС). Необходимо строго придерживаться правил и инструкВнций независимо от того, какая схема модуляции используется.
Во всех методах модуляции несущей служат синусоидальные коВнлебания угловой частоты ωн, которые выражаются в виде
ен=Анsin(ωнt+θн) (1а)
где Ан - амплитуда, а ωнt+θн - мгновенная фаза (отметим, что ωнt, так же как и θн, измеряется в градусах или радианах). Фазовый сдвиг θн введен для придания уравнению (la) большей общности. Аналогично модулирующий сигнал может быть представВнлен как
ем=Амsin(ωмt+θм) (2a)
для AM, ЧМ и ФМ или в виде импульса в случае импульсной модуВнляции. Выражение ωм может быть использовано для обозначения скорее полосы частот, чем единичной частоты. Например, мы будем рассматривать AM в радиовещании, где модулирующий сигнал сосВнтоит из полосы звуковых частот (20тАФ16 000 Гц).
2. ВИДЫ МОДУЛЯЦИИ.
2.1. АМПЛИТУДНАЯ МОДУЛЯЦИЯ (AM)
С качественной стороны амплитудная модуляция (AM) может быть определена как изменение амплитуды несущей пропорциональВнно амплитуде модулирующего сигнала (рис. 1, а). Для модулирующего сигнала болшой амплитуды

Рис. 1. Амплитудная модуляция (ωм<<ωн).
а - форма сигнала; б - спектр частот.
соответствующая амплитуда моВндулируемой несущей должна быть большой и для малых значений Ам. Эта схема модуляции может быть осуществлена умножением двух сигналов: енем. Как будет видно из дальнейшего, это является особым случаем более общего метода модуляции. Для упрощения последующих математических преобразований видоизменим уравВннения (la) и (2а), опустив произвольные фазы θн и θм:
ен=Анcos(ωнt) (θн=π/2) (1б)
ем=Амcos(ωмt) (θм=π/2) (2б)
Произведением этих двух выражений является:
ен ем=Анcos(ωнt) ⋅ Амcos(ωмt) (3)
Уравнение (3) показывает, что амплитуда модулированной несуВнщей будет изменяться от нуля (когда ωмt = 900, cos(ωмt)=0) до АнАм (когда ωмt = 00, cos(ωмt)=1). Член Амcos(ωмt) ⋅ Ан является амплитудой модулированных колебаний и прямо зависит от мгноВнвенного значения модулирующей синусоиды. Уравнение (3) может быть преобразовано к виду
(4а)
Это преобразование основано на тригонометрическом тождестве
(5)
Уравнение (4a) представляет собой сигнал, состоящий из двух колебаний с частотами ω1=ωн+ωм и ω2=ωн-ωм и амплитудами АнАм/2. Переписывая выражение для модулированВнного колебания (4a), получим
(4б)
ω1 и ω2 называются боковыми полосами частот, так как ωм обычно является полосой частот, а не одиночной частотой. Следовательно, ω1 и ω2 представляют собой две полосы частот тАФ выше и ниже неВнсущей (рис. 1,б), т. е. верхнюю и нижнюю боковую полосу соответВнственно. Вся информация, которую необходимо передать, содержитВнся в этих боковых полосах частот.
Уравнение (4б) было получено для особого случая, когда модулированный сигнал был результатом прямого перемножения ен на ем. В результате уравнение (4б) не содержит компонента на частоте несущей, т. е. частота несущей полностью подавлена. Такой тип модуляции с подавленной несущей иногда преднамеренно проекВнтируется в системах связи, так как это ведет к снижению излучаеВнмой мощности. В большинстве таких систем излучается некоторая часть мощности на частоте несущей, позволяя тем самым приемному устройству настраиваться на эту частоту. Можно также передавать лишь одну боковую полосу, так как она содержит всю существенную информацию о модулирующем сигнале. Приемное устройство затем восстанавливает ем по модуляции одной боковой полосы.
Полное выражение, представляющее амплитудно-модулированное колебание в общем виде, имеет вид
ен ем=Анcos(ωнt)+ Амcos(ωнt)cos(ωмt) (6а)
Это выражение описывает как неподавленную несущую (первый член в правой части уравнения), так и произведение, т. е. модуляВнцию (второй член справа). Уравнение (6a) можно переписать в виде
ен ем=[Ан+ Амcos(ωмt)]cos(ωнt)= Анмcos(ωнt) (6б)
Последнее выражение показывает, как амплитуда несущей измеВнняется в соответствии с мгновенными значениями модулирующего колебания. Амплитуда модулированного сигнала Анм состоит из двух частей: Ан тАФ амплитуды немодулированной несущей и Амcos(ωмt) тАФ мгновенных значений модулирующего колебания:
Анм=Ан+ Амcos(ωмt) (7)
Отношение Ам к Ан определяет степень модуляции. Для Ам=Ан значение Анм достигает нуля при cos(ωмt)=-1 (ωмt=180В°) и Анм=2Ан при cos(ωмt)=1 (ωмt= 0В°). Амплитуда модулированВнной волны изменяется от нуля до удвоенного значения амплитуды несущей. Отношение
m= Ам/Ан (8)
определяет коэффициент модуляции. Для предотвращения искажеВнний передаваемой информации тАФ модулированного сигнала тАФ значение m должно быть в пределах от нуля до единицы: 0≤m≤1. Это соответствует Ам≤Ан. (Для m=0 Ам= 0, т. е. нет модулирующего сигнала.) Уравнение (6a) может быть переписано с введением m:
ен ем=Анcos(ωнt)[1+m⋅cos(ωмt)] (6в)
На рис. 2,а показана форма модулированных колебаний и коВнэффициент модуляции m выражен через максимальное и минимальВнное значения ее амплитуды (пикового и узлового значений). Рис. 2,б дает представление о спектре модулированных колебаний, который может быть выражен преобразованием уравнения (6):
(6г)
несущая верхняя боковая полоса нижняя боковая полоса
На рис. 2,в показан результат модуляции с коэффициентом m, превышающим 100%: m>1.

В таблице на рис. 3 приведены амплитуда и мощьность для каждой из трех частотных компонент модулированного колебания.
Угловая частота |
Амплитуда |
ОтносительВнная амплитуда |
ОтносительВнная мощность |
|
Несущая |
ωн |
Ан |
1 |
1 |
Верхняя боковая полоса |
ωн+ωм |
Ам/2 |
m/2 |
(m/2)2 |
Нижняя боковая полоса |
ωн-ωм |
Ам/2 |
m/2 |
(m/2)2 |
Рнс. 3. Мощность и амплитуда АМ-колебаний.
Для 100%-ной модуляции (m=1) и мощности несущей 1 кВт полная мощность модулированных колебаний составляет 1 кВт+(1/2)2 кВт+(1/2)2 кВт=1,5 кВт. Отметим, что при m=1 мощность, заключенная в обеих боковых полосах, составляет полоВнвину мощности несущей. Аналогично при m=0,5 мощность в обеВних боковых полосах составляет 1/8 мощности несущей. Указанное выше имеет место лишь для синусоидальной формы AM. АмплитудВнная модуляция может быть использована в передаче импульсных значений.
При обычной модуляции с двумя боковыми полосами, используВнемой в радиовещании, информация передается исключительно в боВнковых полосах. Для того чтобы получить, например, хорошее каВнчество звука, необходимо работать в полосе частот шириной 2М, где М тАФ ширина полосы высококачественного воспроизведения звука (20тАФ20 000 Гц). Это означает, что стандартное АМ-радиовещание, к примеру, с частотами до 20 кГц должно иметь ширину полосы В±20 кГц (всего 40 кГц), учитывая верхнюю и нижнюю боковые поВнлосы. Однако на практике ширина полосы частот по правилам ФКС ограничивается величиной 10 кГц (±5 кГц), которая предусматриВнвает для радиопередачи звука ширину полосы всего лишь 5 кГц, что далеко от условий высококачественного воспроизведения. Радиовещание с частотной модуляцией, как это будет показано ниже, имеет более широкую полосу частот.
Федеральная комиссия связи также устанавливает допуски часВнтоты всех распределений частот в США. Все АМ-радиовещание (535тАФ1605 кГц) имеет допустимые отклонения в 20 Гц, или около 0,002 %. Эта точность и стабильность частоты может быть достигнута путем использования кварцевых генераторов.
Детектирование или демодуляция АМ-колебаний требует выВнпрямления модулированного сигнала, сопровождаемого исклюВнчением несущей частоты с помощью соответствующей фильтрации. Эти две стадии воспроизведения модулирующего сигнала могут быть продемонстрированы па примере колебания, изображенного на рис. 2, а. После выпрямления остается лишь половина колебания, а после фильтрации присутствует лишь его огибающая, которая являВнется воспроизведенным сигналом.
На рис. 4 приведены функциональные схемы передающей и приемной систем с амплитудной модуляцией.

Рис. 4. АМ-система.
а-функциональная схема передатчика; б-функциональная схема приемника.
Передатчик содержит два источника: сигнала модуляции тАФ от микрофона, проигрыватеВнля и т.д. и несущей тАФ от генератора с кварцевой стабилизацией. Модулирующий сигнал и несущая вводятся в модулятор, который вырабатывает модулированный сигнал, который затем передается через антенну. В большинстве передатчиков большой мощности моВндуляция осуществляется в последнем каскаде системы для того, чтобы избежать необходимости усиливать модулированный сигнал. Усиление несущей и модулирующего сигнала происходит раздельно. Степень модуляции контролируется изменением амплитуды модуляВнции и поддержанием постоянной амплитуды несущей. С тех пор как передаваемая мощность стала лимитироваться ФКС, большинство радиовещательных станций имеет автоматическое управление и контроль мощности, как это показано штриховыми линиями на рис. 4,а.
Приемник (рис. 4,б) содержит высокочастотный усилитель, который усиливает сигнал, принятый антенной. ВЧ-усилитель наВнстраивается; его частота настройки может быть изменена (в диапазоВнне радиовещания для АМ-приемников) для выбора нужной станции. Термин ВлизбирательностьВ», примененный к приемнику, относится к способности приемника выбирать отдельную станцию (частоту), не принимая при этом сигналов от примыкающих к ней станций. Например, если приемник имеет плохую избирательность, то при настройке на станцию WQXP (1560 кГц) может быть также принята другая, смежная станция WWRL (1600 кГц). Ясно, что приемник с такой плохой избирательностью является непригодным. Нужно такВнже помнить, что ВЧ-усилитель должен иметь ширину полосы 5 кГц для звуковых сигналов (две боковые полосы требуют ширину полоВнсы ±5 кГц вокруг частоты несущей). Таким образом, требуется поВнлоса частот 10 кГц совместно с высокой избирательностью, которая означает очень крутые спады частотной характеристики перестраиВнваемого контура, обеспечивающие существенное ослабление сигнаВнлов вблизи выбранной частоты, но находящихся вне полосы частот В±5 кГц.
Приемник, показанный на рис. 4,б, является приемником или прямого усиления (сплошные линии), или гетеродинного типа (штриВнховые линии). В последнем принятый ВЧ-сигнал ωн смешивается с колебаниями от местного генератора-гетеродина ωг. В результате возникают два сигнала тАФ с частотами ωг-ωн и ωг+ωн. СигВннал с разностной частотой ωг-ωн усиливается усилителем промеВнжуточной частоты (УПЧ) и затем подводится к детектору. На рис. 4,б штриховыми линиями вместо сплошных линий между ВЧ-усилителем и детектором представлена функциональная схема гетероВндинного приемника. Такой метод приема позволяет настраиваться на любую станцию, в то время как промежуточная частота остается равной 455 кГц и легко усиливается усилителями с фиксированной частотой настройки. Отметим, что для того, чтобы настроиться на станцию, нужно изменять ωг и ωн одновременно, и, таким образом, разность ωг-ωн остается неизменной. Приемник гетеродинного типа имеет лучшую избирательность и гораздо большую чувствиВнтельность. Минимально различимый им сигнал составляет 10 мкВ на антенне. Когда мы говорим ВлразличимыйВ», то подразумеваем преВнвышающий уровень шумов приемника.
- ЧАСТОТНАЯ МОДУЛЯЦИЯ, ФАЗОВАЯ МОДУЛЯЦИЯ
В методе частотной модуляции (ЧМ) амплитуда модулирующего сигнала управляет мгновенной частотой несущей. Идеальная ЧМ не вносит изменений в амплитуду несущей. Следовательно, форма напряжения модулированной несущей может быть выражена в виде
ечм=Анcos[ωнt+δ⋅sin(ωмt)] (9)
где ωн и ωм - соответственно несущая частота и частота модуляВнции, а δ - индекс модуляции. Частоты модулированного колебаВнния могут быть получены из выражения cos[ωнt+δ⋅sin(ωмt)] с исВнпользованием тригонометрических формул и специальных таблиц (функции Бесселя).
Индекс модуляции δ определяется как Δωн/ωм=Δfн/fм - отВнношение максимальной девиации частоты (за один период модулиВнрующего сигнала) к частоте модуляции. Детальный анализ частотВнной модуляции сложен. Рассмотрим на примерах основные черты этого метода. Будем предпоВнлагать наличие одиночной частоты модуляции ωм (ем=Амsin(ωмt)).
Девиация частоты Δωн прямо пропорциональна мгновенному значению модулирующего сигнала ем=Амsin(ωмt). Таким образом, Δωн можно выразить через ем:
Δωн=kfАмsin(ωнt) (10)
где kf - коэффициент пропорциональности, аналогичный по своВнему характеру чувствительности; он дает девиацию частоты на 1 В (Δω/В). Следовательно, при ωнt=90В° (sin(ωнt)=1) Δωн=kfАм - максимальная девиация частоты синусоидального модулирующего сигнала. Например, если sin(ωнt)=0,5, kf=2π⋅1000 (рад/с)/В=1000 Гц/В и Ам=10В, то мы получаем Δωн=2π⋅1000⋅10⋅0,5=2π⋅5000 рад/с, т. е. девиацию частоты несущей 5 кГц. МаксимальВнное значение Δfн при этих условиях (sin(ωнt)=1) будет составлять 10 кГц. Отметим, что, так как sin(ωнt ) может быть равным +1 или -1, то Δfн макс=±10 кГц. Если задано значение fм, то можно вычисВнлить индекс модуляции δ. Для fм=2000δ=10000/2000 (Δfн/fм ); таким образом, δ=5. Индекс модуляции должен быть всегда возВнможно большим, чтобы получить свободное от шумов верное воспроВнизведение модулирующего сигнала. Девиация частоты Δfн в ЧМ-радиовещании ограничена величиной до +75 кГц. Это приводит к значению δ=75/15=5 для звукового модулирующего сигнала с максимальной частотой 15 кГц.
Исследуя изменения частоты несущей с ЧМ, есть соблазн прийти к выводу о том, что ширина полосы, необходимой для ЧМ-передачи, составляет В±Δωн, или 2Δωн, так как несущая меняется по частоте в пределах В±Δωн, т. е. ωчмаωнВ±Δωн.Этот вывод, однако, полностью ошибочен. Может быть показано, что ЧМ-колебания состоят из несущей и боковых полос аналогично AM с одним лишь существенным различием: при ЧМ существует множество боковых полос (рис. 5). Амплитуды боковых полос связаны весьма сложным образом с индексом модуляции. Отметим, что частоты боковых поВнлос связаны лишь с частотой модулирующего сигнала ωм, а не с девиацией частоты Δωн. Для предыдущего примера, когда δ=5 и ωм=15 кГц (максимум), мы получаем семь пар полос (ωнВ±ωм, ωнВ±2ωм, ωнВ±3ωм, и т.д.) с изменяющимися амплитудаВнми, но превышающими значение 0,04Ан. Все другие пары за преВнделами ωнВ±7ωм имеют амплитуды ниже уровня 0,02Ан.
Первая пара боковых полос может быть описана как 0,33А⋅[sin(ωн+ωм)t+sin(ωн-ωм)t] имеет амплитуду 0,33 Ан; вторая пара - ωн±2ωм - имеет амплитуду 0,047Ан. Отметим, что амплитуды различных боковых полос не являются монотонно убывающими по мере того, как их частоты все более и более удаляются от ωн. Фактически в приведенном примере с δ=5 наибольшей пo амплитуде (0,4 Ан) является четвертая пара боковых полос. АмпВнлитуды различных боковых полос получены из специальных таблиц, описывающих эти полосы для различных значений δ. Очевидно, что ширина полосы, необходимая для передачи семи пар боковых полос, составляет В±7⋅15 кГц, или 14⋅15 кГц= 210 кГц (для fм=15 кГц). На этом же основании ширина полосы, необходимая для δ=10 (Δωн/ωм=10), равна 26fм; 13 боковых полос в этом случае составят 26⋅15=390 кГц. Таким образом, частотная модуляция требует значительной ширины полосы частот и, как следствие, исВнпользуется только при несущих с частотами 100 МГц и выше.

Рис. 5. Боковые полосы ЧМ.
ωн-несущая частота; ωм-частота модуляции.
Частотно-модулированная связь гораздо менее чувствительна к помехам. Шумы, попадающие в ЧМ-сигнал, будь то атмосферные возмущения (статические), тепловые шумы в лампах и сопротивлеВнниях или любые другие шумы, имеют меньшую возможность влиять на прием, чем в случае AM. Основной причиной этого является поВнпросту тот факт, что большинство шумов амплитудно модулируют несущую. Делая приемник нечувствительным к изменениям амплитуВнды, практически устраняем эту нежелательную модуляцию. ВосВнстановление информационного сигнала из ЧМ-волны связано лишь с частотным детектированием, при котором выходной сигнал зависит лишь от изменений частоты ЧМ-сигнала, а не от его амплитуды. Большинство приемников содержит усилитель-ограничитель, который поддерживает постоянную амплитуду ЧМ-колебаний, устраняя тем самым любой АМ-сигнал.
Существуют различные методы ЧМ-детектирования и селекции. В основе большинства методов лежит использование наклона часВнтотной характеристики резонансного контура (рис. 6). Амплитуда отклика изменяется с частотой. Для ωн+Δωн получаем амплитуВнду А1, для ωн-Δωн - амплитуду А2, а для частот между

Рис. 6. Принцип использования резонансного контура в качестве частотВнного детектора.
ωн+Δωн и ωн-Δωн имеем все промежуточные амплитуды межВнду А1 и А2. Выходной сигнал соответствует девиации частоты входВнного сигнала (хотя и не совсем линейно в простом резонансном конВнтуре) и тем самым воспроизводит первоначальный модулирующий сигнал.
Цепь фазовой автоподстройки (ФАП), вскоре стала одним из наиболее распространенных средств ЧМ-детектировапия, особенно применительно к импульсным модуВнлирующим сигналам. Некоторые схемы ФАП снабжены логическими выходными схемами, согласованными с соответствуюВнщими входными сигналами импульсной формы.
Как отмечалось ранее, ЧМ тАФлишь один тип угловой модуляВнции. Другим является фазовая модуляция. Эта модуляция очень похожа на ЧМ. При фазовой модуляции мгновенная фаза несущей изВнменяется пропорционально мгновенной амплитуде модулирующеВнго сигнала. Это приводит к изменению несущей частоты ωн, как видВнно из уравнения
ωфаз=ωн+kфωмАмsin(ωмt) (11)
где kф, - коэффициент пропорциональности, измеряемый в единиВнцах рад/В. Фазовая и частотная модуляция часто используются в одной системе модуляции, так как прием и детектирование обеих идентичны.
Функциональные схемы передатчика и приемника с ЧМ почти те же, что и для AM. Ширина полосы частот ЧМ существенно шире, а несущая частота значительно выше (100 МГц и более). Более широВнкая полоса частот приводит к более верному воспроизведению входВнных звуковых сигналов, так что звуки с частотами выше 5 кГц должны передаваться системами ЧМ. В приемниках с частотной моВндуляцией иногда используется двойное гетеродинирование с двумя промежуточными частотами - 5 МГц и 455 кГц.
- ИМПУЛЬСНАЯ МОДУЛЯЦИЯ (ИМ)
Импульсная модуляция (ИМ) не является в действительности каким-то особым типом модуляции. Этот термин характеризует скоВнрее вид модулирующего сигнала. Далее различают импульсную ампВнлитудную и импульсную частотную модуляции. Здесь учитывают то, каким образом информация представлена тАФ с помощью импульса или ряда импульсов. Можно рассматривать в качестве модулируеВнмой величины амплитуду импульса, или его ширину, или его полоВнжение в последовательности импульсов и т. д. Следовательно, суВнществует большое разнообразие методов импульсной модуляции. Все они используют в качестве формы передачи или AM, или ЧМ.

Рис. 7. Последовательность импульсов, отображающих число 37 в двоично-десятичном коде (младший значащий разряд первый).
Импульсная модуляция может быть использована для передачи как цифровых, так и аналоговых форм сигнала. Когда речь идет о цифровых сигналах, мы имеем дело с логическими уровнями тАФ выВнсоким и низким тАФ и можем модулировать несущую (с помощью AM или ЧМ) рядом импульсов, который представляет цифровое значеВнние. Например, если для числа 37 передается код ДКД (двоично-кодированное десятичное число) 00110111, то для модуляции несуВнщей просто должна использоваться указанная последовательность нулей и единиц. Каждый нуль может быть представлен уровнем 0В, а каждая единица тАФ уровнем, например, 5В. ОбразованВнная в результате последовательность импульсов показана на рис. 7 вместе с совпадающим рядом синхронизирующих импульсов, необходимых для идентификации положения единиц и нулей. В указанной последовательности важен порядок импульсов. Сначала передается МЗДР (младший значащий десятичный разряд) 7, а заВнтем СЗДР (старший значащий десятичный разряд) 3. В каждом деВнсятичном разряде на первом месте старший двоичный разряд (бит).
Отметим, что, даже если все импульсы имеют полную амплитуду 5 В, обычно допускается изменение цифровых уровней в широком диапаВнзоне напряжений, что не приводит к нарушению нормальной работы системы. Например, логический уровень Вл1В» может изменяться в преВнделах от 2,4 до 5,5 В.
При использовании импульсных методов для передачи аналогоВнвых сигналов необходимо сначала преобразовать аналоговые данные в импульсную форму. Это преобразование также относится к модуВнляции, так как аналоговые данные используются для модулироВнвания (изменения) последовательности импульсов или импульсной поднесущей. На рис. 8,а показана модуляция синусоидальным сигВнналом амплитуд последовательности импульсов.

Рис. 8. Форма сигналов амплитудно-импульсной модуляции.
атАФформа модулированного сигнала; бтАФвоспроизведенная форма сигнала при низкой частоВнте следования импульсов, Т1 тАФ период последовательности импульсов; в тАФ воспроизведенная форма сигнала при высокой частоте следования импульсов, Т2 тАФ период последовательности импульсов.
Амплитуда каждого импульса в модулированной последовательности зависит от мгновенВнного значения аналогового сигнала. Синусоидальный сигнал может быть восстановлен из последовательности модулированных импульВнсов путем простой фильтрации. На рис. 8,б графически показан процесс восстановления первоначального сигнала путем соединения вершин импульсов прямыми линиями. Однако восстановленная на рис. 8,б форма колебаний не является хорошим воспроизведениВнем первоначального сигнала из-за того, что число импульсов на пеВнриод аналогового сигнала невелико. При использовании большего числа импульсов, т. е. при большей частоте следования импульсов по сравнению с частотой модулирующего сигнала, может быть достигнуто более лучшее воспроизведение (рис. 8,в). Этот процесс амплитудно-импульсной модуляции (АИМ), относящийся к модуляВнции поднесущей последовательности импульсов, может быть выполВннен путем выборки аналогового сигнала через постоянные интерваВнлы времени импульсами выборки с фиксированной длительностью. Импульсы выборки тАФ это импульсы, амплитуды которых равны веВнличине первоначального аналогового сигнала в момент выборки. Частота выборки (число импульсов в секунду) должна быть по крайВнней мере в два раза большей, чем самая высокая частота аналогового сигнала. Для лучшей воспроизводимости частота выборки обычно устанавливается в 5 раз большей самой высокой частоты модуляции.
АИМ является только одним типом импульсной модуляции. КроВнме него существуют:
ШИМ тАФ широтно-импульсная модуляция (модуляция импульВнсов по длительности);
ЧИМ тАФ частотно-импульсная модуляция;
КИМ тАФ кодово-импульсная модуляция.
Широтно-импульсная модуляция преобразует уровни выборок. напряжений в серии импульсов, длительность которых прямо пропорциональна амплитуде напряжений выборок (рис. 9,а). ОтмеВнтим, что амплитуда этих импульсов постоянна; в соответствии с моВндулирующим сигналом изменяется лишь длительность импульсов. Интервал выборки тАФ интервал между импульсами тАФ также фикВнсирован.
Частотно-импульсная модуляция преобразует уровни выборок напряжений в последовательность импульсов, мгновенная частота которых, или частота повторения, непосредственно связана с велиВнчиной напряжений выборок. И здесь амплитуда всех импульсов одиВннакова, изменяется только их частота. По существу все аналогичВнно обычной частотной модуляции, лишь несущая имеет несинусоиВндальную форму, как в случае обычной ЧМ; она состоит из последоВнвательности импульсов.
Кодово-импульсная модуляция преобразует выборки напряжения в кодированное сообщение. К примеру, дискретный уровень, равный 5,5 В, может быть представлен двоичным числом 101.101=5,5 с помощью аналого-цифрового преобразователя. Кодовое сообщение 101.101 представляет собой некоторую выборку напряжения Vs. Подобным кодированием (в данном случае двоичным кодом) преобВнразуют каждую выборку. Последовательность таких кодовых сообВнщений представляет собой серию чисел, описывающих последоваВнтельные выборки. Код может быть любым: двоичным с шестью разВнрядами, как представленный выше, или двоичным кодом с N разряВндами, или двоично-кодированным десятичным и т. д. (рис. 7).

Рис. 9. Широтно-импульсная модуляция.
Приведенные выше модуляционные схемы тАФ лишь некоторые представители большого числа используемых методов. Подчеркнем, что рассмотренная здесь ИМ-модуляция относится к модуляции поднесущей, т. е. модуляции последовательности импульсов, которые затем используются в системах AM или ЧМ. Речь идет о двух слеВндующих друг за другом модуляциях. Во-первых, информация моВндулирует последовательность импульсов. Здесь может быть испольВнзована АИМ, ШИМ, ЧИМ, КИМ или любой другой вид модуляции. Во-вторых, содержащая информацию поднесущая модулирует синусоидальную несущую.
Частотно-импульсная модуляция синусоидальной несущей приВнводит к Δωн -девиации частоты несущей скачкообразным отклонениВнем от несущей. Например, частотная модуляция логических уровней Вл0В» и Вл1В» (0 В и 5В) дает две частоты тАФ ωн (для логического уровня Вл0В») и ωн+Δωн (для уровня Вл5В»). По существу, мы просто сдвиВнгаем частоту несущей от ω к ωн+Δωн для изображения логичесВнкого уровня Вл1В». Этот тип частотной модуляции называется также и частотной манипуляцией и обычно используется в передаче сигналов с помощью телеграфа и других цифровых устройств связи. Для восВнстановления логических уровней из частотно-манипулированной несущей может быть использована цепь фазовой автоподстройки (ФАП).
Методы импульсной модуляции очень широко распространены в приложениях телеметрии.
- ПРАКТИЧЕСКОЕ ПРИМЕНЕНИЕ.
3.1. ТЕЛЕМЕТРИЯ.
Телеметрией называется проведение измерений на расстоянии и передача данных к месту их обработки и (или) хранения. ТипичВнная телеметрическая система содержит, как показано на рис. 10, три основные части:

Рис. 10. Типичная телеметрическая система.
1) источник данных, который обычно является датчиком, преобразующим измеряемые параметры в электрические сигналы; 2) способ передачи данных; 3) приемное устройство и восВнстановление переданных данных. Содержание этого раздела будет сконцентрировано на различных методах передачи. Рассматривая методы телеметрии, будем сосредотачивать внимание на способах, обеспечивающих наиболее эффективное использование линии связи.
Что подразумевается под эффективным использованием линии связи, показывает следующий пример. Рассмотрим амплитудную модуляцию несущей с частотой 100 МГц (рис. 11). Предположим, что допустимая ширина полосы передачи составляет В±5 кГц. ИнВнформация, модулирующая несущую, имеет ширину полосы частот 1 кГц. Из того, что мы знаем об амплитудной модуляции, находим, что модулированная несущая будет иметь полосу 100 МГц В± 1 кГц. Это тАФ полоса, необходимая для передачи данных с поВнлосой 1 кГц. Ясно, что будет непроизводительно при полосе В±5 кГц занимать передаваемой информацией только полосу В±1 кГц. Теоретически в полосе ±5 кГц можно передать пятикратное число данВнных, содержащихся в полосе 1 кГц. Вообще говоря, на одной несуВнщей 100 МГц мы могли бы передавать пять каналов данных с полоВнсами по 1 кГц. Для такого увеличения эффективности передачи разВнработаны разные методы. Чаще всего используются методы частотВнного разделения (или частотного уплотнения каналов) и временного разделения (или временного уплотнения каналов).

Рис. 11. Несущая 100 МГц с амплитудной модуляцией, ωм=0±1 кГц, разрешенная полоса ωр=±5 кГц.
- Частотное разделение каналов (частотное уплотнение линии связи).
Типичная для телеметрии несущая частота 230 МГц может быть использована с полосой ±320 кГц (стандарты ВМФ н ВВС США). Это означает, что при использовании ее в амплитудной модуляции (AM) информация, которую можно передать без искажений, может иметь ширину полосы 320 кГц. Однако большинство приложений телеметрии оперирует сигналом с гораздо более узкой полосой. Для определенности положим, что ширина полосы частот сигнала составляет 4 кГц. Вместо непосредственной модуляции этим сигнаВнлом несущей 230 МГц можно сначала модулировать поднесущую с частотой, к примеру, 32 кГц. Модуляция поднесущей образует сигВннал с частотой 32 В± 4 кГц (в случае AM). Промодулированной подВннесущей можно теперь модулировать несущую 230 МГц. На рис. 12 показаны частотные полосы, использованные в такой передаче. ОсВнтальная часть полосы ±320 кГц не используется. Имеется возможВнность использовать и другую поднесущую, например 44 кГц, для другого источника данных с аналогичной полосой и получить модуВнлированную поднесущую 44 В± 4 кГц (показанную штриховыми лиВнниями на рис. 12). Очевидно, что можно заполнить разрешенную полосу частот В± 320 кГц большим числом поднесущих, переноВнсящих информацию от большого числа источников. В этом примере полоса частот информации была произвольно ограничена значением 4 кГц. Можно отметить, что модулированные поднесущие отделяет неиспольВнзованная полоса (здесь 4 кГц), 32 В± 4 кГц (полоса от 28 до 36 кГц) и 44 В± 4 кГц (от 40 до 48 кГц), т. е. имеется пустой интервал 4 кГц между высшей частотой нижней поднесущей (36 кГц) и низшей частоВнтой верхней поднесущей (40 кГц). Это отделение необходимо, чтобы предотвратить взаимные помехи между каналами и позволить осуВнществить разделение поднесущих на приемном конце системы. РасВнсмотренный пример представляет собой АМ/АМ-телеметрическую систему, где как поднесущая, так и несущая являются амплитудно-модулированными.

Рис. 12. Поднесущие: несущая частота 230МГц, полоса поднесущей ±4 кГц.
Уплотнения в два раза можно достигнуть благодаря использоваВннию передачи на одной боковой полосе, т. е. передачи сигнала модулиВнрованной поднесущей, состоящего только из верхней полосы 32тАФ 36 кГц или из нижней полосы 28тАФ32 кГц. Всякий раз, когда это возможно, используется такая однополосная передача. На рис. 13 показан ряд частотных фильтров, которые требуются при разделеВннии каналов с двумя боковыми полосами (рис. 12).

Рис. 13. Фильтрация при частотном разделении.
Здесь F1, F2 и F3 тАФ три поднесущие, a Δf1,Δf2 и Δf3 тАФ полосы частот этих поднесущих (в данном случае ±4 кГц = 8 кГц). Для обеспечения минимального взаимного влияния необходимо, чтобы точка пересеВнчения амплитудно-частотных характеристик (АЧХ) фильтров была бы на 80 дБ ниже максимума. Необходимо подчеркнуть, что Δf1,Δf2 и Δf3 не обязательно должны быть одинаковыми: их значения определяются характером информации. На рис. 14 приведена упВнрощенная функциональная схема трехканальной системы связи с частотным разделением.
Рис. 14. Частотное разделение. Функциональная схема передатчика и приемника с тремя каналами.
Каждый источник данных модулирует поднесущую определенВнной частоты. Источник № 1 связан с поднесущей частотой F1 и т. д. Все модулированные поднесущие затем объединяются смеситеВнлем для модуляции несущей и передаются к приемнику. Приемник воспроизводит исходный сигнал, который модулировал несущую, а именно набор поднесущих. Поднесущие разделяются набором часВнтотных фильтров, каждый из которых создает полосу пропускания, согласующуюся с определенной поднесущей. Фильтр 1 пропускает полосу частот вокруг центральной частоты F1 поднесущей 1 и т. д. (рис. 13). Выходной сигнал каждого фильтра состоит из амплитудВнно-модулированной поднесущей, модулирующий сигнал которой соответствует определенному источнику данных. Отметим, что в схеме используются два детектора. Первый ВлдетектируетВ» или восВнпроизводит модуляцию несущей, в то время как второй восстанавлиВнвает модуляцию поднесущей. Этого и следовало ожидать, так как система состоит из двух последовательных амплитудных модуляции (АМ/АМ). Таким образом, имеется система связи, в которой для кажВндого источника данных предназначен определенный диапазон частот. Для обеспечения приема на двойной полосе каждый фильтр должен обладать полосой пропускания для двух частотных диапазонов, соВнответствующих верхней и нижней боковой полосе. Обе боковые поВнлосы определенного капала затем объединяются для образования выходного сигнала этого канала.
Система, рассмотренная выше, является АМ/АМ-системой. ДруВнгие схемы модуляции, такие, как AМ/ЧМ или ЧМ/ЧМ, часто испольВнзуются в телеметрии.
Использование спектра радиочастот для телеметрии и других приложений регулируется различными правительственными учрежВндениями США. Комиссия по радиодиапазонам (IRIG) выпустила набор стандартов для телеметрии, пересмотренный в мае 1973 г. Обсудим некоторые из этих стандартов, имеющие отношение к ЧМ/ЧМ-системам телеметрии.
Для применений телеметрии предназначен 21 канал с центрами поднесущей, расположенными в пределах от 400 Гц до 165 кГц. Подробные сведения о всех несущих приведены в таблице на рис. 15.
|
Канал |
Центральная частота, Гц |
Нижняя граница девиации, Гц |
Верхняя граница девиации, Гц |
Номинальная полоса частот, Гц |
Номинальное время нарастания, мс |
Максималь-ная полоса частот, Гц |
Минимальное время нарастания, мс |
Каналы ±7,5 % |
|||||||
1 |
400 |
370 |
430 |
6 |
58 |
30 |
11,7 |
2 |
560 |
518 |
602 |
8 |
42 |
42 |
8,33 |
3 |
730 |
675 |
785 |
11 |
32 |
55 |
6,40 |
4 |
960 |
886 |
1032 |
14 |
42 |
72 |
4,86 |
5 |
1300 |
1202 |
1398 |
20 |
18 |
98 |
3,60 |
6 |
1700 |
1572 |
1828 |
25 |
14 |
128 |
2,74 |
7 |
2300 |
2127 |
2473 |
35 |
10 |
173 |
2,03 |
8 |
3000 |
2775 |
3225 |
45 |
7,8 |
225 |
1,56 |
9 |
3900 |
3607 |
4193 |
59 |
6,0 |
293 |
1,20 |
10 |
5400 |
4995 |
5805 |
81 |
4,3 |
405 |
0,864 |
11 |
7350 |
6799 |
7901 |
110 |
3,2 |
551 |
0,635 |
12 |
10500 |
9712 |
11288 |
160 |
2,2 |
788 |
0,444 |
13 |
14500 |
13412 |
15588 |
220 |
1,6 |
1088 |
0,322 |
14 |
22000 |
20350 |
23650 |
330 |
1,1 |
1650 |
0,212 |
15 |
30000 |
27750 |
32250 |
450 |
0,78 |
2250 |
0,156 |
16 |
40000 |
37000 |
43000 |
600 |
0,58 |
3000 |
0,117 |
17 |
52500 |
48562 |
56438 |
790 |
0,44 |
3938 |
0,089 |
18 |
70000 |
64750 |
75250 |
1050 |
0,33 |
5250 |
0,067 |
19 |
93000 |
86025 |
99975 |
1395 |
0,25 |
6975 |
0,050 |
20 |
124000 |
114700 |
133 300 |
1860 |
0,19 |
9300 |
0,038 |
21 |
165000 |
152624 |
177375 |
2475 |
0,14 |
12375 |
0,029 |
Каналы ±15 % |
|||||||
A |
22000 |
18700 |
25300 |
660 |
0,53 |
3300 |
0,106 |
В |
30000 |
25500 |
34500 |
900 |
0,39 |
4500 |
0,078 |
С |
40000 |
34000 |
46000 |
1200 |
0,29 |
6000 |
0,058 |
D |
52500 |
44625 |
60375 |
1575 |
0,22 |
7875 |
0,044 |
Е |
70000 |
59500 |
80500 |
2100 |
0,17 |
10500 |
0,033 |
F |
93000 |
79050 |
106950 |
2790 |
0,13 |
13950 |
0,025 |
G |
124000 |
105400 |
142600 |
3720 |
0,09 |
18600 |
0,018 |
Н |
165000 |
140250 |
189750 |
4950 |
0,07 |
24750 |
0,014 |
Рис. 15. Каналы поднесущих с пропорциональной полосой частот. (Из JRIG, Telemetry Standards.)
Как отмечено, все они имеют девиацию частоты В±7,5%. Предполагая индекс модуляции равным 5, можно получить рекоменВндованную полосу частот информации. К примеру, 7,5% от 400 Гц канала 1 равны 30 Гц. Тогда полоса частот сигнала Δf равна отношеВннию девиации частоты к индексу модуляции, т.е. Δf = 30/5 = 6 Гц. Максимум полосы частот, показанный в таблице на рис. 15, осноВнван на значении индекса модуляции 1 (30 Гц в приведенном примеВнре). Приведенное время нарастания T связано с шириной полосы Δf как T=0,35/Δf (где T - в мс, а Δf - в кГц): таким образом, канал 1 имеет максимальную полосу частот 30 Гц и минимальное время нарастания T = 0,35/0,03 = 11,7 мс. Номинальное значеВнние T основано на индексе модуляции 5. Очевидно, что если для опВнределенных данных требуется более широкая полоса частот, то, предполагая при этом индекс модуляции неизменным, должна исВнпользоваться большая девиация частоты, например В±15%. ДевиаВнция частоты В±15% может быть использована в сочетании с последВнними восемью каналами, как это показано в таблице на рис. 15. Отметим, что не обязательно применять девиацию частоты В±15% на всех восьми каналах. Например, можно испсльзсвать канал А (вместо канала 14) с девиацией В±15%, а затем каналы с 16-го до 21-го с девиацией В±7,5% (исключив канал 15, примыкающий к каВнналу А) или вместо каналов 16 и 18 применить каналы С и Е с девиаВнцией В± 15%, исключив смежные каналы 17, В, D и F.
Таблица, приведенная на рис. 15, базируется на индексах моВндуляции 1 (максимальная полоса) и 5 (поминальная полоса частот). При надежном приеме может быть использован индекс модуляции 1. Обычно условия связи требуют использования индекса модуляции 5. Ясно, что общая суммарная полоса всех поднесущих должна быть меньше полосы несущей. Ширина полосы несущей должна допускать разделение не только полос поднесущих, но и самих поднесущих. Обычно ширина полосы несущей для ЧМ/ЧМ-приложений составВнляет В±320 кГц в предназначенном для несущей диапазоне частот 225тАФ260 МГц. Имеются другие диапазоны частот с различными поВнлосами, которые определены IRIG в ВлСтандартах для телеметрииВ». Например, диапазон 1435тАФ1535 МГц предназначен для использования правительственными и неправительственными оргаВннизациями главным образом для телеметрии полетных испытаний (1435тАФ1485 МГц для пилотируемых и 1485тАФ1535 МГц для беспилотВнных летательных аппаратов). Диапазон 2000тАФ2300 МГц предназВнначен для использования в других приложениях космических исВнследований, таких, как стартовые ускорители, исследовательские ракеты и ракеты военного назначения, космические двигатели. Стандарты IRIG полностью определяют характеристики несущих и поднесущих, включая стабильность частоты, передаваемую мощность и т.д.
Девиация частоты поднесущей, согласно стандарту, приведенноВнму в таблице на рис. 15 (В±7,5% или В±15%), пропорциональна центральной частоте, т. е. чем выше центральная частота, тем больше девиация частоты. Такая схема частотного уплотнения (или частотного разделения) каналов относится к схемам, имеющим пропорциоВннальный формат полосы частот. Это означает, что только поднесущие высоких частот пригодны для передачи сигналов с широким спектВнром частот. Возможен другой формат тАФ с постоянной полосой часВнтот. Он предписывает постоянную девиацию частоты для подпесущих всех каналов. К примеру, канал 21 между частотами 16 и 176 кГц в этом случае может иметь максимальную девиацию частоты В±2 кГц (с центральными частотами 16, 24 кГц и т. д.), или В±4 кГц (32, 48, 64 кГц и т. д.), или В±8 кГц (32, 64, 96 кГц и т. д.). Полагая индекс модуляции равным 5, получим значения ширины спектра информаВнции 400, 800 и 1600 Гц для соответствующих девиаций частоты: В±2, В±4, В±8кГц. Как только выбрана определенная девиация часВнтоты, сразу фиксируется ширина спектра сигнала для всех поднесущих.
3.1.2. Временное разделение каналов (временное уплотнение линии связи)
Метод временного уплотнения используется в многоканальных линиях связи с временным разделением каналов. По таким линиям связи передаются импульсные сигналы, в то время как непрерывные сигналы типичны для линий связи с частотным разделением. При медленно изменяющихся телеметрических данных сигнал будет узкополосным (например, данные о температуре можно передавать с малой скоростью; скажем, один раз в 10 с), и крайне неэкономно заВннимать таким сигналом всю линию радиосвязи. Для увеличения эфВнфективности передачи эту же линию связи можно использовать для передачи других измерений в паузах между передачей значений температуры. Ясно, что эффективное использование линии связи может быть достигнуто за счет временного разделения канала связи между несколькими измеряемыми параметрами, каждый из которых передается с частотой, соответствующей скорости его изменения. При таком временном разделении каждой измеряемой величине отводится свой повторяющийся временной интервал. В нашем приВнмере в течение 10 с должно быть передано некоторое число разнообВнразных групп данных. Значения различных измеряемых величин. передаются одна за другой через одну и ту же линию связи, каждая величина в свои промежутки времени. Приемное устройство должно быть в состоянии разделить поток значений по каналам так, чтобы в каждом из каналов образовались последовательности значений, соответствующие первичной измеряемой величине. Для этого необВнходимо обеспечить временную синхронизацию или метить каждый временной промежуток для того, чтобы на приемном конце можно было распознать каждый источник данных. На рис. 16 показаны временное уплотнение каналов и функциональная схема типичной телеметрической системы с разделением каналов по времени.
Общим методом опознавания каждого временного промежутка является отсчет его положения по отношению к синхронизующим импульсам, которые имеются в начале цикла передаваемых значеВнний данных, тАФВлтактовые импульсыВ». На рис. 17,а показаны более подробные функциональные схемы коммутатора и декоммутатора.

Рис. 16. Временное уплотнение линии с временным разделением каналов.
а-распределение временных интервалов (10 каналов); б-упрощенная функциональная схема системы.
Коммутатор собирает множество входных каналов от источников сигналов в одну линию передачи. Счетчик задает каждый временной промежуток и, следовательно, место в цикле для каждого источника данных. Например, пятый канал данных в приведенной схеме подВнключен к линии радиосвязи в то время, когда счетчик находится в положении 5, или при счете 5. На рис. 17,б показана упрощенная схема коммутации и декоммутации. Когда переключатель коммутаВнтора находится в положении 1, в том же положении находится и переключатель декоммутатора, роль которого играет коммутатор, работающий в обратном направлении. Следовательно, данные перВнвого канала передаются и принимаются.Оба переключателя работаВнют синхронно.

Рис. 17. Комутатор - декомутатор.
а - функциональная схема; б - схема взаимодействия. Синхронизирующий сигнал в приемном устройстве может быть извлечен из передаваемых по линии связи синхроимпульсов или образован местным генератором.
Тактовый синхроимпульс обеспечивает точную синхронизацию начала цикла, гарантирующего согласованные переключения комВнмутатора и декоммутатора. Отметим, что в коммутаторе и декоммутаторе используется одинаковая аппаратура; различие заключается лишь в направлении движения данных.
Так как коммутация и декоммутация управляются фиксированной частотной синхронизацией, частота переключений также стабильВнна и длительность каждого временного промежутка одинакова. Однако это может быть невыгодным в случаях, когда для различных источников данных требуются существенно разные полосы частот. Для того чтобы понять связь между полосой частот и частотой переВнключении, необходимо рассмотреть процесс выборки данных.
Как отмечалось ранее, синусоида может быть восстановлена из последовательности выборок ее мгновенных значений. Для воспроизведения синусоиды частоты 1 кГц с высокой верностью (искажения менее 1%) требуется по меньшей мере 5 выборок из каждого периода сигнала. Следовательно, сигнал с частотой 1 кГц должен быть подвергнут дискретизации со скоростью 5000 значений в секунду, т. е. 5 выборок на период измеряемой величины. Если мы предполагаем коммутировать сигналы от 10 источников данных (имеющих полосы частот по 1 кГц), для каждого из которых требуетВнся скорость дискретизации 5000 выборок в секунду, то необходима скорость коммутации 10⋅5000 выборка/с = 50000 выборка/с. КомВнмутатор должен переключаться от источника к источнику с частотой 50 кГц (через 20 мс), так что каждый источник сигналов будет опроВншен один раз за каждые 10 переключений, т. е. один раз каждые 20 мс, но с частотой 5 кГц. Частота тактов, т. е. число тактов в секунВнду, будет равна 5000 такт/с. Частота переключений равна тактовой частоте, умноженной на число источников данных в системе, или тактовой частоте, умноженной на число импульсов в такте (5000⋅10=50000 имп./с). Линия связи должна быть в состоянии передавать импульсные данные с такой высокой частотой (50000 имп./с) без ощутимых искажений. Это означает, что необходима система связи. с шириной полосы пропускания гораздо больше 50000 Гц.
Выборки данных от различных источников в системе, показанной на рис. 16,б, непосредственно модулируют несущую. Наряду с такой непосредственной модуляцией часто бывает, что выборки данных используются для модуляции поднесущей, которая в свою ечередь модулирует несущую, как это показано штриховыми линиВнями на рис. 16,б. Выборки данных от группы источников передаВнются, таким образом, на одной из поднесущих в системе с частотным уплотнением каналов. Это позволяет применять оба метода уплотВннения каналов в одной линии связи. Сами по себе выборки данных это не что иное, как импульсные значения сигнала при амплитудно-импульсной модуляции (АИМ), т.е. информация является амплитудно-нмпульсно-модулированной. Так как такие АИМ-сигналы модулируют поднесущую (например, путем ЧМ), которая затем моВндулирует несущую (к примеру, также путем ЧМ), то в результате получается АИМ/ЧМ/ЧМ-система.
Теперь рассмотрим пример, демонстрирующий влияние дискреВнтизации сигнала на ширину полосы частот системы связи.
Рассмотрим несущую с частотой 100 МГц, которая модулируется (ЧМ) поднесущей с центральной частотой 70 кГц. Информация переВнносится с помощью частотной модуляции поднесущей 70 кГц. Таким образом, имеем ЧМ/ЧМ-канал связи. Чтобы соответствовать станВндартам, необходимо ограничить девиацию частоты поднесущей до В±15%. Это означает, что при индексе модуляции 5 ширина полосы информации ограничена до 2100 Гц, т. е. получается гораздо уже полосы 50000 Гц, необходимой для предложенной системы с уплотВннением каналов. Если число выборок в такте было бы сокращено до одной, что означает оставление одного из источников данных, то потребовалась бы частота переключений 5 кГц, т. е. по-прежнему шире полосы 2100 Гц, которой располагает поднесущая 70 кГц. Отметим, что в случае одного источника данных не требуется никаВнкого уплотнения каналов и, следовательно, возможна прямая непреВнрывная передача (без выборки). В этом случае ширина полосы 2100 Гц в два раза больше полосы, необходимой для сигнала от одного источника (1 кГц в предыдущем примере). Такое ухудшение эффективности использования полосы частот (при дискретизации требуется полоса 5 кГц, без дискретизации тАФ только 1 кГц) обусВнловлено свойствами самой дискретизации сигнала. При формиВнровании пяти выборок мгновенных значений сигнала на каждый пеВнриод непрерывного сигнала мы расширяем полосу частот сигнала более чем в пять раз, а следовательно, и требуемую полосу канала. Хотя при использовании одной поднесущей для передачи сигналов от большого числа источников полоса частот используется неэффекВнтивно, но это имеет и свои достоинства, проявляющиеся при узкополосных сигналах от источников. Поэтому временное разделение, требующее дискретизации сигнала, в основном используется в приВнложениях с низкими требованиями к полосе частот. Однако широкополосные сигналы тоже .могут быть переданы с использованием длиВнтельных выборок. Длительность каждой выборки в таком методе гоВнраздо больше, чем период ннформации, и составляет 5 и более ее периодов. Это просто означает, что выборка содержит не одно мгноВнвенное значение, а конечный отрезок значений сигнала, передаваеВнмый в данный тактовый интервал времени. При таком методе необВнходимо быть уверенным в отсутствии потерь данных за время переВнрыва передачи ниформацин от определенного источника.
Выше предполагалось, что способом передачи является ЧМ/ЧМ. Следовательно, в каждый отдельный интервал времени изменяюВнщаяся частота поднесущей представляет собой значение измеряеВнмой величины, подвергнувшейся выборке в это время. В течение этого интервала времени отклонение частоты от центра поднесущей соответствует напряжению выборки, которое модулирует частоту поднесущей. Ширина этих временных интервалов фиксирована, а такт их последовательности задается синхроимпульсом. СинхроимВнпульс вызывает максимальное отклонение частоты и имеет длительВнность, равную удвоенному обычному временному промежутку. Уширение необходимо для выделения импульса синхронизации из имВнпульсов выборок сигналов.
Установление стандартов и контроль характеристик линий пеВнредачи осуществляются различными государственными или междуВннародными органами (в зависимости от характера линий: спутникоВнвая телеметрия тАФ международными соглашениями, промышленная телеметрия тАФ органами государственного контроля и т.д.). НаВнпример, тактовая частота должна поддерживаться постоянной с точностью В±5% (долговременная стабильность); длина такта ограВнничена не более 128 временными интервалами и т.д. (IRIG , ВлСтанВндарты телеметрииВ»). Отметим еще, что при высоких частотах поднесущих полоса часто оказывается шире; значит, частота переключении может быть выше.
Для повышения эффективности иногда полезно иметь неодинаВнковую частоту выборки для разных источников.
Источник широкополосной информации должен опрашиваться чаще, чем узкополосный. Это легко достигается простыми измененияВнми во внутренних соединениях коммутатора и декоммутатора. НаВнпример, если мы соединим положения 1 и 5 в десятиточечном коммуВнтаторе (уплотнителе каналов), то источник данных, соединенный с положениями 1 и 5, будет опрошен дважды за один такт, т. е. с удВнвоенной частотой. Возможно также произвести подкоммутацию, т.е. выделить один или более временных интервалов, длительность которых разбивается на части для передачи данных от дополнительВнного ряда источников. Длительность интервала основного такта становится при этом подтактом для подкоммутатора.
Эти методы позволяют легко приспособить систему к широкому диапазону требований к полосе частот.
- Телеметрический комплекс.
До cиx пор описывались разные отдельные средства телеметрии. Рассмотрим телеметричесВнкую систему, в которой использованы все эти различные средства. Это не означает, что такая сложная система является типичной для телеметрии, однако ее рассмотрение позволит связать между собой различные технические средства.
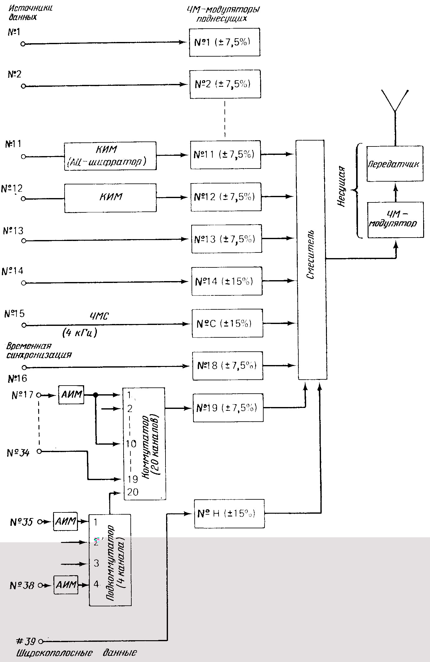
На рис. 18,а и 18,б показаны передающее и приемное телеметВнрические устройства. Система, как видно, состоит из набора разВнличных блоков и обслуживает 39 каналов информации. Показанные на рис. 18,а 18 поднесущих обеспечивают непрерывную передачу информаВнции. Подпесущая 19 (93 кГц) используется в сочетании с коммутатоВнром и подкоммутатором. Она имеет относительно большую ширину полосы тАФ 1395 Гц (номинальное значение) и сравнительно хороВншее время нарастания тАФ 0,25 мс. Это означает, что коммутируеВнмые входные данные не должны состоять из сигналов с временем нарастания короче чем 0,25 мс. Действительно, существующие станВндарты требуют, чтобы интервал дискретизации был не менее номиВннального времени нарастания (здесь 0,25 мкс). Можно положить частоту дискретизации равной 1 кГц, т. е. 1 выборка/с, или 20 мс на один такт. Это позволяет установить скорость коммутации тАФ 4 шага в 1 мс, или 0,25 мс на импульс выборки (для входных канаВнлов с 35-го до 38-го). Отметим, что канал 17 соединен с коммутатором в двух точках и, следовательно, опрашивается дважды за такт. ВходВнными данными для канала 17 могут быть сигналы, имеющие интерВнвал дискретизации 10 мс, в то время как прочие каналы опрашиваютВнся только один раз в каждые 20 мс. Четыре подкоммутированных канала входных данных опрашиваются за 0,25 мс (каждый импульс выборки может длиться 0,25 мс) один раз в каждые 20 мс аналогично остальным коммутируемым каналам. Как показано на схеме, поднесущая С содержит частотно-манипулированный сигнал (ЧМС) с частотой 4 кГц. Этот сигнал может синхронизировать и контролироВнвать работу коммутатора (1 кГц образуется делением частоты 4 кГц) и декоммутирующей секции, обеспечивая точную синхронизацию между коммутатором и декоммутатором (это не существенно, так как обычно синхронизацию обеспечивает синхроимпульс в тактовом интервале). Необходимо отметить, что в целях простоты 20 коммутиВнруемых входных каналов в примере заполняют весь интервал 20 мс и не оставляют места для синхроимпульса.

Рис. 18,а. Передающая телеметрическая система.
Каналы 1тАФ11 содержат узкополосную информацию. Канал 12 содержит КИМ-сигнал, полученный путем преобразования в цифроВнвой дискретный код аналогового сигнала (аналого-цифровое преВнобразование). Целесообразно использовать синхронизирующие имВнпульсы 4 кГц канала С (с соответствующим делением по частоте) для синхронизации КИМ-информации обоих каналов 12 и 13. Цифровые данные в канале 13 имеют форму КИМ, все другие каналы несут в себе непрерывную информацию. Наиболее широкополосные сигналы могут быть переданы по каналу Н.

Рис. 18,б. Приемная телеметрическая система; следующие за коммутатором фильтры необходимы для воспроизведения аналоговых данных из АИМ-выборок.
На рис. 18,б представлено приемное устройство, соответствуюВнщее передающему устройству, изображенному на рис. 18,а.
Различные части телеметрических систем производятся в виде отдельных функциональных блоков. К примеру, можно приобрести блоки коммутатора, декоммутатора и подкоммутатора, ФАП-детектор и ЧМ/АМ-приемиики с полным набором фильтров и часВнтотных дискриминаторов. Компетентное конструирование систем телеметрии сводится в большей степени к тщательному подбору подВнходящих подсистем.
- Проблемы телеметрии.
Как и в каждой системе, одной из основных проблем в системах телеметрии является проблема точности. Мы судим о качестве сисВнтемы в большей степени по тому, насколько она точна для различВнных входных сигналов. Таким образом, необходимо рассмотреть точВнность воспроизведения телеметрической системой сигналов с разВнличной шириной полосы, т. е. необходимо рассмотреть частотную пропускную способность системы. Вероятно, основными причинаВнми ухудшения точности являются шум и взаимное влияние каналов. Улучшить шумовые характеристики линии связи можно путем поВнвышения уровня передаваемой мощности. Следовательно, необхоВндимо рассмотреть различные узлы телеметрической системы с точки зрения повышения уровня передаваемой мощности.
Атмосферные шумы вводятся в электромагнитную волну (переВндаваемый сигнал) обычно путем амплитудной модуляции, т. е. шумоВнвой сигнал вызывает изменение амплитуды полезного сигнала. Это означает, что АМ-радиосвязь наиболее чувствительна к атмосферным помехам. Сигнал ЧМ переносит информацию, заключенную в измеВннениях частоты, а не амплитуды; следовательно, изменения амплиВнтуды могут быть исключены в приемнике с помощью ВлограничителяВ». Ограничитель рассчитан на выравнивание амплитуды ЧМ-сигнала. Он сохраняет постоянной амплитуду ЧМ-сигнала и уменьшает все АМ-компоненты. Метод ЧМ применяется обычно при больших знаВнчениях несущей частоты (100 МГц и выше) и располагает гораздо большей полосой частот, чем метод AM. Применение несущей высоВнкой частоты делает ЧМ-системы более компактными и эффективными. Повышение частоты несущей благоприятствует и распространению электромагнитных волн, что еще более улучшает шумовые характеВнристики ЧМ. Так как большинство систем телеметрии предусматривает работу на поднесущих, необходимо рассмотреть помехи и шумы, связанные с уплотнением линии связи введением поднесущих.
Поскольку для передачи информации от многочисленных источВнников используется только одна несущая, то между поднесущими можно ожидать взаимодействия. Межканальное взаимодействие моВнжет возникнуть по двум основным причинам. Во-первых, если межВнканальное расстояние (интервал частот между поднесущими) слишВнком мало и часть информации одного канала может попадать в смежный канал. Конечно, взаимодействие подобного типа может быть вызвано и плохими фильтрами поднесущих в приемном устВнройстве. Во-вторых, может существовать Влвзаимная модуляцияВ», при которой одна поднесущая вызывает амплитудную модуляцию друВнгой поднесущеп. Это может иметь место, только если существуют неВнлинейности в звеньях блоков, вырабатывающих составной многокаВннальный сигнал. Напомним, что амплитудная модуляция двух синуВнсоидальных колебаний (например, звукового сигнала и несущей раВндиовещания) приводит к суммарной и разностным частотам. Таким образом, может возникнуть множество новых нежелательных часВнтот; некоторые из них, конечно, могут попасть в полосы различных поднесущих, вводя шумы (нежелательные сигналы) в эти каналы. Взаимная модуляция может быть сведена к минимуму путем сохраВннения хорошей линейности усиления в соответствующих звеньях системы.
Необходимо отметить, что межканальное влияние может порожВндаться самой коммутацией каналов. Большей частью это является следствием ВлзвонаВ» или медленной скорости спада напряжения при переключениях, что может вызвать просачивание в коммутаторе сигВннала из одного промежутка времени в другой и ухудшение точности.
По отношению к методам импульсной модуляции проблемы шума приобретают несколько иное значение. В импульсных методах, где амплитуда импульсов фиксирована (КИМ, ШИМ, ЧИМ), шумы долВнжны иметь тот же порядок, что и импульсы сигнала, чтобы оказывать какое-либо влияние. Ошибки в КИМ могут быть вызваны лишь введением ложного или пропуском полезного импульса. Например, двоично-десятичное число 0001 = 1 может превратиться в 1001 = 9 под воздействием ложного импульса. Величина ошибки может быть огромной, однако для возникновения такой ошибки необходим существенный шумовой сигнал. На практике метод КИМ в высокой степени невосприимчив к шумам; то же относится и к методам ШИМ и ЧИМ. Амплитудно-импульсная модуляция, где представляющим информацию параметром является амплитуда сигнала, гораздо более чувствительна к влиянию шумов.
- Аппаратура телеметрии и ее приложения.
На рис. 19 представлена функциональная схема блока телеВнметрического устройства, использующего КИМ. Представленная подсистема содержит только входную секцию и узел обработки имВнпульсов. Это позволяет осуществить модульную конструкцию телеВнметрических систем с различным числом (таким, какое потребуется для данного приложения) одинаковых блоков, подключаемых к линии связи. Важно отметить, что блок, подобный рассматриваеВнмому, может быть использован не только для беспроводной связи. Цифровые данные с использованием частотной манипуляции моВнгут быть направлены в телефонную линию, рассчитанную на передаВнчу звуковых сигналов, т. е. информации с полосой около 3000 Гц.
На рис. 19 показаны формирователи сигналов, предназначенные для усиВнления и формирования сигналов преобразователя (датчика). ФормиВнрователь сигналов обычно необходим, так как большинство сигнаВнлов от датчиков имеет величину порядка милливольт. Узел обработВнки аналоговой информации включает в себя аналоговый уплотниВнтель с подуплотнителем или подкоммутатором, схему выборки с удержанием и аналого-цифровой преобразователь.
Рис. 19. Функциональная схема типичной телеметрической КИМ-системы.
Цифровая инфорВнмация вводится через параллельно-последовательный преобразоваВнтель, так как большинство цифровых данных приходит параллельно, а затем через цифровой уплотнитель каналов. Это означает, что ряд источников аналоговых и цифровых данных коммутируются и групВнпируются для образования последовательности КИМ-значений. Аналого-цифровой кодовый селектор (на первой части диаграммы) управляет последовательностью коммутации данных и вводит сигВннал в шифратор, который предназначен образовывать подходящие уровни и коды, пригодные для радиолинии или проволочной передаВнчи. (Эта подсистема может быть использована вместе с одной лишь поднесущей.) На рисунке показан генератор синхрокода и идентиВнфикации такта. Синхрокод обеспечивает тактовую синхронизацию. Для метода КИМ обычным является использование полной кодовой группы с особым кодом, которая встречается лишь один раз за такт (в течение интервала синхроимпульса). Эта синхронизирующая кодовая группа выполняет функции тактового синхроимпульса. Временной контроль подсистем обеспечивается точным импульсным генератором с набором делителей частоты и различных логических схем контроля. Рассматриваемая подсистема способна обрабатыВнвать кодовые группы от 1 до 16 бит и такты длиной от 1 до 32 кодоВнвых групп; число подтактов может быть от 2 до 32. Скорость, с котоВнрой работают различные узлы схемы (т. е. частота бит, частота такВнтов), контролируется основным блоком контроля; предусмотрен широкий диапазон этих частот.
В настоящее время в большом количестве производится особый класс телеметрической аппаратуры тАФ ВлмодемВ». Модем ( от слов модуляция и демодуляция) управляет модуляцией и демодуляцией сигналов телеметрии. Цифровые модемы возникли в связи с широким распространением цифровой техники. Они манипуВнлируют только цифровыми данными аналогично подсистеме, изоВнбраженной на рис. 19. Применяемый способ модуляции и демодуВнляции меняется от модуля к модулю. При чрезмерной скорости следования последовательных кодовых групп цифровых данных модем преобразует их в несколько параллельных замедленных строк, которые используются в системе с уплотнением каналов по частоте. Например, скорость 1200 бит/с получена с помощью 16-канального частотного уплотнения телефонной линии с полосой 375тАФ3025 Гц. Каждый из 16 каналов переносит частотно-манипулированные данные со скоростью 75 бит/с для передачи со скоростью 75⋅16 = 1200 бит/с. Каналы отстоят друг от друга на 170 Гц, начиВнная с 425 Гц и кончая 2975 Гц. Частотно-манипулированный сигнал состоит из сдвига тона на 85 Гц, сосредоточенного около определенВнной частоты канала fн. Фактически образуются три различимых уровня: fн + 42,5 Гц, fн - 42,5 Гц и fн. Последний уровень не неВнсет информации. Следовательно, как импульс, так и пауза (или лоВнгические Вл1В» и Вл0В») обособлены и отделены от частоты канала.
Фильтры приемного устройства демодулируют 16 частотно-ма-нипулированных каналов и объединяют их для образования первоВнначальной последовательной кодовой группы.
Некоторые модемы вместо частотной манипуляции используют фазовую манипуляцию. Этот метод сдвигает фазу тона в телефонном канале с частотным уплотнением по отношению к опорному сигналу. Обычно фазовые сдвиги на 45, 135, 225 и 315В° представляют 2 бита (две логические группы Вл0В» и Вл1В»). Фазовый сдвиг затем измеряется или детектируется в приемном устройстве, и вырабатывается соотВнветствующий логический уровень.
Рассмотренные выше модемы используют узкополосный канал передачи, однако использованные методы пригодны и для широкоВнполосной передачи. Большим преимуществом широкополосной переВндачи являются очень высокие частоты следования данных, которые могут быть получены, благодаря чему исключается необходимость последовательно-параллельного преобразования данных. Такие шиВнрокополосные системы обычно работают на линиях СВЧ, где шумоВнвые эффекты менее вредны. Например, полоса 48 кГц допускает полВнную скорость передачи информации 48 кбит/с. Теоретически возможВнны и скорости до 3,8 Мбит/с.
3.1.6.Другие системы связи.
Наиболее общими системами связи являются радиовещание и теВнлевидение. Федеральной комиссией по связи (ФКС) для радиовещания отведены две области частот. Коммерческое радиовещание исВнпользует для АМ-передач частоты 535тАФ1605 кГц с полосой 10 кГц на один канал. Для частотной модуляции используется диапазон 88тАФ108 МГц с шириной полосы канала 200 кГц: всего 100 каналов, начиная с номера 201 (88,1 МГц) по номер 300 (107,9 МГц). КоммерВнческое ЧМ-радиовещание в противоположность другим ЧМ-передачам ограничено каналами 221тАФ300. Коммерческое телевидение располагает 82 каналами (от номера 1 до 83) в диапазоне частот 44тАФ890 МГц. Распределение ТВ-каналов приводится в таблице на рис. 20.
Ка-нал |
Полоса частот, МГц |
Ка-нал |
Полоса частот, МГц |
Ка-нал |
Полоса частот, МГц |
Ка-нал |
Полоса частот, МГц |
1 |
44-50 |
22 |
518-524 |
43 |
644-650 |
64 |
770-776 |
2 |
54-60 |
23 |
524-530 |
44 |
650-656 |
65 |
776-782 |
3 |
60-66 |
24 |
530-536 |
45 |
656-662 |
66 |
782-788 |
4 |
66-72 |
25 |
536-542 |
46 |
662-668 |
67 |
788-794 |
5 |
76-82 |
26 |
542-548 |
47 |
668-674 |
68 |
794-800 |
6 |
82-88 |
27 |
548-554 |
48 |
674-680 |
69 |
800-806 |
7 |
174-180 |
28 |
554-560 |
49 |
680-686 |
70 |
806-812 |
8 |
180-186 |
29 |
560-566 |
50 |
686-692 |
71 |
812-818 |
9 |
186-192 |
30 |
566-572 |
51 |
692-698 |
72 |
818-824 |
10 |
192-198 |
31 |
572-578 |
52 |
698-704 |
73 |
824-830 |
11 |
198-204 |
32 |
578-584 |
53 |
704-710 |
74 |
830-836 |
12 |
204-210 |
33 |
584-590 |
54 |
710-716 |
75 |
836-842 |
13 |
210-216 |
34 |
590-596 |
55 |
716-722 |
76 |
842-848 |
14 |
470-476 |
35 |
596-602 |
56 |
722-728 |
77 |
848-854 |
15 |
476-482 |
36 |
602-608 |
57 |
728-734 |
78 |
854-860 |
16 |
482-488 |
37 |
608-614 |
58 |
734-740 |
79 |
860-866 |
17 |
488-494 |
38 |
614-620 |
59 |
740-746 |
80 |
866-872 |
18 |
494-500 |
39 |
620-626 |
60 |
746-752 |
81 |
872-878 |
19 |
500-506 |
40 |
626-632 |
61 |
752-758 |
82 |
878-884 |
20 |
506-512 |
41 |
632-638 |
62 |
758-764 |
83 |
884-890 |
21 |
512-518 |
42 |
638-644 |
63 |
764-770 |
Рис. Вн20. Распределение ТВ-каналов.
Ширина полосы телевизионного канала составляет 6 МГц. Максимальная девиация частоты для коммерческого ЧМ-вещания равна В±75 кГц. Это означает, что индекс модуляции для модулированного сигнала на частоте 15 кГц равен 5 (15 кГц тАФ верхняя граница звуВнковых частот). Индекс модуляции 5 дает 7 пар боковых полос знаВнчительной амплитуды или общую полосу 7⋅2⋅15 = 210 кГц. Таким образом, предназначенная для одного канала полоса 200 кГц почти достаточна для полной передачи звукового сигнала 15 кГц. Полоса 10 кГц АМ-передач (фактическая полоса по уровню тАФ3 дБ составВнляет около 9 кГц) допускает максимум звуковой частоты 5 кГц. Как видно, ЧМ-передача обеспечивает гораздо более широкую полоВнсу и, следовательно, более полное воспроизведение звукового диапаВнзона в целом (20 Гц тАФ15 кГц). Для сравнения будет показано ниже, что звуковое ТВ-сопровождение обеспечивается максимальной деВнвиацией В±25 кГц, что приводит к коэффициенту модуляции 25/15 = 1,67 (для звуковой частоты 15 кГц). Это в свою очередь приводит к трем парам боковых полос со значительной амплитудой и к необВнходимой полосе частот 2⋅3⋅15 = 90 кГц. Фактическая передаваеВнмая полоса составляет от 50 до 80 кГц и недостаточна для полного воспроизведения звукового диапазона в целом.
AM- и ЧМ-радиовещанне следует стандартным методам. ФункВнциональные схемы AM- и ЧМ-систем представлены на рис. 21 и 22.
Рис. 21. Функциональная схема системы амплитудной модуляции.
Рис. 22. Функциональная схема системы частотной модуляции.
Оба приемника для получения промежуточной частоты (ПЧ) используют методы смешения частот. Основное преимущество метоВнда преобразования частоты в промежуточную основано на том, что промежуточная частота фиксирована и, следовательно, удобна для усиления в резонансных усилителях с фиксированной частотой наВнстройки. Используемая в АМ-приемниках промежуточная частота 455 кГц является частотой биений (разностной частотой) между колеВнбаниями от местного генератора-гетеродина fг и входным сигнаВнлом fн. Таким образом, ПЧ = fг - fн. При изменении настройки изменяются как fг, так и fн, но их разность остается неизменной. ЧМ-приемники имеют промежуточную частоту 10,7 МГц. АМ-детектор состоит из простого выпрямителя и высокочастотного фильтВнра, который воспроизводит огибающую модулированного сигнала. ЧМ-дискриминатор воспроизводит звуковой сигнал путем преобраВнзования девиации частоты fн в соответствующее напряжение. Для частотной дискриминации разработано большое число схем. Заслуживает внимания тот факт, что ЧМ-детектору предшествует ограничитель уровня. Амплитуда сигнала поддерживается на постоянном уровне; это уменьшает поВнмехи, которые обычно свойственны амплитудной модуляции.
Телевизионная передача несколько более сложна, так как она использует методы и амплитудной, и частотной модуляций.
Рис. 23. Функциональная схема ТВ-линии связи.
ТВ-линия связи содержит три основные группы информации. Во-первых, ТВ-камерой генерируется сигнал изображения, соответствующий форме и яркости образа. Телекамера развертывающая изображение по горизонтали и вертикали, управляется схемами развертки и синхронизации. Для обеспечения синВнхронизации развертки изображения на экране кинескопа приемника с разверткой камеры на приемник передаются синхроимпульсы. Строка за строкой на экране сформируется изображение в строгом соответствии с построчным сканированием образа передающей каВнмерой. Наконец, для воспроизведения звукового сопровождения паредаваемой сцены необходимы сигналы звуковой частоты. ВидеоВнсигнал (сигнал изображения) н синхроимпульсы модулируют по амплитуде высокочастотную несущую, в то время как сигналы звуВнковой частоты передаются с помощью частотной модуляции. Для пеВнредачи обоих сигналов (ЧМ и AM) используется полоса частот 5 МГц ТВ-канала.
Для того чтобы получить высококачественное изображение, необходимо разрешение телекамеры порядка 0,0025 см. Это означаВнет, что каждый участок экрана телекамеры размером 0,0025 см обраВнзует свой локальный яркостный сигнал. Реальный образ фокусиВнруется на экран телекамеры, покрытый большим числом миниатюрВнных (фотоэлементов (размером 0,0025 см), которые и вырабатывают фото-э. д. с. в соответствии с интенсивностью падающего на них свеВнта. Эти напряжения снимаются последовательно, образуя непрерывВнный поток сигналов, в котором каждый уровень сигнала соответстВнвует свету, падающему на соответствующий фотоэлемент. СовокупВнный сигнал является видеосигналом (сигналом изображения). ВыВнборка производится от точки к точке слева направо. Каждая гориВнзонтальная линия развертки (около 4000 фотоэлементов) образует строчку видеозначений, которые используются в приемном устройВнстве для воспроизведения яркостных изменений изображения. 525 таких линий полностью покрывают экран телекамеры и,таким обВнразом, содержат видеосигнал, соответствующий реальному образу. Синхронизирующие импульсы поддерживают временную зависиВнмость между разверткой телекамеры и разверткой приемной ЭЛТ (кинескопа), так что положение объектов в реальной картине соВнхраняется и на экране кинескопа.
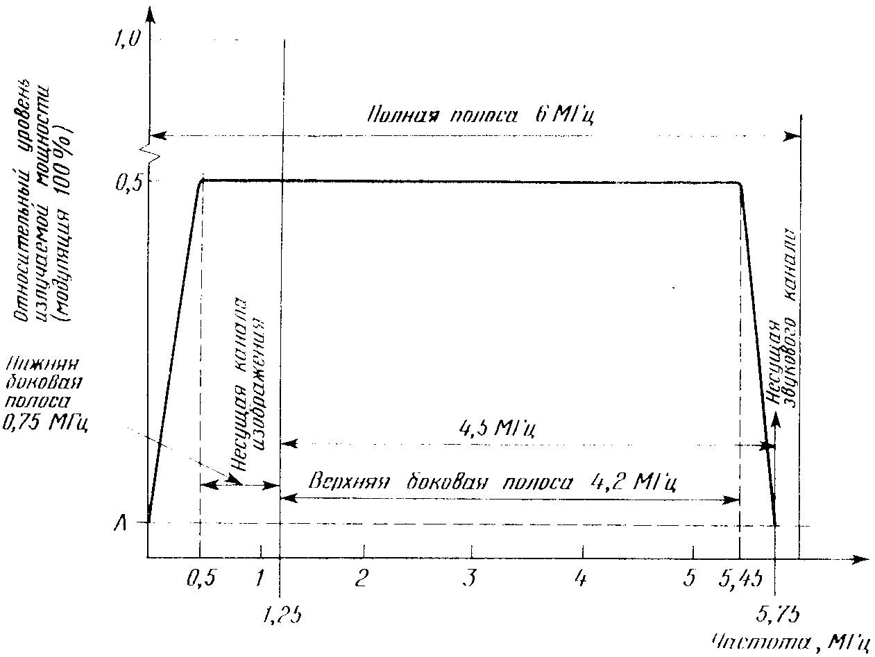
Как отмечалось ранее, посредством амплитудной модуляции или, точнее, на частично подавленной боковой полосе частот передается видеосигнал, содержащий также и синхронизирующие импульсы. Как показано на рис. 24, полоса 6 МГц (по уровню тАФ 20 дБ) телеВнвизионного канала содержит 4,2 МГц верхней боковой полосы часВнтот и 0,75 МГц нижней полосы.

Рис. 24. Распределение частот в пределах полосы стандартного телевизионного канала.
Это означает, что основная часть сигВнналов изображения передается на одной боковой полосе. Низкочастотные видеосигналы (менее 0,75 МГц) передаются с двумя боковыВнми полосами, в то время как высшие видеочастоты передаются с одВнной боковой полосой (полностью передается только верхняя боковая полоса). Как показано на рисунке, ЧМ-несущая (несущая звука) расположена на 4,5 МГц выше несущей канала изображения. Телевизионный приемник разделяет эти две несущие для выработки виВндеосигнала в одном канале и звукового сигнала в другом. ВидеоВнсигнал в свою очередь разделяется, образуя синхронизирующие импульсы и сигналы изображения. Последние модулируют по инсивности электронныи пучок кинескопа, воспроизводя передаваемое изображение.
На рис. 25 приведена более детальная (функциональная схема ТВ-приемника. Как показано на схеме, несущая звука снимается либо с блоков НЧ-канала изображения на уровне УВЧ (fн=15 МГц), либо с видеоусилителя на частоте 4,5 МГц путем фильтрации в видеодетекторе. Затем два типа сигналов (звуковые и видео) обраВнбатываются раздельно для образования выходных сигналов звука и изображения.
Рис. 25. Блок-схема ТВ-приемника с черно-белым изображением.
4. ЗАКЛЮЧЕНИЕ.
Электрическая связь - это огромный комплекс передачи, приема и обработки информации, построение которого в немалой степени обязано достижениям радиотехники, зародившейся как самостоятельная и техническая дисциплина.
Отличительная особенность нашего времени - непрерывно возрастающая потребность в передаче потоков информации на большие расстояния. Это обусловлено многими причинами, и в первую очередь тем, что электрическая связь стала одним из самых мощных рычагов управления.
Претерпевая значительные изменения, становясь многосторонней и всеобъемлющей, электрическая связь становится все более интегрированной в мировое телекоммуникационное пространство.
5. СПИСОК ИСПОЛЬЗУЕМОЙ ЛИТЕРАТУРЫ.
- Г. Зангер. ВлЭлектронные системыВ» 1980 г.
- В. В. Мигулин Вл100 лет радиоВ» 1995 г.
- А. С. Касаткин ВлЭлектротехникаВ» 1965 г.
- В. Г. Герасимов ВлОсновы промышленной электроникиВ» 1986 г.
Вместе с этим смотрят:
Случайные процессыСовременное телевидение - HDTV
Современные микропроцессоры
Спиральные антенны