Вакуумные люминесцентные индикаторы
1. ВведениеВо всех системах, где требуется представить информацию в форме, удобной для визуального восприятия человеком, применяются средства отображения информации (СОИ). Одной из основных частей СОИ является индикатор тАФ электронный прибор для преобразования электрических сигналов в пространственное распределение яркости (контраста). Свойства и характеристики индикатора определяют важнейшие параметры СОИ тАФ информационную емкость, надежность и др. Мы рассмотрим один из видов индикаторов тАФ вакуумные люминесцентные индикаторы (ВЛИ).
2. Принцип действия.Принцип действия ВЛИ основан на использовании явления люминесценции, возникающей в катодолюминофорах при возбуждении их электронным пучком. В отличие от высоковольтной катодолюминесценции, используемой в ЭЛП, в ВЛИ имеет место низковольтная люминесценция. Этим устраняется один из главных недостатков ЭЛП тАФ высокое ускоряющее напряжение.
Катодолюминесценция возникает при достижении электронами вполне определенной энергии eUL, , где UL тАФ потенциал начала катодолюминесценции. У большинства материалов, образующих группу высоковольтных котодолюминафоров, применяемых в ЭЛП, UL исчисляется сотнями вольт.
Более 40 лет назад был обнаружен ряд веществ, у которых потенциал начала катодолюминесценции составляет единицы вольт (для ZnS = 6тАФ7 B, для Zn, CdS = 4тАФ5 B). Однако отсутствие практической потребности в таких материалах долгие годы не стимулировало детального изучения низковольтной катодолюминесценции.
Люминофор для ВЛИ должен удовлетворять ряду требований:
1. Ширина запрещенной зоны dW тАФ не более 3тАФ4 эВ. В противном случае условный квантовый выход становится слишком малым.
2. Высокая электропроводность. Согласно оценкам сопротивление слоя не должно превышать единиц килоом. Именно по этой причине большинство люминофоров применяемых в ЭЛП не годится для ВЛИ, поскольку они являются или изоляторами, или полностью компенсированными полупроводниками.
Необходимое значение электропроводности можно обеспечить использованием люминофоров на проводящей основе (ZnO:Zn; SnO2:Eu; (Zn1-x, Cdx)S : Ag, Al); смешанных люминофоров (ZnS : Ag+In2O3 ; ZnS:Cu+ZnO; Y2O2S..Eu+SnO2) и легированных люминофоров ZnS : Ag, Zn, Al.
3. Низкий потенциал начала катодолюминесценции. Даже при малом сопротивлении слоя люминофора он оказывается непригодным для использования во ВЛИ, ели UL = 10тАФ12 В.
4. Низкая светоотдача. В ходе исследования свойств смесей с проводящими порошками было обнаружено, что цвет свечения многих таких композиций зависит от анодного напряжения. Например, у смеси SnO2 : Eu и ZnS:Cl, Al цвет свечения при изменении U от 20 до 60 В меняется с оранжевого на желто-зеленый. Определенное влияние имеет соотношение масс компонент.
При длительной бомбардировке люминофора яркость его свечения изменяется, причем в этом процессе можно выделить три этапа : начальное изменение, этап стабильной яркости и этап выраженного старения.
Первый этап вызван установлением стационарного состояния поверхности люминофора. Критерием длительности второго этапа является снижение яркости до 50тАФ70% от начального значения. Яркость свечения на этом этапе уменьшается в связи с действием различных химических процессов в люминофоре, приводящих, в частности, к восстановлению ZnO до металлического Zn.
Факторы, обуславливающие этап выраженного старения, таковы: изменение поверхностных потенциальных барьеров и электропроводности слоя, химическое воздействие напыленных материалов, возникновение безызлучательных центров, поглощение излучения в почерневшем поверхностном слое люминофора. Особенно быстро чернеет поверхность люминофора при повышении температуры катода.
3. Устройство, параметры и характеристики.Вакуумные люминесцентные индикаторы выпускаются в цилиндрических и плоских баллонах. Первые бывают так одноразрядными, так и многоразрядными, вторые тАФ только многоразрядными.
Основа одноразрядного ВЛИ тАФ стеклянная или керамическая плата, на которой закреплены все остальные детали индикатора (рис. 1). В углублениях платы, выполненных в виде сегментов, находится проводящий слой, соединенный с контактами. Каждый сегмент имеет отдельный вывод. Проводящие слои сегментов полностью покрыты люминофором. На передней стороне платы в направлении считывания устанавливается плоский металлический электрод. Отверстия в этом электроде расположены напротив соответствующих сегментов, покрытых люминофором. На небольшом расстоянии от экранирующего электрода натянута управляющая сетка. В свою очередь на малом расстоянии от плоскости сетки, примерно параллельно оси лампы, расположен прямоканальный оксидный катод. Вся эта система помещена в цилиндрическую стеклянную колбу, которая изнутри покрыта прозрачным проводящим слоем.
В исходном состоянии для надежного запирания электронного тока и предотвращения нежелательного свечения люминофора к сетке прикладывается отрицательное напряжение смешения тАФ несколько вольт по отношению к катоду.
При положительном напряжении на управляющей сетке электроны ускоряются в направлении анодных сегментов. Задача управляющей сетки состоит еще в том, чтобы обеспечивать возможно более равномерное распределение плотности потока электронов на поверхности анода индикатора. Экранирующий электрод имеет тот же потенциал, что и управляющая сетка. Электроны попадают на сегменты, имеющие в данный момент положительный потенциал; возникает низковольтная катодолюминесценция тАФ нанесенный на анод сегмент люминофор начинает светится. Яркость свечения в зависит-

мости от применяемого люминофора достигает значений 300тАФ700 кд/м2 и более.
Развитием цилиндрического ВЛИ явилась конструкция индикатора в плоском баллоне (рис. 2).
Кроме 7-сегментных плоских ВЛИ разработанны также 14-сегментные индикаторы тАФ ВЛИ, знакоместо которого выполнено в виде точечной матрицы 5*7 или 7*12 элементов, матричные, аналоговые и цифро-аналоговые.
Первые два типа индикаторов обеспечивают представление всех букв, цифр и большого числа символов. Матричные ВЛИ состоят из большого числа светоизлучающих элементов. Такой индикатор позволяет отображать буквенно-цифровые сообщения, графики и даже несложные движущиеся изображения.
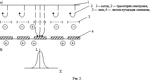
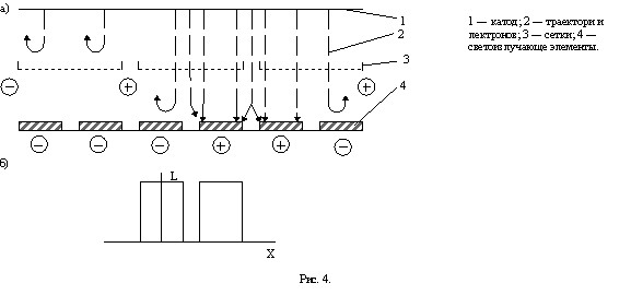
Обычно в матричном индикаторе одна сетка покрывает один столбец светоизлучательных элементов (рис 3, а ). Управление индикатором осуществляется по сеточным цепям. При работе яркость свечения не постоянна по площади, а снижается по краям (рис 3, а ,) поскольку на них попадает меньше электронов, чем на центральную часть элемента. В этом проявляется влияние соседних сеток, имеющих отрицательный потенциал. С целью устранения этого недостатка разработанна усовершенствованная конструкция матричного ВЛИ. В нем каждая сетка покрывает 2 столбца излучающих элементов (рис. 4, а ). Управление осуществляется как по сеточным, так и по анодным цепям.

Такая структура особенно успешно применяется при высокой внешней освещенности индикатора. Управляющее положительное напряжение подается на две соединенные сетки и два расположенных под ними анода. В результате яркость свечения элементов оказывается равномерной (рис. 4, б ).

Другие достоинства этой конструкции состоят в том, что число управляющих сеток уменьшено на половину и обеспечивается большая яркость за счет одновременного излучения света двумя столбцами элементов.
Перспективным является использование ВЛИ для создания индикаторов коллективного пользования как одноцветных, так и полицветных. Для этих целей применяются индикаторы следующих типов: матричный тАЬстолбиктАЭ, т. е. диод, имеющий прямоканальный катод и семь светоизлучающих элементов-анодов. Из таких тАЬстолбиковтАЭ может быть набрана матричная строка высотой 7 элементов и любой длинны; матричное тАЬзнакоместотАЭ формата 5*7 элементов, предназначенное для сборки строк. Таки индикаторы могут быть двух- и трехцветными, при этом светоизлучающие элементы различных цветов располагаются парами или триадами, сохраняя общий формат знакоместа; тАЬэлемент матричного полятАЭ, т. е. ВЛИ цилиндрической формы с торцевым выходом излучения, из которых формируется уже не строка, а матричное поле любого размер. Отдельные индикаторы могут быть одноцветными (с различным цветом свечения, располагаемые парами или триадами) или двух- трехцветными.
Несмотря на широкое применение цифровой индикации, в целом отдавалось и отдается предпочтение аппаратуре с аналоговой индикацией. Для этого используются аналоговые ВЛИ, основными конструктивными типами которых являются линейно-полосовой и концентрически полосовой. Такие индикаторы имеют дискретный анод, состоящий из большого числа отдельных элементов (штрихов), расположенных вдоль прямой линии или по окружности. В последние годы наблюдается тенденция сочетать цифровую и аналоговую формы индикации, что обусловило появление цифро-аналоговых ВЛИ.
Наиболее удобный в работе и одновременно дешевый люминофор тАФ это окись цинка, активированная цинком ZnO:Zn, дающий интенсивное сине-зеленое свечение. Для повышения контраста целесообразно покрывать ВЛИ нейтральными фильтрами.
Светофильтр, близкий к оптимальному для ВЛИ, который сохраняет доминирующую длину волны излучения и увеличивает насыщенность цвета без существенного снижения яркости, должен удовлетворять следующим требованиям: цветность 0.2<x<0.35; 0.57<y<0.75; максимальный коэффициент пропускания в диапазоне длин волн 0.526тАФ 0.542 мкм, 30тАФ35% при L=250тАФ 500 кд/м2.
Каковы возможности создания ВЛИ с иным, кроме сине-зеленого, цветом свечения?
Во-первых, с помощью светофильтров можно получить цвет от синего до красного при использовании ZnO:Zn. Яркость этих цветов оказывается достаточной, если яркость исходного свечения составляет приблизительно 1000 кд/дм2. Во-вторых, использованием люминофоров других цветов свечения (табл. 1). Таким образом, можно создать ВЛИ с различным, но одним цветом свечения. Полицветный индикатор реализуют за счет конструктивных изменений и специфических способов управления.
Таблица 1.
Характеристики цветных люминофоров для ВЛИ.|
Цвет свечения |
Состав люминофора |
Длина волны соответствующая максимуму спектральной характеристики, мкм |
Цветовые координаты X Y |
|
Синий |
ZnS : Ag+In2O3 |
0.4500 |
0.16 |
0.12 |
Сине-зеленый |
ZnO : Zn |
0.5100 |
0.25 |
0.44 |
Зеленый |
(Zn, Cd)S : Ag |
0.5250 |
0.28 |
0.59 |
ZnS : Cu |
0.5300 |
0.33 |
0.60 |
|
Лимонный |
ZnS : Au, Al+In2O3 |
0.5500 |
0.39 |
0.56 |
Желтый |
ZnS : Mn+ In2O3 |
0.5850 |
0.52 |
0.47 |
Красный |
(Zn, Cd)S : Ag+ In2O3 |
0.6260 |
0.67 |
0.33 |
Например, двухцветный индикатор можно получить, если удвоить число Сегментов и покрыть их люминофорами выбранных цветов (рис. 5, а ). Правда, при этом увеличивается число выводов, а символ при изменении цвета смещается. Управление осуществляется по анодной цепи.
Полицветный индикатор с сеточным управлением несколько отличается расположением светоизлучающих элементов (рис. 5, б ). Однако конструкция его сложнее, поскольку кроме общей сетки в прибор еще вводятся сетки, соответствующие светоизлучающим элементам каждого из цветов. Изменением потенциалов сеток можно менять цвет свечения. Очевидно, что упомянутыми способами реально создать трехцветные индикаторы, особенно если одновременно необходимо обеспечить высокую разрешающую способность. Наконец, ка уже отмечалось, цвет свечения ряда люминофоров зависит от анодного напряжения, что позволяет создать полицветные ВЛИ простой конструкции с электрическим переключением цветов.
Завершая рассмотрение люминофоров разных цветов, отмечаем, что ZnO:Zn и сейчас остается единственным люминофором, обеспечивающим высокую яркость по сравнению с другими. Однако необходимости добиваться непременного равенства яркости свечения люминофоров разных цветов нет. Это объясняется особенностью зрения, заключающиеся в том, что глаз воспринимает как равнояркие излучения синего LВ, красного LR, и зеленого LG люминофоров при соотношении яркостей: LB:LR:LG=0.54:0.65:1.0.
Что касается выбора режимов работы ВЛИ, то они определяются в основном требованием к яркости свечения индикатора и допустимыми значениями токов, напряжений, длительности импульсов, подаваемых на анод и сетку.
Возможность дальнейшего повышения разрешаюшей способности матричных и аналоговых ВЛИ определяется главным образом технологией нанесения светоизлучающих элементов на стеклянную или керамическую плату. Некоторые прогнозируют достижение разрешающей способности до 25 эл/см на матрице размером около 250*250 мм.
Кроме повышения разрешающей способности разработчики ВЛИ стремятся решить еще несколько задач.
В настоящее время выпускается значительное количество типов ВЛИ: одноразрядные, многоразрядные, сегментные в цилиндрических и плоских баллонах, матричные, аналоговые и др.
Большинство индикаторов выпускается вместе с хорошо организованной схемой управления и питания. Например еще в 1979 г. была выпущена серия из 17 типов полностью укомплектованных алфавитно-цифровых модулей: 9 типов однострочных с матрицей 5*7 и 10, 16, 20, 32, 40 знакоместами, 6 типов однострочных, 14 сегментных индикаторов с 10, 20, 32 знакоместами и 2 типа модулей с 2 и 6 строками по 40 знакомест формата 5*7.
Потребляемая мощность у 10-разрядного ВЛИ 1.33 Вт, у 40-разрядного 2.66 Вт, высота знаков тАФ от 5 до 15 мм, среднее время наработки на отказ 10В·104 ч, ударная прочность 100 g, цвет свечения тАФ сине-зеленый, изменяющийся до синего, зеленого или желтого с помощью ацетатных или акриловых фильтров. На основе матричных ВЛИ также разработаны и выпускаются модули.
Развитием этих устройств является ряд универсальных модулей с индикаторами различных размеров, наибольшие из которых имеют 256*256 элементов, что обеспечивает индикацию на площади 167.5*167.5 мм2. Способ управления такими индикаторами хотя и предполагает увеличение числа выводов, управляющих напряжений, он одновременно позволяет повысить яркость до 700 кд/м2 и светоотдачу люминофора до 5.2 лм/Вт. Наконец существует матричный ВЛИ, на котором удалось получить телевизионное изображение удовлетворительного качества.
Для управления индикатором использовалась матрица из полевых МДП-транзисторов. В этом же устройстве, повидимому, впервые для ВЛИ был реализован режим с внутренней памятью. Использовалась хорошо известная схема, содержащая для каждого светоизлучающего элемента два транзистора и конденсатор. Такая схема позволяет сохранить на низком уровне как площадь элемента изображения, так и потребляемую управляющей схемой мощность. Была достигнута яркость до 17000 кд/м2 при Ua=30 В. Получение таких огромных яркостей открывает возможность создания малого проекционного индикатора, работающего при низких напряжениях.
Отечественная промышленность выпускает более 50 типов ВЛИ: одно- и многоразрядные сегментные, аналоговые, аналого-цифровые, матричные, зеленого цвета свечения и полицветные. Дальнейшее совершенствование ВЛИ должно идти по пути создания полицветных ВЛИ разных типов, мнемонических и, главное, матричных индикаторов с большим числом светоизлучающих элементов (или знакомест). Особо выделены разработки, направленные на создание ВЛИ, совмещенных со схемой управления, которые, как предполагается, будут преобладать в следующем поколении таких индикаторов.
4. Литература.1. Ю. А. Быстров, И. И. Литвак, Г. М. Персианов тАЬЭлектронные приборы для отображения информациитАЭ. Москва тАЬРадио и связьтАЭ, 1985 г.
2. Ф. М. Яблонский Ю. В. Троицкий тАЬСредства отображения информациитАЭ. Москва тАЬВысшая школатАЭ 1985 г.
Вместе с этим смотрят:
ВидеоусилительВиды модуляций радиосигнала
Влияние гистерезиса и вихревых токов на ток катушки с ферромагнитным сердечником
Волоконно-оптические датчики