Термоэмиссионные преобразователи энергии
Термоэмиссионные преобразователи энергии.
1. Основные сведения о термоэмиссионных преобразователях.
Различные типы ТЭП разрабатываются для питания систем и оборудования КЛА, в особенности КЛА с ядерными АЭУ. При электрической мощности АЭУ порядка 0,1 - 1 кВт целесообразно применение РИТЭП и СТЭП. При мощностях более 1 кВт предпочтительны ЯРТЭП, которые наиболее перспективны для космических АЭУ длительного действия. Достоинства ТЭП - большой ресурс, относительно высокий КПД и хорошие удельные энергетические, а также массогабаритные показатели. В настоящее время выполняют ЯРТЭП по интегральной схеме совместно с ТВЭЛ ядерного реактора, при этом ТЭП-ТВЭЛ образуют конструкцию реактора-генератора. Возможно и раздельное исполнение реактора т ТЭП, в котором ТЭП вынесены из активной зоны реактора.
Недостатки ТЭП состоят в нестабильности характеристик и изменении межэлектродных размеров вследствие ползучести (свеллинга), а также в технологических затруднениях при выполнении малых зазоров между электродами, необходимости компенсации объемного заряда электронов в межэлектродном зазоре.
Совмещенные с ТВЭЛ цилиндрические элементарные ТЭП последовательно соединяются в гирлянду, образующую электрогенерирующий канал (ЭГК), размещаемый в активной зоне ректора. Уменьшение объема активной хоны ядерного реактора и массы радиационной защиты достигается при вынесении ЭГК из реактора. При раздельном исполнении ТВЭЛ и ТЭП энергия к ТЭП от ТВЭЛ может подводиться тепловыми трубами. Последние представляют собой устройства для передачи тепла от нагревателя к потребителю (или холодильнику) посредством использования для поглощения и выделения тепла фазовых (газожидкостных) переходов рабочего тела. перемещение рабочего тела осуществляется капиллярными силами (при наличии "фитиля" или пористого элемента конструкции тепловой трубы), центробежными и электромагнитными силами в зависимости от конкретного устройства тепловой трубы.
Для получения необходимых параметров АЭУ (мощности и напряжения) ЭГК соединяют по последовательно-паралелльным схемам. Различают вакуумные и газонаполненные ТЭП, причем газонаполненные ТЭП с парами цезия имеют лучшие показатели. Их характеризуют удельная масса ЭГК G* = 3 10 кг/кВт, поверхностная плотность мощности Р* = 100 200 кВт/м2 (на единицу площади, эмитирующей электроны), плотность тока
эмиттера J = 5 8 A/cм2 , КПД преобразования тепла в электроэнергию = 0,15 0,25, рабочий ресурс - более 104 ч (до 5 лет). Вакуумные ТЭП в настоящее время применяются сравнительно мало вследствие сложности технологии изготовления межэлектродных зазоров порядка 10-2 мм, при которых возможны удовлетворительные эксплуатационные показатели преобразователей.
2. Физические основы работы термоэмиссионных преобразователей.
Работа основана на явлении термоэлектронной эмиссии (эффекте Эдисона) - испускании электронов нагретым металлическим катодом (эмиттером). Физическими аналогами вакуумных и газонаполненных ТЭП могут служить электронные лампы - вакуумные диоды и газотроны. В отдельных случаях вследствие упрощения эксплуатации целесообразно использовать вакуумные ТЭП, но лучшие характеристики имеют, как указывалось, ТЭП, наполненные парами легкоионизирующегося металла - цезия (Сs). Различают межэлектродные газовые промежутки ТЭП с частичной и полной ионизацией. Последние принадлежат к плазменным ТЭП, которые можно относить к контактным преобразователям.
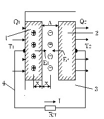
Процесс преобразования энергии в ТЭП рассмотрим вначале на примере анализа плоской вакуумной модели элементарного генератора (рис. 1.) Промежуток между металлическими электродами - катодом (эмиттером) 1 и анодом (коллектором) 2, заключенными в вакуумный сосуд 3, откачан до давления 0,133 мПа (примерно 10-6 мм рт. ст.). Электроды и их выводы 4 изолированы от стенок сосуда. К эмиттеру подводится тепловая энергия Q1, и он нагревается до температуры Т1 2000К. Коллектор поддерживается при температуре Т2 < Т1 вследствие отвода от него тепловой энергии Q2. Распределение электронов по энергиям в металле электрода зависит от его химической природы и определяется среднестатистическим уровнем Ферми. Это тот (наименьший) уровень, на котором располагались бы все электроны при температуре Т=0. Если Т>0, то вероятность наличия у электрона энергии уровня Ферми всегда равна 0,5. Вплоть до точки плавления металла уровень Ферми мало зависит от Т.

Рис. 1. РасВнчетВнная элекВнтроВнстаВнтиВнчеВнская моВндель ТЭП
2. Батареи термоэммисионых элементов
Вертикальные гирляндные ЭГК образуют батарею ТЭП - электрогенерирующий блок (ЭГБ) реактора. Например, в серийных генераторах "Топас" (СССР) содержится по 79 ТЭП с суммарной электрической мощностью ЭГБ до 10 кВт. Верхяя чсть ЭГК патрубком соединена с термостатом с жидким цезием при Т 600 К, испаряющимся вследствие низкого давления внутри ТЭП. Для поступления паров Сs отдельные ТЭВ в ЭГК сообщены каналами. Цезий имеет наиболее низкий поценциал ионизации Ц =3,9 В, причем Ц < K . При соударении с горячей поверхностью катода атомы Сs отдают катоду электрон. Положительные ионы Сs+ нейтролизуют объемный заряд электронов в зазоре . в диапазне давления паров Cs до 100 Па при температуре Т1 < 1800 К достигается бесстолкновительный (квазивакуумный) режим ТЭП. Изменение (х) в для этого режима близко к линейному закону. При 0,1 мм эффективность ТЭП повышается, если совместно вводятся пары цезия и бария. Адсорбируясь преимущественно на аноде с Т2 < Т1 , они снижают его работу выхода.
Вместе с этим смотрят:
Технологические измерения и приборыТехнология получения монокристаллического Si
Тиристоры и некоторые другие ключевые приборы
Травление п.п. ИМС