Усилитель модулятора системы записи компакт-дисков
Министерство образования
Российской Федерации
ТОМСКИЙ УНИВЕРСИТЕТ СИСТЕМУПРАВЛЕНИЯ И РАДИОЭЛЕКТРОНИКИ
(ТУСУР)
Кафедра радиоэлектроники и защиты информации (РЗИ)Усилитель модулятора системы записи
компакт-дисков.
Пояснительная записка к курсовому проекту
по дисциплине:
ВлСхемотехника аналоговых электронных устройствВ»
Выполнил
студент гр.149-3
________ Радишевский Е.В.
Проверил
преподаватель каф. РЗИ
________ Титов А.А.
2002
РЕФЕРАТ Курсовая работа 36с., 12 рис., 1 табл., 10 источников, 1 приложение.УСИЛИТЕЛЬНЫЙ КАСКАД, ТРАНЗИСТОР, КОЭФФИЦИЕНТ ПЕРЕДАЧИ, ЧАСТОТНЫЕ ИСКАЖЕНИЯ, ДИАПАЗОН ЧАСТОТ, НАПРЯЖЕНИЕ, МОЩНОСТЬ, ТЕРМОСТАБИЛИЗАЦИЯ, КОРРЕКТИРУЮЩАЯ ЦЕПЬ, ОДНОНАПРАВЛЕННАЯ МОДЕЛЬ.
Объектом исследования в данной курсовой работе являются методы расчета усилительных каскадов на основе транзисторов.
Цель работы - приобрести практические навыки в расчете усилительных каскадов на примере решения конкретной задачи.
В процессе работы производился расчет различных элементов широкополосного усилителя.
Пояснительная записка выполнена в текстовом редакторе Microsoft Word ХР.
Содержание
1.ВведениетАжтАжтАжтАжтАжтАжтАжтАжтАжтАжтАжтАжтАжтАжтАжтАжтАжтАжтАжтАжтАжтАж.4
2.Техническое заданиетАжтАжтАжтАжтАжтАжтАжтАжтАжтАжтАжтАжтАжтАжтАжтАжтАж.7
3.Расчётная частьтАжтАжтАжтАжтАжтАжтАжтАжтАжтАжтАжтАжтАжтАжтАжтАжтАжтАжтАж..8
3.1 Структурная схема усилителятАжтАжтАжтАжтАжтАжтАжтАжтАжтАжтАжтАж8
3.2 Распределение линейных искажений в области ВЧтАжтАжтАж.8
3.3 Расчёт выходного каскада тАжтАжтАжтАжтАжтАжтАжтАжтАжтАжтАжтАжтАж.8
3.3.1 Выбор рабочей точкитАжтАжтАжтАжтАжтАжтАжтАжтАжтАжтАж..8
3.3.2 Выбор транзисторатАжтАжтАжтАжтАжтАжтАжтАжтАжтАжтАжтАж.12
3.3.3 Расчёт эквивалентной схемы транзисторатАжтАжтАж13
3.3.4 Расчёт полосы пропусканиятАжтАжтАжтАжтАжтАжтАжтАжтАж16
3.3.5 Расчёт цепей термостабилизациитАжтАжтАжтАжтАжтАж..17
3.4 Расчёт промежуточного каскада
по постоянному току.тАжтАжтАжтАжтАжтАжтАжтАжтАжтАжтАжтАжтАжтАжтАж.23
3.4.1 Выбор рабочей точкитАжтАжтАжтАжтАжтАжтАжтАжтАжтАжтАж..23
3.4.2 Выбор транзисторатАжтАжтАжтАжтАжтАжтАжтАжтАжтАжтАжтАж..23
3.4.3 Расчет промежуточного каскадатАжтАжтАжтАжтАжтАжтАж.24
3.4.4 Расчет полосы пропусканиятАжтАжтАжтАжтАжтАжтАжтАжтАж25
3.4.5 Расчёт цепей термостабилизации.тАжтАжтАжтАжтАжтАж.26
3.5 Расчёт входного каскада
по постоянному току.тАжтАжтАжтАжтАжтАжтАжтАжтАжтАжтАжтАжтАжтАжтАж.26
3.5.1 Выбор рабочей точкитАжтАжтАжтАжтАжтАжтАжтАжтАжтАжтАж..26
3.5.2 Выбор транзисторатАжтАжтАжтАжтАжтАжтАжтАжтАжтАжтАжтАж..26
3.5.3 Расчет входного каскадатАжтАжтАжтАжтАжтАжтАжтАжтАжтАж.27
3.5.4 Расчет полосы пропусканиятАжтАжтАжтАжтАжтАжтАжтАжтАж27
3.5.5 Расчёт цепей термостабилизации.тАжтАжтАжтАжтАжтАж.29
3.6 Расчёт разделительных и блокировочных ёмкостейтАжтАжтАжтАжтАжтАжтАжтАжтАжтАжтАжтАжтАжтАжтАжтАжтАжтАжтАжтАжтАж30
4 ЗаключениетАжтАжтАжтАжтАжтАжтАжтАжтАжтАжтАжтАжтАжтАжтАжтАжтАж.тАжтАжтАжтАж.32
Список использованных источниковтАжтАжтАжтАжтАжтАжтАжтАжтАжтАжтАж..33
Приложение АтАжтАжтАжтАжтАжтАжтАжтАжтАжтАжтАжтАжтАжтАжтАжтАжтАжтАжтАжтАжтАж33
Схема принципиальнаятАжтАжтАжтАжтАжтАжтАжтАжтАжтАжтАжтАжтАжтАжтАжтАжтАж.34
РТФ КП.468740.001 ПЗ. Перечень элементовтАжтАжтАжтАжтАжтАжтАж 35,36
1.Введение
Целью данной работы являлось проектирование усилителя модулятора системы записи компакт дисков [1] (усилителя модулятора лазерного излучения [2]). Данный усилитель является важным компонентом дефлектора или другими словами устройства предназначенного для управления светового пучка, в данном случае лазерного излучения [3],[4]. Работа дефлектора целесообразна при условии возникновения угла Брэга и основана на явлении дифракции света на звуке. Через звукопровод изготовленный из кристалла парателлурита, в котором при помощи пьезо преобразователя возбуждается звуковая волна образующая внутри данного кристалла бегущую дифракционную решетку. Проходящий луч дифрагирует на этой решетке, то есть отклоняется от первоначального направления на угол пропорционально частоте звука. При этом его интенсивность оказывается пропорциональна мощности звуковых колебаний. Пьезо элемент играет роль переходника, между кристаллом и усилителем мощности в работе дефлектора и представляет собой пьезоэлектрик преобразующий колебания электрического сигнала в колебания звукового сигнала. Данный преобразователь характеризуется импедансом или другими словами комплексным сопротивлением (который в нашем случае составляет
). К входу данного преобразователя подключается разработанный усилитель. Дефлектор используется для сканирования лазерного пучка в одной плоскости, но при параллельном включении двух дефлекторов, возможно управление световым пучком и в двух мерном пространстве. В результате высокой монохроматичности, лазерное излучение имеет низкий уровень расходимости, что позволяет добиться хорошей фокусировки на больших расстояниях. Данное явление за счет своей зрелищности находит широкое применение при проведении тожеств, приемах, в рекламных компаниях и в предвыборных гонках. Имея так же большую точность, то есть возможность добиться при использовании дефлектора очень незначительных отклонений светового пучка от заданной точки, данный прибор может применяться в микрохирургии и изготовлении сверхсложных печатей, штампов, документов и ценных бумаг.
На примере можем рассмотреть принцип работы дисковода CD-ROM и осуществление записи на компакт-диск [5].
Обычный процесс изготовления компакт-диска состоит из нескольких этапов. Как правило, они включают в себя следующие операции: подготовку информации для записи на мастер-диск (первый образец), изготовление самого мастер-диска и матриц (негатив мастер-диска), тиражирование компакт-дисков. Закодированная информация наносится на мастер-диск лазерным лучом, который создает на его поверхности микроскопические впадины, разделяемые плоскими участками. Цифровая информация представляется здесь чередованием впадин (неотражающих пятен) и отражающих свет островков. Копии негатива мастер-диска (матрицы) используются для прессования самих компакт-дисков. Отметим, что сформированные лазерным лучом впадины очень малы по размеру. Примерно 30-40 впадин соответствуют толщине человеческого волоса, а это примерно 50 мкм.
В приводе компакт-дисков можно выделить несколько базовых элементов: лазерный диод, сервомотор, оптическую систему (включающую в себя расщепляющую призму) и фотодетектор.
Итак, считывание информации с компакт-диска, так же как и запись, происходит при помощи лазерного луча, но, разумеется, меньшей мощности. Сервомотор по команде от внутреннего микропроцессора привода перемещает отражающее зеркало. Это позволяет точно позиционировать лазерный луч на конкретную дорожку. Такой луч, попадая на отражающий свет островок, через расщепляющую линзу отклоняется на фотодетектор, который интерпретирует это как двоичную единицу. Луч лазера, попадающий во впадину, рассеивается и поглощается - фотодетектор фиксирует двоичный ноль. В качестве отражающей поверхности компакт-дисков обычно используется алюминий. Разумеется, вся поверхность компакт-диска покрыта прозрачным защитным слоем.
В отличие, например, от винчестеров, дорожки которых представляют концентрические окружности, компакт-диск имеет всего одну физическую дорожку в форме непрерывной спирали, идущей от наружного диаметра диска к внутреннему. Тем не менее, одна физическая дорожка может быть разбита на несколько логических.
В то время как все магнитные диски вращаются с постоянным числом оборотов в минуту, то есть с неизменной угловой скоростью (CAV, Constant Angular Velocity), компакт-диск вращается обычно с переменной угловой скоростью, чтобы обеспечить постоянную линейную скорость при чтении (CLV, Constant Linear Velocity). Таким образом, чтение внутренних сторов осуществляется с увеличенным, а наружных - с уменьшенным числом оборотов.Именно этим обуславливается достаточно низкая скорость доступа к данным для компакт-дисков по сравнению, например, с винчестерами.
Теперь перейдем непосредственно к принципиальной схеме.
Из-за большой нагрузочной емкости происходит заметный спад амплитудно-частотной характеристики в области высоких частот. В результате чего появляется основная проблема при проектировании данного усилителя заключающаяся в том, чтобы обеспечить требуемый коэффициент усиления в заданной полосе частот.
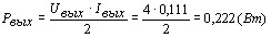
Наибольшей широкополосностью, при работе на ёмкостную нагрузку, обладает усилительный каскад с параллельной отрицательной обратной связью по напряжению [6]. Он и был выбран в качестве выходного каскада разработанного широкополосного усилителя мощности. Так же по сравнению с обыкновенным резистивным каскадом выбранный вариант более экономичный. Для компенсации завала АЧХ в области верхних частот при применении резистивного каскада пришлось бы ставить в цепи коллектора очень малое сопротивление порядка 6 Ом, для уменьшения общего выходного сопротивления каскада, что естественно привело бы к увеличению тока в цепи коллектора и рассеиваемой мощности, а соответственно и к выбору более дорогого по всем параметрам транзистора. Для выходного, каскада была использована эмиттерная термостабилизация [7]. В результате предложенного решения на первом каскаде, добились усиления в 6 дБ с искажениями составляющие 1дБ. В качестве промежуточного и входного использованы каскады с комбинированной обратной связью [6], обладающие активным и постоянным в полосе пропускания выходным сопротивлением. Эти каскады реализованы на транзисторах 2T996А. Для обеспечения требуемой температурной стабилизации вполне подошла эмиттерная стабилизация. В результате на втором каскаде, добились усиления 18 дБ, и на третьем также 18 дБ.
Для уменьшения потребляемой мощности и увеличения КПД с 1,4 до 28 процентов, в цепи коллектора сопротивление заменяем дросселем сопротивление которого в рабочем диапазоне частот много больше, чем общее сопротивление нагрузки.
В результате предложенного решения общий коэффициент усиления составил 42 дБ.
2. Техническое задание
Усилитель должен отвечать следующим требованиям:
- Рабочая полоса частот: 1-100 МГц.
- Линейные искажения
в области нижних частот не более 3 дБ,
в области верхних частот не более 3 дБ.
- Коэффициент усиления 30 дБ.
- Амплитуда выходного напряжения Uвых=4 В.
- Диапазон рабочих температур: от +10 до +60 С0.
- Сопротивление источника сигнала Rг=50 Ом.
- Сопротивления нагрузки Rн=1000 Ом.
- Емкость нагрузки Сн=40 пФ.
3. Расчётная часть
3.1 Структурная схема усилителя.
Для обеспечения заданного коэффициента усиления равного 30 дБ при коэффициенте усиления транзистора около 10дБ, примем число каскадов усилителя равное 3.
Структурная схема, представленная на рисунке 3.1, содержит кроме усилительных каскадов цепи отрицательной обратной связи, источник сигнала и нагрузку.
3.2 Распределение линейных искажений в области ВЧ
Расчёт усилителя будем проводить исходя из того, что искажения [7] распределены между каскадами равномерно, а так как всего три каскада и общая неравномерность должна быть не больше 3 дБ, то на каждый каскад приходится по 1 дБ.
3.3.1 Выбор рабочей точки
Как отмечалось выше в качестве выходного каскада будем использовать каскад с параллельной отрицательной обратной связью по напряжению обладающий наибольшей широкополосностью, при работе на ёмкостную нагрузку.
Рассчитаем рабочую точку двумя способами:
1.При использовании дросселя в цепи коллектора.
2.При использовании активного сопротивления Rк в цепи коллектора.
1.Расчет рабочей точки при использовании при использовании дросселя в цепи коллектора.
Сопротивление обратной связи Rос находим исходя из запланированного на выходной каскад коэффициента усиления, сопротивления генератора или другими словами выходного сопротивления предыдущего каскада и рассчитываем по следующей формуле [6]:
,
. (3.3.1)
Координаты рабочей точки можно приближённо рассчитать по следующим формулам [7]:
, (3.3.2)
где ![]()
, (3.3.3)
, (3.3.4)
, (3.3.5)
где
тАУ начальное напряжение нелинейного участка выходных
характеристик транзистора,
.
, (3.3.6)
, (3.3.7)
. (3.3.8)
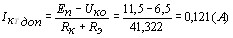
Рассчитывая по формулам 3.3.2 и 3.3.5, получаем следующие координаты рабочей точки:
,
,
,
,
.
Найдём потребляемую мощность и мощность рассеиваемую на коллекторе
,
,
,
, тогда ![]()
Выбранное сопротивление Rос обеспечивает заданный диапазон частот.
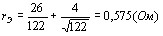
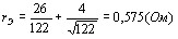
Произведём построение нагрузочных прямых для дроссельного каскада: Еп = 6,5(В), Uкэ0 = 6,5(В), Iк0 = 0,121(А),
, где
,
, ΔUк найдём по формуле:
, а
.
2. Расчет рабочей точки при использовании активного сопротивления Rk в цепи коллектора.
Выберем Rк=Rн =1000 (Ом).
Координаты рабочей точки можно приближённо рассчитать по следующим формулам [7]:
, (3.3.9)
, (3.3.10)
. (3.3.11)
Рассчитывая по формулам 3.3.9 и 3.3.10, получаем следующие значения:
,
,
,
,
,
, где
.
Найдём потребляемую мощность и мощность рассеиваемую на коллекторе по формулам (3.3.7) и (3.3.8) соответственно:
,
,
, где
,
.
Результаты выбора рабочей точки двумя способами приведены в таблице 3.1.
Таблица 3.1.
Eп, (В) |
Iко, (А) |
Uко, (В) |
Pрасс.,(Вт) |
Pпотр.,(Вт) |
|
С Rк |
129,043 |
0,123 |
6,5 |
0,797 |
15,813 |
С Lк |
6,5 |
0,121 |
6,5 |
0,785 |
0,785 |
Из таблицы 3.1 видно, что для данного курсового задания целесообразно использовать дроссель в цепи коллектора.
Произведём построение нагрузочных прямых для резистивного каскада: Еп = 129,043(В), Uкэ0 = 6,5(В), Iк0 = 0,123(А),
, где
,
, ΔUк найдём по формуле:
, а
.
3.3.2 Выбор транзистора
Выбор транзистора осуществляется с учётом следующих предельных параметров:
- Граничной частоты усиления транзистора по току в схеме с ОЭ
;
- Предельно допустимого напряжения коллектор-эмиттер
;
- Предельно допустимого тока коллектора
;
- Предельной мощности, рассеиваемой на коллекторе
.
Этим требованиям полностью соответствует транзистор КТ 610 А . Его основные технические характеристики приведены ниже.
Электрические параметры:
- Граничная частота коэффициента передачи тока в схеме с ОЭ
МГц; - Постоянная времени цепи обратной связи
пс; - Статический коэффициент передачи тока в схеме с ОЭ
; - Ёмкость коллекторного перехода при
В
пФ; - Индуктивность вывода базы
нГн; - Индуктивность вывода эмиттера
нГн.
Предельные эксплуатационные данные:
- Постоянное напряжение коллектор-эмиттер
В; - Постоянный ток коллектора
мА; - Постоянная рассеиваемая мощность коллектора
Вт; - Температура перехода
К.
3.3.3 Расчёт эквивалентной схемы транзистора
3.3.3.1 Схема Джиаколетто
Многочисленные исследования показывают, что даже на умеренно высоких частотах транзистор не является безынерционным прибором. Свойства транзистора при малом сигнале в широком диапазоне частот удобно анализировать при помощи физических эквивалентных схем. Наиболее полные из них строятся на базе длинных линий и включают в себя ряд элементов с сосредоточенными параметрами. Наиболее распространенная эквивалентная схема- схема Джиаколетто, которая представлена на рисунке 3.6. Подробное описание схемы можно найти [8].
Достоинство этой схемы заключается в следующем: схема Джиаколетто с достаточной для практических расчетов точностью отражает реальные свойства транзисторов на частотах f ≤ 0.5fт ; при последовательном применении этой схемы и найденных с ее помощью Y- параметров транзистора достигается наибольшее единство теории ламповых и транзисторных усилителей.
Расчитаем элементы схемы, воспользовавшись справочными данными и приведенными ниже формулами [6].
Справочные данные для транзистора КТ610А:
Ск=4тИЩ10-12(Ф) при Uкэ=10(В) , ПДс=20тИЩ10-12(с) при Uкэ=10(В) , fт=1тИЩ109(Гц),
Iкmax=0,3тИЩ(А), Uкэmax=26(В), где Cк- емкость коллекторного перехода, τс- постоянная времени обратной связи, Н21э=βо- статический коэффициент передачи тока в схеме с ОЭ.
Найдем значение емкости коллектора при Uкэ=10В по формуле :
(3.3.12)
где U′кэо тАУ справочное или паспортное значение напряжения;
Uкэо тАУ требуемое значение напряжения.![]()
.
Сопротивление базы рассчитаем по формуле:
,
. (3.3.13)
Используя формулу (3.3.12), найдем значение коллекторной емкости в рабочей точке :
![]()
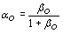
Статический коэффициент передачи тока в схеме с ОБ найдем по формуле:
, (3.3.14)
Найдем ток эмиттера по формуле:
, (3.3.15)
.
Найдем сопротивление эмиттера по формуле:
(3.3.16)
где Iэо тАУ ток в рабочей точке, занесенный в формулу в мА.
.
Проводимость база-эмиттер расчитаем по формуле:
, (3.3.17)
.
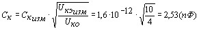
Определим диффузионную емкость по формуле:
, (3.3.18)
.
Крутизну транзистора определим по формуле:
, (3.3.19)
.
3.3.3.2 Однонаправленная модель
Поскольку рабочие частоты усилителя заметно больше частоты
, то из эквивалентной схемы можно исключить входную ёмкость, так как она не влияет на характер входного сопротивления транзистора. Индуктивность же выводов транзистора напротив оказывает существенное влияние и потому должна быть включена в модель. Эквивалентная высокочастотная модель представлена на рисунке 3.7. Описание такой модели можно найти в [6].

Параметры эквивалентной схемы рассчитываются по приведённым ниже формулам [6].
Входная индуктивность:
, (3.3.20)
где
тАУиндуктивности выводов базы и эмиттера.
Входное сопротивление:
, (3.3.21)
где
, причём
, где
и
тАУ справочные данные.
Крутизна транзистора:
, (3.3.22)
где
,
,
.
Выходное сопротивление:
. (3.3.23)
Выходная ёмкость:
. (3.3.24)
В соответствие с этими формулами получаем следующие значения элементов эквивалентной схемы:
,
,
,
,
,
,
.
3.3.4 Расчет полосы пропускания.
Проверим обеспечит ли выбранное сопротивлении обратной связи Rос, расчитанное в пункте 3.3.1, на нужной полосе частот требуемый коэффициент усиления, для этого воспользуемся следующими формулами[6]:
![]()
(3.3.25)
(3.3.26)
Найдем значение емкости коллектора при Uкэ=10В по формуле (3.3.12):
.
Найдем сопротивление базы по формуле (3.3.13):
.
Статический коэффициент передачи тока в схеме с ОБ найдем по формуле (3.3.14):
.
Найдем ток эмиттера по формуле (3.3.15):
.
Найдем сопротивление эмиттера по формуле (3.3.16):
.
Определим диффузионную емкость по формуле (3.3.18):
,
, (3.3.27)
, (3.3.28)
где Yн тАУ искажения,
дБ,
(3.3.29)
![]()
![]()

![]()
![]()
.
Выбранное сопротивление Rос обеспечивает заданный диапазон частот.
3.3.5 Расчёт цепей термостабилизации
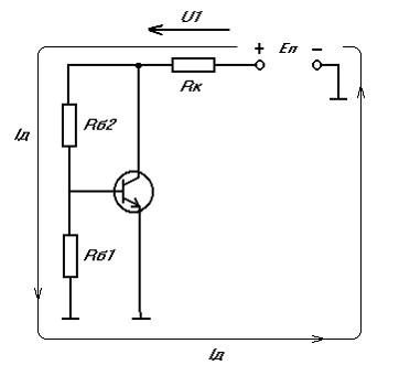
Существует несколько вариантов схем термостабилизации. Их использование зависит от мощности каскада и от того, насколько жёсткие требования к термостабильности. В данной работе рассмотрены три схемы термостабилизации: пассивная коллекторная, активная коллекторная и эмиттерная [7].
3.3.5.1 Пассивная коллекторная термостабилизация.
Данный вид термостабилизации (схема представлена на рисунке 3.8) используется на малых мощностях и менее эффективен, чем две другие, потому что напряжение отрицательной обратной связи, регулирующее ток через транзистор подаётся на базу через базовый делитель.

Расчёт, подробно описанный в [8], заключается в следующем: выбираем напряжение
(в данном случае 6,5В) и ток делителя
(в данном случае
, где
тАУ ток базы), затем находим элементы схемы по формулам:
; (3.3.30)
, (3.3.31)
где
тАУ напряжение на переходе база-эмиттер равное 0.7 В;
. (3.3.32)
Получим следующие значения:
,
,
.
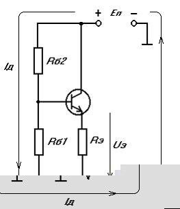
3.3.5.2 Активная коллекторная термостабилизация.
Активная коллекторная термостабилизация используется в мощных каскадах и является очень эффективной, её схема представлена на рисунке 3.9. Её описание и расчёт можно найти в [6].

В качестве VT1 возьмём КТ361А. Выбираем падение напряжения на резисторе
из условия
(пусть
), затем производим следующий расчёт:
; (3.3.33)
; (3.3.34)
; (3.3.35)
; (3.3.36)
, (3.3.37)
где
тАУ статический коэффициент передачи тока в схеме с ОБ транзистора КТ361А;
; (3.3.38)
; (3.3.39)
. (3.3.40)
Получаем следующие значения:
,
,
,
,
,
,
,
.
Величина индуктивности дросселя выбирается таким образом, чтобы переменная составляющая тока не заземлялась через источник питания, а величина блокировочной ёмкости тАУ таким образом, чтобы коллектор транзистора VT1 по переменному току был заземлён.
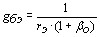
3.3.5.3 Эмиттерная термостабилизация.
Для выходного каскада выбрана эмиттерная термостабилизация, схема которой приведена на рисунке 3.10. Метод расчёта и анализа эмиттерной термостабилизации подробно описан в [8].

Расчёт производится по следующей схеме:
1.Выбираются напряжение эмиттера
и ток делителя
(см. рис. 3.4), а также напряжение питания
;
2. Затем рассчитываются
.
3. Производится поверка тАУ будет ли схема термостабильна при выбранных значениях
и
. Если нет, то вновь осуществляется подбор
и
.
В данной работе схема является термостабильной при
и
. Учитывая то, что в коллекторной цепи отсутствует резистор, то напряжение питания рассчитывается по формуле
. Расчёт величин резисторов производится по следующим формулам:
; (3.3.41)
; (3.3.42)
. (3.3.43)
Для того, чтобы выяснить будет ли схема термостабильной производится расчёт приведённых ниже величин.
Тепловое сопротивление переход тАУ окружающая среда:
, (3.3.44)
где
,
тАУ справочные данные;
тАУ нормальная температура.
Температура перехода:
, (3.3.45)
где
тАУ температура окружающей среды (в данном случае взята максимальная рабочая температура усилителя);
тАУ мощность, рассеиваемая на коллекторе.
Неуправляемый ток коллекторного перехода:
, (3.3.46)
где
тАУотклонение температуры транзистора от нормальной;
лежит в пределах
;
тАУ коэффициент, равный 0.063Г·0.091 для германия и 0.083Г·0.120 для кремния.
Параметры транзистора с учётом изменения температуры:
, (3.3.47)
где
равно 2.2(мВ/градус Цельсия) для германия и
3(мВ/градус Цельсия) для кремния.
, (3.3.48)
где
(1/ градус Цельсия).
Определим полный постоянный ток коллектора при изменении температуры:
, 3.3.49)
. (3.3.50)
Для того чтобы схема была термостабильна необходимо выполнение условия:
,
где
. (3.3.51)
Рассчитывая по приведённым выше формулам, получим следующие значения:
,
,
,
,
,
,
,
,
,
,
.
.
3.4 Расчёт промежуточного каскада по постоянному току.
3.4.1 Выбор рабочей точки
При расчёте требуемого режима транзистора промежуточного каскада по постоянному току, координаты рабочей точки выберем следующие:
, где примем
, а
. Мощность, рассеиваемая на коллекторе
.
3.4.2 Выбор транзистора
Выбор транзистора осуществляется в соответствии с требованиями, приведенными в пункте 3.3.2. Этим требованиям отвечает транзистор 2Т996А. Его основные технические характеристики приведены ниже.
Электрические параметры:
- Граничная частота коэффициента передачи тока в схеме с ОЭ
ГГц; - Постоянная времени цепи обратной связи
пс; - Статический коэффициент передачи тока в схеме с ОЭ
; - Ёмкость коллекторного перехода при
В
пФ; - Индуктивность вывода базы
нГн; - Индуктивность вывода эмиттера
нГн.
Предельные эксплуатационные данные:
- Постоянное напряжение коллектор-эмиттер
В; - Постоянный ток коллектора
мА; - Постоянная рассеиваемая мощность коллектора
Вт;
- Температура перехода
К.
3.4.3 Расчет промежуточного каскада.
Как уже отмечалось в качестве промежуточного каскада будем использовать каскад с комбинированной отрицательной обратной связью состоящую из
и
.

Достоинством схемы является то, что при условиях
и
,
(3.4.1)
схема оказывается согласованной по входу и выходу с КСВН не более 1,3 в диапазоне частот, где выполняется условие
≥0,7. Поэтому практически отсутствует взаимное влияние каскадов друг на друга при их каскадировании [6].
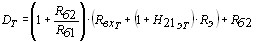
При выполнении условия (3.4.1), коэффициент усиления каскада в области верхних частот описывается выражением:
, (3.4.2)
где
, (3.4.3)
, (3.4.4)
. (3.4.5)
Из (3.4.1), (3.4.3) не трудно получить, что при заданном значении ![]()
. (3.4.6)
При заданном значении
,
каскада равна:
, (3.4.7)
где
.
3.4.4 Расчёт полосы пропускания.
Расчёт производится по формулам, приведённым в пункте 3.3.3.1. Проверим добьемся ли нужной полосы частот при выбранном сопротивлении Rос, для этого воспользуемся следующими формулами [6] (3.4.3), (3.4.4), (3.4.5), (3.4.7).
Используя формулы (3.3.18) и (3.3.19) найдем коэффициент N:
,
, где ![]()
Используя формулы (3.3.12), (3.3.13), (3.3.14), (3.3.15), (3.3.16), (3.3.18), и характеристики транзистора приведенной в пункте 3.4.2, убедимся в том, что выбранное сопротивление обратной связи обеспечит на нужной полосе частот требуемый коэффициент усиления:
,
,
,
,
,
,
,
,
,
.
Выбранное сопротивление Rос обеспечивает на заданном диапазоне частот коэффициент усиления равный 18дБ.
3.4.4 Расчёт цепи термостабилизации
Для промежуточного каскада также выбрана эмиттерная термостабилизация, схема которой приведена на рисунке 3.10.
Метод расчёта схемы идентичен приведённому в пункте 3.3.4.3. Эта схема термостабильна при
и
. Напряжение питания рассчитывается по формуле
.
Рассчитывая по формулам 3.3.28тАУ3.3.38 получим:
,
,
,
Рассеиваемую мощность на
вычислим следующим образом:
, тогда
.
3.5 Расчёт входного каскада по постоянному току.
3.5.1 Выбор рабочей точки
При расчёте требуемого режима транзистора входного каскада по постоянному току, координаты рабочей точки выберем следующие:
, а
. Мощность, рассеиваемая на коллекторе
.
3.5.2 Выбор транзистора
Выбор транзистора осуществляется в соответствии с требованиями, приведенными в пункте 3.3.2. Этим требованиям отвечает транзистор 2Т996А. Его основные технические характеристики приведены ниже.
Электрические параметры:
1.Граничная частота коэффициента передачи тока в схеме с ОЭ
ГГц;
2.Постоянная времени цепи обратной связи
пс;
3.Статический коэффициент передачи тока в схеме с ОЭ
;
4.Ёмкость коллекторного перехода при
В
пФ;
5.Индуктивность вывода базы
нГн;
6.Индуктивность вывода эмиттера
нГн.
Предельные эксплуатационные данные:
1. Постоянное напряжение коллектор-эмиттер
В;
2. Постоянный ток коллектора
мА;
3. Постоянная рассеиваемая мощность коллектора
Вт;
4. Температура перехода
К.
3.5.3 Расчет входного каскада.
Как уже отмечалось в качестве входного каскада будем использовать каскад с комбинированной отрицательной обратной связью состоящую из
и
.

Достоинством схемы является то, что при условиях
и
,
(3.5.1)
схема оказывается согласованной по входу и выходу с КСВН не более 1,3 в диапазоне частот, где выполняется условие
≥0,7. Поэтому практически отсутствует взаимное влияние каскадов друг на друга при их каскадировании [6].
При выполнении условия (3.5.1), коэффициент усиления каскада в области верхних частот описывается выражением:
, (3.5.2)
где
, (3.5.3)
, (3.5.4)
. (3.5.5)
Из (3.4.1), (3.4.3) не трудно получить, что при заданном значении ![]()
. (3.5.6)
При заданном значении
,
каскада равна:
, (3.5.7)
где
.
3.5.4 Расчёт полосы пропускания.
Расчёт производится по формулам, приведённым в пункте 3.3.3.1. Проверим добьемся ли нужной полосы частот при выбранном сопротивлении Rос, для этого воспользуемся следующими формулами [6] (3.5.3), (3.5.4), (3.5.5), (3.5.7).
Используя формулы (3.3.18) и (3.3.19) найдем коэффициент N:
,
, где ![]()
Используя формулы (3.3.12), (3.3.13), (3.3.14), (3.3.15), (3.3.16), (3.3.18), и характеристики транзистора приведенной в пункте 3.4.2, убедимся в том, что выбранное сопротивление обратной связи обеспечит на нужной полосе частот требуемый коэффициент усиления:
,
,
,
,
,
,
,
,
,
.
Выбранное сопротивление Rос обеспечивает на заданном диапазоне частот коэффициент усиления равный 18дБ.
3.5.5 Расчёт цепи термостабилизации
Для входного каскада также выбрана эмиттерная термостабилизация, схема которой приведена на рисунке 3.10.
Метод расчёта схемы идентичен приведённому в пункте 3.3.4.3. Эта схема термостабильна при
и
. Напряжение питания рассчитывается по формуле
.
Рассчитывая по формулам 3.3.28тАУ3.3.38 получим:
,
,
,
Рассеиваемую мощность на
вычислим следующим образом:
, тогда
.
Общий коэффициент усиления составил:
.
![]()
3.6 Расчёт разделительных и блокировочных ёмкостей
Рассчитаем номиналы элементов. Расчёт производится в соответствии с методикой описанной в [7].
Для расчета емкостей обратной связи Сос1, Cос2, и Сос3 воспользуемся следующим соотношением:
, (3.6.1)
,
,
.
Для расчета емкостей Сэ1, Cэ2, Сэ3 воспользуемся следующим соотношением:
, (3.6.2)
,
,
.
Дроссель в коллекторной цепи ставится для того, чтобы выход транзистора по переменному току не был заземлен. Его величина выбирается исходя из условия:
. (3.6.3)
,
,
.
Так как ёмкости, стоящие в эмиттерных цепях, а также разделительные ёмкости вносят искажения в области нижних частот, то их расчёт следует производить, руководствуясь допустимым коэффициентом частотных искажений. В данной работе этот коэффициент составляет 3дБ. Всего ёмкостей четыре, поэтому можно распределить на каждую из них по 0,75дБ.
Величину разделительного конденсатора найдём по формуле:
, (3.6.4)
где
тАУ допустимые частотные искажения.
R1тАУ сопротивление предыдущего каскада.
R2тАУ сопротивление нагрузки.
,
,
,
.
Так же в усилителе имеется Сф, его роль не пропустить переменную составляющую на источник питания. Расчет производится аналогично блокировочным емкостям, разница лишь в том что в формуле (3.6.2) вместо Rэ ставится Rф. Исходя из этого, получим следующие значения:
;
.
4. Заключение
Рассчитанный усилитель имеет следующие технические характеристики:
1. Рабочая полоса частот: 1-100 МГц
2. Линейные искажения
в области нижних частот не более 3 дБ
в области верхних частот не более 3 дБ
3. Коэффициент усиления 42дБ
4. Амплитуда выходного напряжения Uвых=4 В
5. Питание однополярное, Eп=12 В
6. Диапазон рабочих температур: от +10 до +60 градусов Цельсия
Усилитель рассчитан на нагрузку Rн=1000 Ом
Литература
Приложение А
Принципиальная схема представлена на стр. 33.
Перечень элементов приведен на стр. 34,35.
Вместе с этим смотрят:
Усилитель мощностиУсилитель мощности системы поиска нелинейностей
Усилитель мощности широкополосного локатора
Усилитель промежуточной частоты