Кодоимпульсные ТИС
Телеизмерение
Из трех основных телемеханических функций (телеуправление, теле-сигналйзация и телеизмерение) телеизмерение (ТИ) является наиболее сложным, что обусловлено требованием передачи информации с большой точностью. Разнообразие телеизмерений велико. Однако в последние годы наблюдается тенденция в сторону преимущественного применения кодо-импульсных ТИ, что выявляется при анализе современных систем телемеВнханики (см. гл. 15 и 16). Вследствие этого уменьшается использование систем ТИ, основанных на других принципах; так, перестали применять системы интенсивности. В то же время появились новые адаптивные телеВнизмерения.
Основные понятия
Телеизмерение тАФ получение информации о значениях измеряемых параметров контролируемых или управляемых объектов методами и средВнствами телемеханики (ГОСТ 26.005тАФ82). В том же ГОСТе даются опреВнделения таких понятий.
Телеизмерение по вызовутАФтелеизмерение по команде, посылаемой с пункта управления на контролируемый пункт и вызывающей подключение на контролируемом пункте передающих устройств, а на пункте управлениятАФсоответствующих приемных устройств.
Телеизмерение по вызову позволяет использовать одну линию связи (канал телеизмерения) для поочередного наблюдения за многими объекВнтами телеизмерения. Диспетчер с помощью отдельной системы телеупВнравления может подключать к каналу телеизмерения желаемый объект телеизмерения. На пункте управления показания можно наблюдать на общем выходном приборе. Если показания имеют различные шкалы, то измеряемые величины подключаются к разным приборам. При телеизмереВннии по вызову можно применять автоматический опрос объектов телеВнизмерения циклически по заданной программе.
Телеизмерение по выборутАФтелеизмерение путем подклюВнчения к устройствам пункта управления соответствующих приемных приборов при постоянно подключенных передающих устройствах на контролируемых пунктах.
Телеизмерение текущих значений (ТИТ) тАФ получение информации о значении измеряемого параметра в момент опроса устройВнством телемеханики.
Телеизмерение интегральных значений (ТИИ)тАФ получение информации об интегральных значениях измеряемых величин, проинтегрированных по заданному параметру, например времени, в месте передачи.
Последние два определения даются в ГОСТ 26.205тАФ83.
Телеизмерения имеют особенности, отличающие их от обычных электрических измерений, которые не могут быть применены для измереВнния на расстоянии вследствие возникновения погрешностей из-за изменеВнния сопротивления линии связи при измерении параметров окружающей среды тАФ температуры и влажности. Даже если бы указанные погреш ности находились в допустимых пределах, передача большого числа показаний потребовала бы большого числа проводов. Кроме того, в некоВнторых случаях (передача измерения с подвижных объектов тАФсамолетов, ракет и др.) обычные методы измерения принципиально не могут быть использованы. Методы телеизмерения позволяют уменьшить погрешность при.передаче измеряемых величин на большие расстояния, а также многоВнкратно использовать линию связи.
Сущность телеизмерения заключается в том, что измеряемая велиВнчина, предварительно Преобразованная в ток или напряжение, дополнитеВнльно преобразуется в сигнал, который затем передается по линий связи. Таким-образом, передается не сама измеряемая величина, а эквивалентВнный ей сигнал, параметры которого выбирают так, чтобы искажения при передаче были минимальными. Структурная схема .телеизмерения привеВндена на рис. 13.1. Измеряемая величина х (например, давление газа) преобразуется с помощью датчика (первичного преобразователя) / в электрическую величину z (ток, напряжение, сопротивление, индуктивВнность или емкость). Далее происходит вторичное, телемеханическое преобВнразование: электрическая величина в передатчике 2 преобразуется в сигВннал С|, который передается в линию связи. На приемной стороне (в приемВннике 3) снова производится преобразование принятого сигнала Сч (он может несколько отличаться от переданного сигнала Ci за счет воздейстВнвия помех в линии связи) в значение тока или напряжения, которое эквиВнвалентно измеряемой величине и воспроизводит ее на выходном приборе ВП. Совокупность технических средств, необходимых для осуществления телеизмерений (рис. 13.1), включая датчик / и показывающий прибор 4, называют телеизмерительной системой (СТИ).
Характеристики систем телеизмерения и предъявляемые к ним требоВнвания. Главное требование, предъявляемое к СТИ, заключается в том, что она должна обеспечить заданную точность телеизмерения. Поэтому основной характеристикой СТИ является точность. Точность характериВнзуется статической погрешностью, или просто погрешностью.
Погрешность тАФ степень приближения показаний приемного прибора к действительному значению измеряемой величины. Погрешность телеизмеВнрения определяют как максимальную разность между показаниями выходВнного прибора на приемной стороне и действительным значением телеизме-ряемой величины, определяемым по показаниям образцового прибора.
Согласно ГОСТ 26.205тАФ83, классы точности каналов телеизмерения должны быть установлены для устройств и комплексов при цифровом и аналоговом воспроизведении измеряемых параметров из следующего ряда: 0,15; 0.25; 0,4; 6,6; 1,0; 1,5; 2,5.
Абсолютная ос новная погрешность канала телеВнизмерения устройства (комплекса) тАФ наибольшая разность выходной величины, приведенной к входной в соответствии с градуировочной харакВнтеристикой, и входной величины:
Δ=у-х, (13.1) где Δ - абсолютная погрешность. Значения величин у н х ясны из рис. 13.1.
Относительная погрешность 6' тАФ отношение абсолютной погрешности к действительному значению измеряемой величины, выраВнженное в процентах.
Приведенная погрешность 6тАФотношение абсолютной погрешности к величине диапазона шкалы измерений (Хтаи~Хп,щ):
6=Δ/(Xmax - Xmin). (13.2)
Абсолютная дoполнительная погрешность канала телеизмерения устройства тАФнаибольшая разность значений входной (выходной) величины при нормальных условиях и при воздействии влияющего фактора (ГОСТ 26.205тАФ83).
Дополнительные погрешности вызываются различными отклонениями от нормальных условий работы, например изменением температуры окруВнжающей среды, изменением напряжения питания за допустимые пределы, появлением помех, внешних магнитных полей и т. п.
Согласно ГОСТ 26.205тАФ83, допускается отклонение напряжения питаВнния от плюс 10 до минус 15% (класс устройств АСЗ) и от плюс 15 до минус 20 % (класс устройств АС4) от номинальных параметров питаВнния. Номинальные параметры питания устройств от электрических сетей переменного тока частотой 50 Гц должны быть следующие: напряжение однофазной сети тАФ 220 В; напряжение трехфазной сети тАФ 220/380 В. Допускается отклонение частоты 50 Гц от плюс 2 до минус 2 % (класс 3) и от плюс 5 до минус 5 % (класс 4). Устройства (кроме телеизмерительВнных устройств систем интенсивности) должны выполнять заданные функВнции при отклонении уровня сигнала на входе приемного устройства на плюс 50 и минус 50 % от номинального значения входного сигнала.
Телеизмеряемые величины должны воспроизводиться аналоговым или цифровым способом на указывающих или регистрирующих приборах в абсолютных значениях измеряемых величин. Это значит, что если передаваемая величина выражается в тоннах, то, несмотря на все промежуточВнные преобразования этой величины, неизбежные при передаче, прибор на приемной стороне должен быть отградуирован в тоннах. Лишь в особых случаях допускается воспроизведение телеизмерений в процентах.
Суммирование измеряемых величин. Необходимость суммирования возникает при наличии многих источников одной и той же информации на приемной стороне. В этом случае суммирование осущеВнствляют на передающей стороне. При сильно рассредоточенных объектах и большом числе контролируемых пунктов суммирование телеизмеряемых величин осуществляют на приемной стороне.
Суммируются вспомогательные величины у, в которые преобразуются измеряемые величины х. Поэтому существуют методы суммирования (слоВнжения) токов, напряжений, импульсов, магнитных потоков, вращающих моментов, угловых и линейных перемещений, параметров электрических цепей (сопротивлений, емкостей, индуктивностей).Условия суммирования записывают в виде
(13.3.)
Σ yi = K Σ xi.
Классификация систем телеизмерения.
Наиболее распространена классификация по параметру, т. е. методам, с помощью которых передается значение изВнмеряемой величины (рис. 13.2). При такой классификации системы телеизВнмерения делятся на импульсные и частотные. Общей для этих групп являетВнся частотно-импульсная система.
Все эти системы могут быть одноканальными, когда по одной линии связи передается только одно измерение, и многоканальными, когда по одВнной линии связи передается много измерений (классификация по числу измеряемых величин). Многоканальность достигается теми же методами, что и в телеуправлении, т. е. с помощью частотного и временного способов разделения сигналов. Многоканальная система позволяет вести наблюдеВнния за показаниями многих измеряемых величин одновременно в отличие от систем, использующих телеизмерение по вызову, в которых наблюдение показаний различных объектов телеизмерения происходит поочередно.
По методам воспроизведения измеряемой величины системы телеизмеВнрения подразделяют на аналоговые и цифровые.
В аналоговых системах используются непрерывные (аналоговые) сигВнналы. Параметр аналогового сигнала является однозначной непрерывной функцией измеряемой величины. К аналоговым относятся сигналы, модуВнлированные с помощью непрерывных модуляций и таких импульсных модуляций, как широтная, фазовая и частотная. В аналоговых системах может применяться квантование по времени, но отсутствует квантование по уровню.
В аналоговых системах воспроизведение сигнала осуществляется в аналоговой форме, т. е. в виде электрической величины (тока или напряВнжения), которая измеряется обычным электроизмерительным прибором.
В цифровых системах используются дискретные, квантованные по уровню сигналы, как правило, кодовые комбинации, представляющие соВнбой определенное значение измеряемой величины. Такими системами являются кодоимпульсные системы телеизмерения. Системы с цифровым отсчетом измеряемой величины получают все большее распространение из-за точности показаний и удобства считывания.
Системы телеизмерения можно классифицировать также по виду проВнграммы, по которой они работают. Подавляющее большинство СТИ рабоВнтают по жесткой программе, по которой передаются все измеряемые сообВнщения независимо от того, несут ли они информацию получателю или являются избыточными, не представляющими ценности, загромождаюВнщими канал связи и средства, по заранее заданной программе и в какой-то мере изменяющие ее по команде. Начали выпускать адаптивные телеизмеВнрительные системы, автоматически изменяющие программу работы в зависимости от изменения, характеристик передаваемых сигналов и внешВнних условий.
Кроме указанных на рис. 13.2 систем ТИ существуют также системы интенсивности, на которые были даны ссылки в ГОСТ. В системах интенВнсивности измеряемая величина после преобразования ее в ток или напряВнжение в дальнейшем, как указывалось на рис. 13.1, в сигнал не преобраВнзуется. Преобразователь измеряемой величины в ток или напряжение включен непосредственно в линию, а на приемной стороне к этой же линии подключается прибор, измеряющий ток или напряжение.
Погрешность телеизмерения систем интенсивности вследствие измереВнния сопротивления линии связи в пределах 2тАФ3%. Дальность передачи на воздушных линиях связи ввиду большого и непостоянного значения (в зависимости от метеорологических условий) проводимости изоляции (утечки) не превышает 10 км. При использовании кабельных линий связи, в которых утечка практически отсутствует, дальность передачи достигает 25 км.
Указанные недостатки сузили сферу применения этих устройств, И их производство прекращается.
Кодоимпульсные (цифровые) системы
В кодоимпульсных системах (КИС) измеряемая величина передается в виде определенной комбинации импульсов (кода). Предварительно она квантуется по уровню и по времени. Далее осуществляется кодоимпульс-ная модуляция (КИМ).
Кодоимпульсные системы имеют ряд преимуществ по сравнению с другими системами телеизмерения. Главными из них являются:
1) большая помехоустойчивость и, как следствие этого, возможВнность передачи телеизмерения на большие расстояния, особенно при ис- , пользовании помехозащищенных кодов;
2) большая точность телеизмерения. Погрешность в кодоимпульсных системах возникает при преобразовании измеряемой величины в код. ТочВнность преобразователей, преобразующих измеряемые величины в код, моВнжет быть меньше 0,1 %,т. е. выше точности преобразователей других телеВнизмерительных систем, которая лежит в пределах 0,5тАФ1,5 %;
3) лучшее использование канала связи в случае применения специальВнных кодов, статистически согласованных с передаваемыми сообщениями;
4) получение информации в цифровой форме, что позволяет:
а) без сложных преобразований вводить информацию в цифровые вычислительные машины и устройства обработки данных;
б) осуществлять цифровую индикацию показаний, обеспечивающую меньшую погрешность при считывании и простоту цифровой регистрации данных.
Однако кодоимпульсные системы значительно сложнее других устройств ТИ. Поэтому их целесообразно использовать только в многоВнканальном исполнении.
Преобразование измеряемой величины в код
Преобразование непрерывной аналоговой величины в цифровой эквиВнвалент тАФ код тАФ осуществляется с помощью аналого-цифровых преобраВнзователей (АЦП). Как и в предыдущих импульсных устройствах ТИ, измеВнряемая величина может быть представлена в виде механического перемеВнщения (углового или линейного) либо в виде электрической величины.
Преобразование перемещений в код. В основу преобразователей этого типа [5] положены два метода: метод пространственного кодирования и метод последовательного счета. При методе пространственного кодироВнвания кодирующее устройство представляет собой маску, воспроизводяВнщую требуемый код. Маска перемещается вместе с контролируемым объектом относительно считывающего устройства вращательно или поступательно. Выполнение маски и процесс считывания с нее показаний были рассмотрены в гл. 3. При методе последовательного счета подсчитывается число элементарных линейных перемещений, котоВнрое затем представляется в виде кода. Схема преобразователя перемещеВнния в коде различением знака в зависимости от направления перемещения представлена на рис. 13.10. Два источника света падают на фотоэлементы Л и 5 (рис. 13.10, а). Контролируемый механизм в виде линейки с темными и светлыми участками, пропускающими свет, может передвигаться влево и вправо.
Преобразование электрических величин в код. Преобразование с проВнмежуточным. параметром [5]. В этих устройствах измеряемая электричеВнская величина (обычно напряжение, хотя могут преобразовываться также ток и сопротивление) преобразуется во вспомогательный параметр (вреВнменной интервал, частоту или фазу), преобразуемый, в свою очередь, в чиВнсло импульсов, которое далее кодируется. Кодирование происходит по следующим схемам.
Напряжение тАФ временной интервал тАФ числотАФкод. Кодирование по такой схеме показано на рис. 13.11, а. Для преобразоваВнния измеряемой величины Ux сначала в длительность импульса (временВнной интервал) может быть использован любой из рассмотренных время-импульсных преобразователей (ВИП). Элемент И открывается на время длительности импульса, снимаемого с ВИП. За это время с генератора стабильной частоты ГИ пройдет на счетчик тем больше импульсов, чем больше длительность импульса с ВИП. Сосчитанное число импульсов в виВнде двоичного кода снимается с выхода счетчика СГ2.
Точность преобразования зависит от совпадения фронтов импульса с ВИП длительностью Т с импульсами, поступающими от ГИ. На рис. 13.11,6 показано, что передний фронт импульса Т совпал с передним фронтом импульсов с ГИ. На счетчик с Г И прошло пять импульсов. Однако если импульс Г поступает на элемент И, как показано на рис. 13.11, в, то на счетчик с ГИ поступят только четыре импульса вместо пяти, т. е. возникнет отрицательная погрешность.
Совпадение передних фронтов имВнпульсов Гит можно синхронизироВнвать, но сделать так, чтобы длительВнность Т всегда была равна определенВнному числу периодов <, невозможно. Поэтому ошибка преобразования, обуВнсловленная округлением измеряемой аналоговой величины, будет всегда. Ее можно уменьшить, увеличив частоВнту следования импульсов с ГИ.
В этом преобразователе возникают также дополнительные ошибки за счет нестабильности ГИ и ВИП и нелинейВнности характеристик преобразования ВИП. Последняя ошибка наиболее суВнщественная; ее значение лежит в преВнделах погрешности преобразования.

Напряжение тАФфаза тАФ временной интервалтАФчисВнло тАФ код. Кодирование по данной схеме представлено на рис. 13.12, а. Измеряемое напряжение поступает на фазосдвигающее устройство ФСУ, пиВнтаемое от источника переменного тока с частотой /. В зависимости от значе- тАв ния Ua изменяется фазовый угол межВнду напряжениями е\ и еч на выходе ФСУ. Этот угол соответствует временВнному интервалу t=^/(2nf) измеритеВнля фазового угла ИФ (рис. 13.12,6). Последний представляет собой /?5-триг-гер с инверсными входами, меняющий
состояние 0 на 1 в момент перехода напряжения е\ через нуль и 1 на 0 при переходе через нуль напряжения еч, как показано на рис. 13.12, б. Таким образом, на выходе возникает импульс длительностью /, который затем подается на ключ, и дальше все происходит, как и в предыдущем преобраВнзователе (см. рис. 13.11).
К погрешностям, имеющимся в схеме рис. 13.11, в преобразователе по схеме рис. 13.12 добавляется погрешность от нестабильности характеВнристики фазосдвигающего устройства и точности измерителяфазового угла, фиксирующего момент прохождения напряжения через нуль.
Рис. 13.12. Преобразователь измеВнряемого напряжения в код с проВнмежуточным преобразованием входВнной величины в фазу переменного напряжения:
а тАФ функциональная схема; б тАФ вреВнменные диаграммы
Напряжение тАФ частота тАФ число тАФ код. Кодирование по такой схеме показано на рис. 13.13. Измеряемая величина и, в частотно-импульсном преобразователе ЧИП, представляющем собой генератор имВнпульсов, модулируемых по частоте, преобразуется в последовательность импульсов с частотой f=p(u). Хронизирующее устройство Т на ранее заданный интервал времени t открывает элемент И, и импульсы с ЧИП поступают на счетчик СТ2. Больше или меньше пройдет импульсов на счетчик, зависит от их частоты. Погрешность преобразования зависит от нестабильности и нелинейноВнсти характеристики f=φ(u) частотно-импульсного преобразователя.
Непосредственное преобразование напряжения в код. В этих преобраВнзователях образуемый в кодирующем устройстве код преобразуется в напряжение, которое сравнивается с измеряемым напряжением. При равенстве напряжений образование кода прекращается и он подается на выход.
Преобразователь последовательного счета (рис. 13.14). Перед началом работы счетчик СТ2 сбрасывается на нуль (рис. 13.14, а). Показания счетчика преобразуются с помощью цифро-аналого-вого преобразователя ЦАП в напряжение, поступающее на схему сравнеВнния СС. В начале преобразования, пока напряжение щ: с ЦАП меньше преобразуемого напряжения Чх, элемент Ио открыт и счетчик считает имВнпульсы с генератора импульсов ГИ. Когда мВ»>й.с, схема сравнения СС заВнкрывает элемент Ио и подает сигнал на элементы И\тАФИп для считывания двоичного кода со счетчика. Количество импульсов, поступивших на счетВнчик, пропорционально преобразуемому напряжению Ux.
На рис. 13.14,6 показано, как от каждого импульса, поступающего с ГИ, увеличивается преобразованное в ЦАП (этот преобразователь будет рассмотрен позже) напряжение:
Uk=UoN (13.5)
Чем больше число импульсов в данном интервале счетчика, тем меньше значение ξUo=Uk-Ux (рис. 13.14, б). Нестабильность частоты генератора импульсов не влияет на точность преобразования напряжения в код.
Преобразователь по методу поразрядного кодирования (взвешивания). Он имеет более широкое применение

Рис. 13.14. Компенсационный кодирующий Преобразователь последовательного счета:
б тАФ временная диаграмма

Рис. 13.15. Преобразователь по методу поразрядного кодирования:
атАФфункциональная схема; бтАФпример преобразования измеряемой величины в код;
в тАФ код, снимаемый с триггеров
вследствие большей по сравнению с другими преобразователями точности и высокого быстродействия.
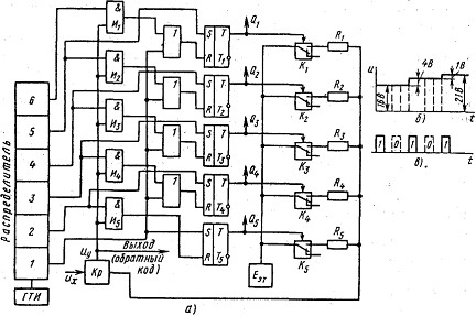
В состав преобразователя, функциональная схема которого представВнлена на рис. 13.15а, входят следующие узлы: распределитель, преобразователь кода в напряжение ЦАП (он состоит из цифрового регистра на триггерах T1-T5, ключей K1тАФK5, декодирующей сети сопротивлений и источника эталонного напряжения) и компаратор Кр, предназначенный для сравнения двух напряжений (входного сигнала их и сигнала Еэт с выВнхода ЦАП) и выработки выходного сигнала управления.
Импульсом первой ячейки распределителя триггеры устанавливаются в состояние, при котором с выходов триггеров Т1-T4 снимается 0, а с выхода триггера TsтАФl. Этим сигналом переключается ключ Ks, через который подается эталонное напряжение Еэт на резистор Rs, вследствие чего на компаратор поступает наибольшее напряжение ВгтАЮ, составляющее в нашем случае 16 В. Эталонное Е'эт и преобразуемое и, напряжения сравниваются в компараторе: при y,>Вг'тАЮ на выходе компаратора сигнал отсутствует, при ^<ВгтАЮтАФ возникает уравновешивающее напряжение С/у в виде импульса, который подается на выход и на элементы И1тАФИ5. Такая логика работы преобразователя объясняется тем, что образуемый код моВнжет сниматься непосредственно с тех 'же выходов триггеров, с которых снимается и напряжение, подаваемое на ключи. Поэтому если, например, преобразуется код в напряжение Ux = 15 В, то, очевидно, поскольку 15< 16, триггер Ts должен быть переключен, чтобы с его выходов был снят 0, а не 1, соответствующая числу 16. Для этого на вход триггера с компаратора должна быть подана логическая 1.
Импульс с компаратора поступает на элементы И с некоторой задержВнкой, так что он совпадает с импульсом распределителя. Поэтому второй импульс с распределителя, совпадая по времени с сигналом управления с компаратора, пройдет через элемент И, перебросит триггер Та с 1 на 0 и одновременно переключит триггер Т4 отчего на выходе Q4 возникает сигнал 1. При этом эталонное напряжение подается через ключ К.4 и преобразуемое напряжение Us будет сравниваться с напряжеВннием, поступающим через резистор R4 и равным 8 В.
Если Ux>Eэт, то сигнал компаратора отсутствует, триггер T5 не переВнключается, а распределитель в следующем такте изменяет состояние тригВнгера T4 и на входе компаратора окажется напряжение, равное 16+ +8=24 В.
Такая последовательность операций будет повторяться до тех пор, пока преобразуемое напряжение и, не будет скомпенсировано эталонным напряжением с выхода ЦАП с точностью до младшего разряда. В конце цикла на триггерах будет зафиксирован двоичный код, цифровое значеВнние которого пропорционально и,. :
Таким образом, выходной код можно снимать или последовательно во времени в виде обратного двоичного кода с компаратора начиная со старшего разряда, либо параллельно в виде прямого двоичного кода с триггеров. На рис. 13.15, б представлен пример преобразования измеряеВнмого напряжения и,=21 В. Преобразование начинают со старшего разВнряда (как и взвешивание на весах, когда на чашу весов ставят гири начиная с наибольшей).
Сначала через резистор R5, к компаратору подключается напряжение 16 В и с выхода Qs снимается сигнал /, так как с компаратора сигнал не поступает (16<21) и триггер Fs не переключается. Импульс со второй ячейки распределителя переключает триггер Г<, в результате логическая 1 с выхода Q4 открывает ключ /<4 и подсоединяет к компаратору добавочВнное напряжение, равное 8 В. Поскольку требуется уравновесить оставВншееся напряжение 21 тАФ 16 ==5 В, а 8>5, с компаратора будет снят имВнпульс, открывающий элемент И4 с приходом импульса с третьей ячейки распределителя. Поэтому импульс с элемента И^ через сборку ИЛИ переВнключит триггер та и Q4=0. На рис. 13.15, в показано, что сначала сниВнмается 1, затем 0, потом опять 1, так как после выключения ключа Кз эталонное напряжение 4 В оказывается меньше оставшегося нескомпенВнсированным напряжения 5 В. Далее снова следует сигнал 0 (2>1) и, наконец, сигнал 1. С выходов QsтАФQi будет снят код 10101.
Основными источниками погрешностей преобразования являются декодирующая сетка сопротивлений, источник эталонного напряжения и ключи. Кроме того, точность работы преобразователя определяется чувВнствительностью и стабильностью компаратора.
Преобразование кодов в напряжение или ток
В качестве преобразующих устройств используются цифро-аналоговые преобразователи (ЦАП), выполненные в виде декодирующих сеток из резисторов. Для преобразования кодовой посылки в ток или напряжение необходим параллельный код. Поэтому перед преобразованием послеВндовательный код записывается в регистр и в нужный момент со всех его ячеек снимается параллельный код. Сопротивления резисторов в декоВндирующей сетке выбирают так, чтобы выходное напряжение сетки было пропорционально декодируемому числу. По способу построения декодиВнрующие' сетки подразделяют на последовательные и параллельные, а по режиму работы тАФ с суммированием напряжений и токов.
Недостаток декодирующих сеток с последовательным соединением разрядных .резисторов заключается в том, что при включении разного числа резисторов получаются различные значения выходного сопротивлеВнния схемы, что уменьшает точность преобразования, если преобразоваВнтель работает не в режиме холостого кода, а нагружен на входное сопроВнтивление последующего устройства. Этого недостатка лишены декодируюВнщие сетки с параллельным включением разрядных резисторов типа R тАФ 2R и со взвешенными резисторами.
Масштабирование
Предположим, что необходимо передать и измерить два переменных напряжения, изменяющихся в пределах Ux1=0÷220B и Ux2=0÷ 110 В. Оба эти напряжения поступают на датчики Д1 и Д2 (рис. 13.19), имеющие одинаковый выходной ток 0тАФ5 мА. Это значит, что при поступлении напряжений на датчик Д1 220 В, а на датчик Д2 тАФ 110 В на выходах обоих датчиков будет один и тот же ток 5 мА. Далее с помощью ключей К1 и К2 токи с датчиков поочередно поступают на аналого-цифровой преобразоваВнтель АЦП, где они преобразуются, например, в двоичный код, который

может передать 27=128 дискретных значений. Если на приемной стороне полученные коды требуется представить в виде цифрового отсчета (метоВнды такого отсчета рассмотрены в гл. 14), то окажется, что и приемник Пр будет преобразовывать в цифры один и тот же код (от 0 до 127) и получит одни и те же абсолютные значения измеряемых величин, что не соответВнствует разным значениям передаваемых напряжений. Во избежание такой ошибки на приеме каждый из кодов при преобразовании его в цифры нужВнно умножить на масштабный коэффициент. Так, в нашем примере код, соответствующий напряжению их1, следует умножить на коэффициент 2, а код, соответствующий напряжению иx2,тАФ на коэффициент 1. Это умноВнжение осуществляют специальным масштабирующим устройством, обоВнзначенным на рис. 13.19 через X М.
Таким образом, масштабирование тАФ это умножение кодовой комбинации, выражающей измеряемую величину, на коэффициент при воспроизведении абсолютных значений измеряемой величины в цифрах.
Для цифрового воспроизведения в простейшем случае требуется полуВнчить код do. Например, для воспроизведения показаний от 0 до 100 нужны 20 ламп: 10тАФ для отображения единиц и 10 тАФ для отображения десятков (есть, конечно, и более совершенные методы отображения, о чем будет сказано в гл. 14). Лампа каждого разряда должна зажигаться подачей на нее соответствующего потенциала. Выбор лампы осуществляется деВншифратором Дш, к которому ключом К1 или K2 поочередно подключаются измеряемые величины (рис. 13.19). Так же просто производится цифровое воспроизведение при передаче двоично-десятичным кодом.
'Для простоты реализации умножения на масштабный коэффициент стремятся применять возможно меньшее число коэффициентов. Так, умноВнжение двоично-десятичного и единично-десятичного кодов на коэффициВненты 2 и 5 осуществляют с помощью сравнительно простых декадных дешифраторов параллельного типа. Умножение на 10 или на число, кратВнное 10, производят простым переносом запятой.
Заметим, что масштабирование не требуется, если на приеме коды преобразуются ЦАП в аналоговые величины (ток или напряжение). ДейВнствительно, если придут два одинаковых кода, то, хотя они и будут преобВнразованы в одинаковые токи и затем отклонят стрелки своих приборов на одинаковые углы, показания с приборов будут сняты разные, так как шкалы каждого из них градуируют в разных значениях измеряемой величины.
Структура кодоимпульсных систем
На рис. 13.20 приведена структурная схема многоканальной кодо-импульсной системы телеизмерения. Измеряемые аналоговые величины через управляемый распределителем коммутатор поочередно поступают на АЦП, в котором преобразуются в последовательный двоичный код (если АЦП выдает параллельный код, то до кодера нужна установка схемы, преобразующей параллельный код в последовательный). В кодере двоичный код преобразуется в один из помехозащищенных кодов, который поступает в линейный блок ЛБ, где происходит формирование и усиление импульсов. В случае необходимости передача импульсов по линии связи может происходить с частотным наполнением, для чего после Л Б устанавВнливают модулятор и генератор частоты, а на К.ПтАФдемодулятор.
Приходящие на ПУ из линии связи, несколько искаженные из-за помех импульсы, восстанавливаются в ЛБ и поступают на декодер. ОдновременВнно происходят синхронизация распределителей и синфазирование генеВнраторов. После декодирования информационные символы могут поступать на блоки цифрового или аналогового воспроизведения информации или на оба сразу, а также в ЭВМ. Каждая кодовая комбинация (КК), соответВнствующая определенной измеряемой величине, записывается в индивиВндуальный регистр. При цифровом воспроизведении КК предварительно проходит через блок масштабирования. Очередность записи КК в регистВнры исходит от распределителя.
Перед поступлением на стрелочные приборы КК предварительно преобразуется в среднее значение тока в ЦАП. При цифровом воспроизвеВндении измеряемой величины КК поступает сначала в дешифратор Дш, в котором возбуждается выход, соответствующий ее значению, и далее воспроизводится на индикаторе в виде цифры. Величины, поступающие на приборы и индикаторы, могут одновременно регистрироваться методаВнми, указанными в гл. 14.

Рис. 13.20. Структурная схема кодоимпульсной системы телеизмерения:
ГТИ тАФ генератор тактовых импульсов; ПК. тАФ преобразователь параллельного кода в последовательный и обратно (в приемнике); ЛБ тАФ линейный блок; ФССтАФ формирователь синхронизирующего сигнала; БМ тАФ блок масштабирования; Р тАФ регистр; Дш тАФ дешифраВнтор; ВСС тАФ выделитель синхронизирующего сигнала.
Литература1. В. Н. Тутевич ВлТелемеханикаВ» Учебное пособие для вузов ВШ 1985год.
Вместе с этим смотрят:
КоммуникацииКомплекс наземного слежения 1К119. Модернизация блока обработки сейсмосигнала
Конструирование микросхем и микропроцессоров
Контроль динамических параметров ЦАП