Развитие гроз в конвективных облаках
д.ф-м.н., проф. Аджиев А.Х.,Ва Калов Р.Х., Сижажев С.М., Бжекшиев С.Л.
Высокогорный геофизический институт
Нальчик, КБР, Россия
Изучение грозо-разрядных явлений в облаках интенсивно проводится в течение длительного времени, что обусловлено научным и прикладным значением проблемы. К настоящему времени накоплен большой объем данных об электрических явлениях в облаках, в частности, о процессах, обуславливающих начало, интенсивность и продолжительность гроз [1, 4, 6]. Однако удовлетворительного соответствия между экспериментальными и теоретическими результатами не достигнуто, особенно для процессов разделения электрических зарядов и разрядных явлений. Это, по-видимому, обусловлено отсутствием надежных экспериментальных данных комплексных исследований разрядных явлений в облаках.
В наибольшей степени современным требованиям в исследовании грозового электричества облаков удовлетворяют данные, получаемые методами активной и пассивной радиолокации грозовых очагов в СВ- и УКВ-диапазонах радиоволн в сочетании с обычными наблюдениями за облаками с помощью метеорадиолокаторов (МРЛ). Приоритет в разработке этих методов принадлежит отечественным исследователям [5, 6, 9]. Созданный в Высокогорном геофизическом институте комплекс активно-пассивной радиолокации грозовых и грозоопасных очагов [2,3], включает в себя метеорологический радиолокатор МРЛ-2П, штатные радиолокационные станции (РЛС) П-12, П-15, приемные устройства в спектре частот от десятка килогерц до сотен мегагерц, грозопеленгатор-дальномер АГПД-2, электростатический флюксиметр, электрическая и магнитная антенны со своими усилительными устройствами, устройства селекции и измерения параметров (УСИП) эхо сигналов.
Указанный комплекс позволяет вести непрерывные наблюдения за грозой в радиусе до 200 км, подробно прослеживать структуру грозовых очагов, их трансформацию, определять интенсивность грозового процесса в целом по всему очагу и в отдельных его частях.
Комплекс позволяет производить синхронные измерения следующих параметров:
- временной ход радиолокационной отражаемости метеообразований на длине волны 3.2 см;
- скорость изменения и временной ход верхней границы зоны отражения, высот областей максимальной и повышенной радиолокационных отражаемостей;
- характер, направление и скорость перемещения облака;
- время прихода каждого импульса радиоизлучения от исследуемого облака;
- длительность (продолжительность) различных стадий грозовой деятельности облака;
- время возникновения первого молниевого разряда в облаке;
- частоту появления разрядных явлений различных масштабов в облаке;
- число импульсов и пакетов импульсов радиоизлучения на различных частотах;
- амплитудно-частотные характеристики радиоизлучения облака;
- изменение длительности существования отраженных радиолокационных сигналов от ионизированных каналов (молний) в облаке;
- напряженности электрического поля, обусловленного грозовыми разрядами.
Измерения параметров грозовой активности выполнялись в спектре частот от 10 килогерц до сотен мегагерц. Регистрация и хранение информации проводились с помощью цифропечатающего устройства с дальнейшей обработкой на ЭВМ.
Выполняемые нами исследования показали, что на определенной стадии развития конвективного облака, когда его верхняя граница достигает уровня естественной кристаллизации капель воды, в нем спонтанно возникает предгрозовое электромагнитное радиоизлучение (ЭМИ). По нашему мнению, ЭМИ на этой стадии возникает в результате развития лавинных и лавинно-стримерных процессов между зонами электрических неоднородностей. Исследования момента перехода из предгрозовой стадии в стадию грозовой активности в зависимости от его термодинамики показывают, что наиболее информативным параметром является отношение переохлажденной части облака к его теплой части:
,(1)
где Нb - высота верхней границы облака, Но- высота нулевой изотермы, Нk - высота уровня конденсации.
Так, например, если это отношение меньше 1.2, и максимальная отражаемость (
) облака на длине волны 3.2 см не превышает 4 10-8 см-1, то с вероятностью 80 % в конвективном облаке отсутствуют электрические разряды, способные создать концентрацию свободных электронов и ионов с эффективной отражающей поверхностью, достаточной для получения отраженного сигнала на входе приемника РЛС дециметрового диапазона, чувствительность которого 2.8 10-14 Вт при максимуме отражаемости на длине волны 3.2 см 4 10-8 см-1 и более.
В 85 % случаев переход конвективного облака из предгрозовой стадии в стадию грозовой активности происходит если отношение толщины переохлажденной части к толщине теплой части составляет 1.2 .. 1.5. При К > 1.5 и
4 10-8 см-1 в облаках, как правило происходят интенсивные молниевые разряды.
В начальной стадии развития грозовых явлений, когда размеры и плотность объемных зарядов в неоднородной электрической структуре облака очень малы, внутриоблачные разряды между ними носят мелкомасштабный характер. Длительность пакета импульсов радиоизлучения в этой стадии составляет 10-15 мс с характерной частотой следования 3-4 импульса в минуту. По мере развития конвективного облака происходит постепенный рост плотности объемных зарядов и усиление грозовой активности. В частности, увеличивается интенсивность и длительность радиоизлучения, происходит постепенный переход конвективного облака в грозовое состояние. Исследованиями 1984-1995 гг. установлено, что продолжительность предгрозового состояния по времени может достигать 16 мин., со средним значением 8 минут. В 75 % случаев продолжительность предгрозового состояния облака находится в интервале от 3 до 10 минут. Если за 14-16 минут облако не перешло в грозовое состояние, то оно, как правило, распадается.
По мере дальнейшего развития конвективного облака при достижении верхней границы радиоэха температурного уровня -18 .. - 35о С и радиолокационной отражаемости на длине волны 3.2 см значения 6 10-8 см-1 происходит переход облака из предгрозового состояния в состояние грозовой активности, т.е. появляются молниевые разряды, фиксируемые с помощью радиолокационных станций и в ряде случаев визуально.
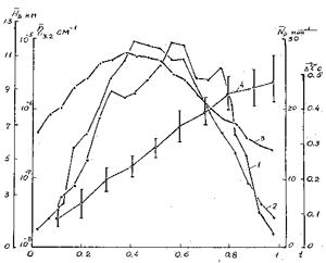
На рис. 1 представлены результаты синхронных исследований радиолокационных и электрических параметров конвективных облаков в процессе их развития, построенные по измерениям более 200 развивающихся конвективных облаков.
Как правило, продолжительность грозовой активности конвективных облаков различна как в течение одного дня, так и в разные дни. Поэтому, чтобы сравнить характер изменения радиолокационных и электрических параметров в одинаковые периоды развития облака, по оси абсцисс отложено время изменения характеристик грозовой деятельности облака в относительных единицах. Как показывают данные, приведенные на рис.1, с развитием облака, в частности с изменением высоты верхней границы радиоэха Нb и отражаемости
3.2. происходит рост его грозовой активности: числа импульсов ЭМИ Nu и числа грозовых разрядов Np в единицу времени. При этом радиолокационные параметры растут быстрее и достигают своего максимума за 15-20 мин. до момента времени, когда грозовая активность достигает наибольшей величины. Следовательно, грозо-разрядная деятельность является следствием развития облака, в частности, увеличения среднего размера частиц, водности и ледности облака.

Рис. 1 Изменение грозовой активности конвективных облаков с их развитием.
В период диссипации облака, вследствие выпадения осадков и появления нисходящих потоков как правило образуется несколько конвективных ячеек. В этот период наряду с разрядами в этих ячейках появляются молниевые разряды между ними. В результате этого и поддерживается достаточная грозовая активность конвективного облака.
В дальнейшем, с продолжением выпадения осадков, ячейки постепенно распадаются и происходит постепенное уменьшение их грозовой активности.
При благоприятных метеорологических условиях нисходящие потоки в приземном слое создают холодный мезофронт, который выталкивает вверх более теплый воздух. Это способствует образованию и росту новой конвективной ячейки по мере разрушения ?старыхВж грозовых ячеек. Развитие новой ячейки и достижение высоты верхней границы растущей ячейкой уровня естественной кристаллизации капель воды приводит к появлению предгрозового радиоизлучения. Продолжительность предгрозового радиоизлучения у новой развивающейся ячейки значительно короче, чем у первоначального конвективного облака и длится примерно 3-5 мин. С ростом ?новойВж ячейки происходит постепенное увеличение интенсивности и длительности радиоизлучения и происходит переход ?новойВж конвективной ячейки в активное грозовое состояние, появляются молниевые разряды. С началом выпадения осадков в этой ячейке зарождаются новые конвективные ячейки, т.е. происходит повторное развитие грозового процесса как в первоначальной ячейке. Таким образом, грозовая активность конвективных облаков носит циклический характер. Количество циклов в данном облаке, продолжительность отдельного цикла и длительность предгрозового состояния зависят от метеоусловий и орографии района развития конвективного облака. Анализы экспериментальных данных показывают, что число отдельных циклов грозовой деятельности ячейки составляет 2..5. Продолжительность грозовой активности отдельных циклов различная, от нескольких минут до часа, при среднем значении 25 мин.
Нами также проводились исследования изменения параметров отдельных молниевых разрядов с развитием конвективного облака. Эти исследования показывают, что в процессе роста облака происходит изменение амплитуды сигнала, отраженного от ионизированного канала молниевого разряда и времени его существования, а также времени, в течение которого ионизированный канал после молниевого разряда является идеальной отражающей поверхностью для электромагнитной волны РЛС дециметрового диапазона длин волн. Последнее характеризует мощность молниевого разряда и количество обратных ударов в нем [5].

Рис. 2. Изменения характеристик молниевого разряда с развитием конвективных облаков.ВаВа На рис.2 приведены результаты исследования характера изменения параметров молниевых разрядов. Как показывают данные, приведенные на этом рисунке, по мере развития облака, с ростом верхней границы радиоэха, радиолокационной отражаемости и грозовой активности происходит рост среднего времени существования отраженного сигнала от ионизированного канала молниевого разряда.
В начале грозового процесса длительности существования отраженных сигналов от ионизированного канала молниевого разряда составляют 0.1 .. 0.3 сек. В процессе развития облака происходит рост его грозовой активности и в зрелой стадии появляются грозовые разряды с большей амплитудой и длительностью существования отраженного сигнала (0.4 .. 0.6 сек.), чем в начале развития. В это время от отдельных разрядов появляются отраженные сигналы со временем существования до 0.8 сек.
С развитием облака происходит увеличение не только среднего времени существования отраженного сигнала от ионизированного канала молниевого разряда, но и интенсивности разрядов. Число грозовых разрядов в единицу времени, достигнув максимума в середине развития грозового процесса, постепенно уменьшается. А среднее время существования отраженного сигнала от канала молниевого разряда постепенно увеличивается и достигает своего максимума в стадии диссипации облака. Время существования отраженного сигнала от ионизированного канала после молниевого разряда является функцией мощности или числа разрядов, проходящих по одному и тому же каналу. В том и другом случаях увеличивается количество электричества, нейтрализуемого при молниевом разряде, т.е. увеличиваются масштабы разрядных промежутков по мере развития электрических явлений в конвективном облаке. Поэтому конвективные облака в стадии диссипации более опасны для летательных аппаратов, чем в зрелой стадии, хотя вход в них летательных аппаратов более вероятен из-за малой величины радиолокационной отражаемости этих грозовых ячеек.
Высокая чувствительность приемного тракта и относительно узкая диаграмма направленности антенны, используемой РЛС дециметрового диапазона в пассивном режиме, позволяет исследовать характер изменения параметров импульсов ЭМИ в промежутке между молниевыми разрядами.
Радиоизлучение облака между молниевыми разрядами по длительности сигналов можно разделить на 2 группы:
а) излучение с длительностью импульсов 20-150 мкс;
б) излучение с длительностью импульсов свыше 150 мкс.
Первый тип излучения является характерным для внутриоблачных разрядов. Этот тип излучения наблюдается с момента возникновения грозового очага до его диссипации. Второй тип излучения, по нашему мнению, связан с разрядами между облаками и разрядами типа облако-земля.
На рис. 3 приведены вероятности появления разрядов с данной длительностью радиоизлучения облака в промежутках между молниевыми разрядами. Точками на графике отмечено среднее время появления импульсов радиоизлучения заданной длительности относительно времени между молниевыми разрядами. График построен на основе анализа более 2000 межразрядных импульсов радиоизлучения.
Как показывают данные, приведенные на рис. 3, длительность импульсов радиоизлучения увеличивается с приближением следующего молниевого разряда. Характерной во всех промежутках между молниевыми разрядами является пауза в несколько млс. перед разрядом, когда из облака практически не регистрируются импульсы радиоизлучения.
В зависимости от стадии развития грозового процесса в конвективном облаке число межразрядных импульсов излучения меняется от 4 до 100 импульсов и их длительности лежат в интервале от 10 до 130 мкс. Максимум числа межразрядных импульсов излучения приходится на начальный период зрелой стадии грозового очага. 
ВаРис. 3 Вероятность (Р) появления межразрядных импульсов радиоизлучения заданной длительности в промежутках между молниевыми разрядами
В ряде случаев регистрируются импульсы излучения с длительностью до десятков млс. Появляются они редко и только в промежутках между мощными грозовыми разрядами, длительность существования отраженного сигнала от ионизированного канала которых более 0.4 с.
Выполненные нами исследования показали, что эти типы радиоизлучения существенно отличаются от рассмотренных как по мощности, так и по длительности и появляются они только после мощных молниевых разрядов. По всей вероятности, при мощных молниевых разрядах образуются локальные небольшие долгоживущие плазменные образования. Процесс распада этих образований длится от доли до десятка млс. и сопровождается радиоизлучением. Исследования параметров этих типов радиоизлучения помогут глубже понять природу шаровой молнии.
Приведенные комплексные исследования радиолокационных и электрических параметров развивающегося конвективного облака показывают, что с развитием облака происходит постепенное увеличение масштабов грозовых явлений в нем, возможны разномасштабные электрические разряды, обусловленные разномасштабностью электрических неоднородностей в облаке. Параметры ЭМИ могут служить диагнозом грозового состояния конвективного облака, а их изменения могут быть критерием оценки физической эффективности результатов воздействия на электрическое состояние конвективного облака и на процессы градообразования.
Таким образом, характерной особенностью развития грозы в конвективных облаках является постепенное увеличение линейного размера электрических разрядов. Об этом свидетельствует увеличение пакетов импульсов радиоизлучения молниевых разрядов, частоты их появления в облаке и времени существования сигналов отраженных от каналов молний. В результате изменения микроструктуры облака и турбулентных пульсаций возникают электрические разряды разного линейного размера, ответственные за радиоизлучение с соответствующей длительностью пакетов импульсов. Разрядные промежутки постепенно увеличиваются по мере приближения следующего разряда.
Вместе с этим смотрят:
10 способов решения квадратных уравнений