Математические моделирования на ЕОМ

              Мiнiстерство освiти Украiни                           ДАЛПУ                Кафедра автоматизацii

  технологiчних процесiв i приладобудування

                           КУРСОВА    РОБОТА

      

         з курсу тАЬМатематичне моделювання на ЕОМтАЭ

        на тему тАЬРозвтАЩязок диференцiального рiвняння

виду  апу(п)+ап-1у(п-1)+тАж+а1у1+а0у=кх  при заданих

початкових умовах з автоматичним вибором кроку

                               методом ЕйлератАЭ

                                                           Виконала студентка групи БА-4-97

                                                          Богданова Ольга Олександрiвна

                                                          Холоденко Веронiка Миколаiвна 

                                                          Перевiрила Заргун Валентина Василiвна

                                                                                                                   

                                       

1998

                                                                      

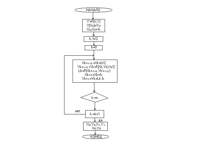
Блок-схема алгоритма

                                            

                         Блок-схема алгоритма

начало

у/=f(x,y)

y(x0)=y0

                                              x0, x0+a

h, h/2

k:=0

                                        xk+1/2:=xk+h/2

        yk+1/2:=yk+f(xk, yk)h/2

                                                             О±k:= f(xk+1/2, yk+1/2)

                                        xk+1:=xk+h

                                         yk+1:=yk+О±kh

                                    нет         k:=n

                                                                                    да

                                                x0, y0,

x1, y1тАж

                                                xn, yn

                                               конец

           

             

               

ПОСТАНОВКА ЗАДАЧИ И МЕТОД РЕШЕНИЯ

     Решить дифференциальное уравнение у/=f(x,y) численным методом - это значит для заданной последовательности аргументов х0, х1тАж, хn и числа у0, не определяя функцию у=F(x), найти такие значения у1, у2,тАж, уn, что уi=F(xi)(i=1,2,тАж, n) и F(x0)=y0.

Таким образом, численные методы позволяют вместо нахождения функции

У=F(x) получить таблицу значений этой функции для заданной последовательности аргументов. Величина h=xk-xk-1 называется шагом интегрирования.

      Метод Эйлера относиться к численным методам, дающим решение в виде таблицы приближенных значений искомой функции у(х). Он  является сравнительно грубым и применяется в основном для ориентировочных расчетов. Однако идеи, положенные в основу метода Эйлера, являются исходными для ряда других методов.

      Рассмотрим дифференциальное уравнение первого порядка

                                       y/=f(x,y)                (1)

с начальным условием

                                     x=x0, y(x0)=y0             (2)

Требуется найти решение уравнения (1) на отрезке [а,b].

Разобьем отрезок [a, b] на n равных частей и получим последовательность х0, х1, х2,тАж, хn, где xi=x0+ih (i=0,1,тАж, n), а h=(b-a)/n-шаг интегрирования.

       В методе Эйлера приближенные значения у(хi)≈yi вычисляются последовательно по формулам уi+hf(xi, yi) (i=0,1,2тАж).

При этом искомая интегральная кривая у=у(х), проходящая через точку М0(х0, у0), заменяется ломаной М0М1М2тАж с вершинами Мi(xi, yi) (i=0,1,2,тАж); каждое звено МiMi+1 этой ломаной, называемой ломаной Эйлера, имеет направление, совпадающее с направлением той интегральной кривой уравнения (1), которая проходит через точку Мi.

     Если правая часть уравнения (1) в некотором прямоугольнике R{|x-x0|≤a, |y-y0|≤b}удовлетворяет условиям:

                           |f(x, y1)- f(x, y2)| ≤ N|y1-y2|  (N=const),

                           |df/dx|=|df/dx+f(df/dy)| ≤ M  (M=const),

    

то имеет место следующая оценка погрешности:

                          |y(xn)-yn| ≤ hM/2N[(1+hN)n-1],            (3)

где у(хn)-значение точного решения уравнения(1) при х=хn, а уn- приближенное значение, полученное на n-ом шаге. 

Формула (3) имеет в основном теоретическое применение. На практике иногда оказывается более удобным двойной просчет: сначала расчет ведется с шагом h, затем шаг дробят и повторный расчет ведется с шагом h/2. Погрешность более точного значения уn* оценивается формулой

                                          |yn-y(xn)|≈|yn*-yn|.

  Метод Эйлера легко распространяется на системы дифференциальных уравнений и на дифференциальные уравнения высших порядков. Последние должны быть предварительно приведены к системе дифференциальных уравнений первого порядка.

     Модифицированный метод Эйлера более точен.

Рассмотрим дифференциальное уравнение (1)  y/=f(x,y)

с начальным условием y(x0)=y0. Разобьем наш участок интегрирования на n                                         

                                          равных частей. На малом участке [x0,x0+h]

у                                                                     интегральную кривую заменим прямой

                     Nk/                            y=y(x)         линией. Получаем точку Мк(хк,ук).

                                                                                                       

           Мк          Мк/                                            

                        yk+1                                       

            yk

          

             хк хк1/2 xk+h=xk1       х  

         

  Через Мк проводим касательную:  у=ук=f(xk,yk)(x-xk).

Делим отрезок (хк,хк1) пополам:

                                          xNk/=xk+h/2=xk+1/2

                                               yNk/=yk+f(xk,yk)h/2=yk+yk+1/2

Получаем точку Nk/. В этой точке строим следующую касательную:

                                           y(xk+1/2)=f(xk+1/2, yk+1/2)=О±k

Из точки Мк проводим прямую с угловым коэффициентом О±к и определяем точку пересечения этой прямой с прямой Хк1. Получаем точку Мк/. В качестве ук+1 принимаем ординату точки Мк/. Тогда:

                                           ук+1=ук+О±кh

                                           xk+1=xk+h

                          (4)            О±k=f(xk+h/2, yk+f(xk,Yk)h/2)

                                           yk=yk-1+f(xk-1,yk-1)h

(4)-рекурентные формулы метода Эйлера.

      Сначала вычисляют вспомогательные значения искомой функции ук+1/2 в точках хк+1/2, затем находят значение правой части уравнения (1) в средней точке y/k+1/2=f(xk+1/2, yk+1/2) и определяют ук+1.

      Для оценки погрешности в точке хк проводят вычисления ук с шагом h, затем с шагом 2h и берут 1/3 разницы этих значений:

                                          | ук*-у(хк)|=1/3(yk*-yk),

где у(х)-точное решение дифференциального уравнения.

    

Таким образом, методом Эйлера можно решать уравнения любых порядков. Например, чтобы решить уравнение второго порядка y//=f(y/,y,x) c начальными условиями y/(x0)=y/0, y(x0)=y0, выполняется замена:

                                            y/=z

                                            z/=f(x,y,z)

Тем самым преобразуются начальные условия: y(x0)=y0, z(x0)=z0, z0=y/0.

                                                                                      

РЕШЕНИЕ КОНТРОЛЬНОГО ПРИМЕРА

Приведем расчет дифференциального уравнения первого, второго и  третьего порядка методом Эйлера

1.  Пусть дано дифференциальное уравнение первого порядка:

y/=2x-y

Требуется найти решение на отрезке [0,1] c шагом h=(1-0)/5=0,2

Начальные условия: у0=1;

Пользуясь рекурентными формулами (4), находим:

1). x1=0,2;  х1/2=0,1;     y(x1)=y(x0)+О±0h;   y(x1/2)=y(x0)+f(x0,y0)h/2;

      f(x0,y0)=2*0-1=-1  

      y(x1/2)=1-1*0,1=0,9

      О±0=2*0,1-0,9=-0,7  

       y1=1-0,1*0,2=0,86

2). y(x2)=y(x1)+О±1h;   x2=0,2+0,2=0,4;   x1+1/2=x1+h/2=0,2+0,1=0,3

     y(x1+1/2)=y(x1)+f(x1,y(x1))h/2  

     f(x1,y1)=2*0,2-0,86=-0,46  

     y(x1+1/2)=0,86-0,46*0,1=0,814

     О±1=2*0,3-0,814=-0,214

     y2=0,86-0,214*0,2=0,8172

3). x3=0,4+0,2=0,6;   x2+1/2=x2+h/2=0,4+0,1=0,5

     f(x2,y2)=2*0,4-0,8172=-0,0172 

     y2+1/2=0,8172-0,0172*0,1=0,81548

     О±2=2*0,5-0,81548=0,18452 

     y3=0,8172+0,18452*0,2=0,854104

4).x4=0,8;   x3+1/2=x3+h/2=0,6+0,1=0,7

     f(x3,y3)=2*0,6-0,854104=0,345896

     y3+1/2=0,854104+0,345896*0,1=0,8886936

     О±3=2*0,7-0,89=0,5113064

     y4=0,854104+0,5113064*0,2=0,95636528

5).x5=1;   x4+1/2=0,8+0,1=0,9

    f(x4,y4)=2*0,8-0,956=0,64363472

    y4+1/2=0,956+0,643*0,1=1,020728752;  

    О±4=2*0,9-1,02=0,779271248

    y5=0,956+0,7792*0,2=1,11221953

2. Дано уравнение второго порядка:

y//=2x-y+y/

    Находим решение на том же отрезке [0,1] c шагом h=0,2;

    Замена:   y/=z

                    z/=2x-y+z

    Начальные условия:    у0=1

                                           z0=1

1).x1=0,2;   x1/2=0,1

   y(z1)=y(z0)+О±0h                                   z(x1,y1)=z(x0,y0)+ОІ0h              

   y(z1/2)=y(z0)+f(z0,y0)h/2                      z(x1/2,y1/2)=z(x0,y0)+f(x0,y0,z0)h/2

   f(z0,y0)=f10=1                                       f(x0,y0,z0)=f20=2*0-1+1=0

   y1/2=1+1*0,1=1,1                                 z1/2=1+0*0,1=1

   О±0=z0=1                                                ОІ0=2*0,1-1,1+1=0,1

   y1=1+0,2*1=1,2                                   z1=1+0,2*0,1=1,02

2).x2+0,4;   x1+1/2=0,3

    f11=z1=1,02                                         f21=2*0,2-1,2+1,02=0,22

    y1+1/2=1,2+1,02*0,1=1,1                     z1+1/2=1,02+0,22*0,1=1,042

    О±1=z1+1/2=1,042                                   ОІ1=2*0,3-1,302+1,042=0,34

    y2=1,2+1,042*0,2=1,4084                  z2=1.02+0,34*0,2=1,088

3).x3=0,6;   x2+1/2=0,5

    f12=z2=1,088                                        f22=2*0,4-1,4084+1,088=0,4796

    y2+1/2=1,4084+1,088*0,1=1,5172        z2+1/2=1,088+0,4796*0,1=1,13596

    О±2=z2+1/2=1,13596                                ОІ2=2*0,5-1,5172+1,13596=0,61876

    y3=1,4084+1,136*0,2=1,635592         z3=1,088+0,61876*0,2=1,211752

4).x4=0,8;   x3+1/2=0,7

    f13=z3=1,211752                                   f23=2*0,6-1,636+1,212=0,77616

    y3+1/2=1,636+1,212*0,1=1,7567672     z3+1/2=1,212+0,776*0,1=1,289368

    О±3=z3+1/2=1,289368                               ОІ3=2*0,7-1,7568+1,289=0,9326008

    y4=1,6+1,289*0,2=1,8934656              z4=1,212+0,93*0,2=1,39827216

5).x5=1;   y4+1/2=0,9

    f14=z4=1,39827216                                f24=2*0,8-1,893+1,398=1,10480656

    y4+1/2=1,893+1,398*0,1=2,0332928      z4+1/2=1,398+1,105*0,1=1,508752816

    О±4=z4+1/2=1,508752816                          ОІ4=2*0,9-2,03+1,5=1,27546

    y5=1,893+1,5*0,2=2,195216163           z5=1,398+1,275*0,2=1,65336416

   

   

3. Чтобы решить уравнение третьего порядка

y///=2x-y-y/+y//

на отрезке [0,1], с шагом h=0,2 и начальными условиями

y0//=1

y0/=1

y0=1

необходимо сделать 3 замены:     y/=a                             y0/=a0=1

                                                         y//=a/=b                        y0//=b0=1

                                                         b/=2x-y-a+b

1).x1=0,2;   x1/2=0,1

      y(a1)=y(a0)+a0h                                        y(a1/2)=y(a0)+f10h/2

      a(b1)=a(b0)+ОІ0h                                        a(b1/2)=a(b0)+f20h/2

      b(x1,y1,a1)=b(x0,y0,a0)+Оі0h                       b(x1/2,y1/2,a1/2)=b(x0,y0,a0)+f30h/2

    f10=f(a0,y(a0))=1                                     y1/2=1+1*0,1=1,1

    f20=f(b0,a(b0))=1                                     a1/2=1+1*0,1=1,1

    f30=f(x0,y0,a0,b0)=-1                                b1/2=1-1*0,1=0,9

    О±0=a1/2=1,1                                              y(a1)=1+1,1*0,2=1,22

    ОІ0=b1/2=0,9                                             a(b1)=1+0,9*0,2=1,18

    Оі0=2*0,1-1,1-1,1+0,9=-1,1                     b(x1,y1,a1)=1-1,1*0,2=0,78

2).x2=0,4;   x1+1/2=x1+h/2=0,3

    f11=a1=1,18                                              y1+1/2=1,22+1,18*0,1=1.338

    f21=b1=0,78                                              a1+1/2=1,18+0,78*0,1=1,258

    f31=2*0,2-1,22-1,18+0,78=-1,22             b1+1/2=-1,22*0,1+0,78=0,658

    О±1=a1+1/2=1,258                                        y2=1,22+1,258*0,2=1,4716

    ОІ1=b1+1/2=0,658                                        a2=1,18+0,658*0,2=1,3116

    Оі1=2*0,3-1,338-1,258+0,658=-1,338      b2=0,78-1,338*0,2=0,5124

3).x3=0,6;   x2+1/2=0,5

    f12=a2=1,3116                                           y2+1/2=1,47+1,3*0,1=1,60276       

    f22=b2=0,5124                                           a2+1/2=1,3116+0,5*0,1=1.36284

    f32=2*0,4-1,47-1,31+0,512=-1,4708        b2+1/2=0,4-1,4*0,1=0,36542

    О±2=1,36284                                               y3=1,4716+1,3116*0,2=1,744168

    ОІ2=0,36542                                               a3=1,3116+0,3654*0,2=1,384664

    Оі2=2*0,5-1,6-1,36+0,365=-1,60018         b3= 0,51-1,60018*0,2=0,192364

4).x4=0,8;   x3+1/2=0,7

    f13=1,384664                                             y3+1/2=1,74+1,38*0,1=1,8826364

    f23=0,192364                                             a3+1/2=1,38+0,19*0,1=1,4039204

    f33=2*0,6-1,7-1,38+0,19=-1,736488         b3+1/2=0,19-1,7*0,1=0,0187152

   

    О±3=1,4039204                                             y4=1,74+1,4*0,2=2,0249477

    ОІ3=0,0187152                                             a4=1,38+0,9187*0,2=1,388403 

    Оі3=2*0,7-1,88-1,4+0,0187=-1,8678416     b4=0,192-1,87*0,2=-0,1812235

5).x4=1;   x4+1/2=0,9

    f14=1,388403                                               y4+1/2=2,02+1,388*0,1=2,16379478

      f24=-0,1812235                                           a4+1/2=1,4-0.181*0,1=1,370306608

    f34=2*0,8-2,02-1,388-0,18=-1,9945834      b4+1/2=-0,18-1,99*0,1=-0,38066266

    О±4=1,3703                                                    y5=2,02+1,37*0,2=2,2990038

    ОІ4=-0,38066                                                 a5=1,388-0,38*0,2=1,3122669  

    Оі4=2*0,9-2,16-1,37-0,38=-2,114764056     b5=-0,181-2,1*0,2=-0,6041734

    

   

    

              

          

      

              

      

Программа на Turbo Pascal

uses crt,pram,kurs1_1;

var

  yx,xy,l,v,p,ff,ay,by,x:array [0.10] of real;

  y,a,b:array[0.10,0.1] of real;

  i,n,o:integer;

  c,d,h,k:real;

label

  lap1;

begin

screen1;

clrscr;

writeln('введите наивысший порядок производной не больше трех ');

readln(n);

if n=0 then begin

writeln('это прямолинейная зависимость и решается без метода ЭйлераВа');

goto lap1;end;

writeln('введите коэффициенты {a0,a1}');

for i:=0 to n do

readln(l[i]);

if (n=1) and (l[1]=0) or (n=2) and (l[2]=0) or (n=3) and (l[3]=0) then begin

    writeln('деление на ноль');

    goto lap1;

    end;

writeln('введите коэффициент при x');

readln(k);

writeln('введите отрезок ');

readln(c,d);

o:=5;

h:=abs(d-c)/o;

writeln('шаг=',h:1:1);

writeln('задайте начальные условия y(x)= ');

for i:=0 to n-1 do

readln(v[i]);

if n=3 then begin

  yx[0]:=v[0];

  ay[0]:=v[1];

  by[0]:=v[2];

  p[0]:=(k*c-l[0]*v[0]-l[1]*v[1]-l[2]*v[2])/l[3];

  x[0]:=c;

  gotoxy(32,1);

     write('                                             ');

     gotoxy(32,2);

     write('      x          y          a          b      ');

     gotoxy(32,3);

     write(' ',c:7:7,'   ',yx[0]:7:7,'  ',ay[0]:7:7,'  ',by[0]:7:7,' ');

for i:=0 to o-1 do begin

  x[i]:=x[i]+h/2;

  y[i,1]:=yx[i]+(h/2)*ay[i];

  a[i,1]:=ay[i]+(h/2)*by[i];

  b[i,1]:=by[i]+(h/2)*p[i];

  ff[i]:=(k*x[i]-l[0]*y[i,1]-l[1]*a[i,1]-l[2]*b[i,1])/l[3];

  xy[i]:=x[i]+h/2;

  yx[i+1]:=yx[i]+h*a[i,1];

  ay[i+1]:=ay[i]+h*b[i,1];

  by[i+1]:=by[i]+h*ff[i];

  x[i+1]:=x[i]+h/2;

  p[i+1]:=(k*xy[i]-l[0]*yx[i+1]-l[1]*ay[i+1]-l[2]*by[i+1])/l[3];

  end;

  for i:=0 to o-1 do begin

     gotoxy(32,4+i);

     write(' ',xy[i]:7:7,'  ',yx[i+1]:7:7,'  ',ay[i+1]:7:7,'   ',by[i+1]:7:7,'   ');

     end;

   gotoxy(32,4+o);

   write('                                                ');

end;

if n=2 then begin

   x[0]:=c;

   yx[0]:=v[0];

   ay[0]:=v[1];

   p[0]:=(k*c-l[0]*yx[0]-l[1]*v[1])/l[2];

     gotoxy(32,1);

     write('                                  ');

     gotoxy(32,2);

     write('      x          y          a      ');

     gotoxy(32,3);

     write(' ',c:7:7,'  ',yx[0]:7:7,'  ',ay[0]:7:7,'  ');

   for i:=0 to o-1 do begin

   x[i]:=x[i]+h/2;

   y[i,1]:=yx[i]+(h/2)*ay[i];

   a[i,1]:=ay[i]+(h/2)*p[i];

   ff[i]:=(k*x[i]-l[0]*y[i,1]-l[1]*a[i,1])/l[2];

   xy[i]:=x[i]+h/2;

   yx[i+1]:=yx[i]+h*a[i,1];

   ay[i+1]:=ay[i]+h*ff[i];

   x[i+1]:=x[i]+h/2;

   p[i+1]:=(k*xy[i]-l[0]*yx[i+1]-l[1]*ay[i+1])/l[2];

   end;

   for i:=0 to o-1 do begin

     gotoxy(32,4+i);

     write(' ',xy[i]:7:7,'  ',yx[i+1]:7:7,'  ',ay[I+1]:7:7,'   ');

    end;

   gotoxy(32,4+o);

   write('                                  ');

   end;

    if n=1 then begin

    x[0]:=c;

    yx[0]:=v[0];

    p[0]:=(k*x[0]-l[0]*yx[0])/l[1];

   for i:=0 to o-1 do begin

     x[i]:=x[i]+h/2;

     y[i,1]:=yx[i]+(h/2)*p[i];

     xy[i]:=x[i]+h/2;

     ff[i]:=(k*x[i]-l[0]*y[i,1])/l[1];

     yx[i+1]:=yx[i]+h*ff[i];

     x[i+1]:=x[i]+h/2;

     p[i+1]:=(k*xy[i]-l[0]*yx[i+1])/l[1];

   end;

  gotoxy(32,1);

     write('                                     ');

     gotoxy(32,2);

     write('         x                y          ');

     gotoxy(32,3);

     write('     ',c:7:7,'          ',yx[0]:7:7,'    ');

   for i:=0 to o-1 do begin

     gotoxy(32,4+i);

     write('     ',xy[i]:7:7,'          ',yx[i+1]:7:7,'    ');

    end;

   gotoxy(32,o+4);

   write('                                     ');

  end;

lap1:readln;

pramo;

delay(10000);

clrscr;

end.



ЗАПУСК ПРОГРАММЫ НА ВЫПОЛНЕНИЕ

   Программа находится в файле kursova1.pas, и имеет 2 модуля, в которых содержатся заставки. Модули находятся в файлах pram.tpu и kurs1_1.tpu.

Для запуска файла kursova1.pas в Turbo Pascal необходимо нажать F9. Появится первая заставка, далее нажать enter и ввести все необходимые начальные условия: порядок производной, коэффициенты при членах рада, отрезок и начальные значения у(х0). На экране выводится шаг вычисления и таблица с ответами. После нажатия enter выводится вторая заставка, после чего мы возвращаемся к тексту программы. 

ОПИСАНИЕ ПРОГРАММЫ

1 тАУ ввод данных, используемых в программе

2 тАУ использование метки, очистка экрана, ввод требований, решение 

      дифференциального уравнения в зависимости от ввода начальных

      условий

3 тАУ присвоение начальных условий для дифференциального уравнения  

      третьего порядка

4 тАУ вывод  таблицы со значениями

5 тАУ ввод формул метода Эйлера для уравнения третьего порядка

6 тАУ присвоение начальных условий для решения дифференциального

      уравнения второго порядка

7 тАУ вывод таблицы для уравнения второго порядка

8 тАУ формулы метода Эйлера для уравнения второго порядка

9 тАУ начальные условия для дифференциального уравнения первого порядка

10 тАУ формулы метода Эйлера для решения уравнения первого порядка

11 тАУ вывод таблицы

12 тАУ обращение к метке, задержка для просмотра результатов, очистка

        экрана, конец программы.       

Вместе с этим смотрят:

Математический анализ
Математическое моделирование в экономике
Математическое моделирование динамики обмена многокомпонентных смесей разнозарядных ионов
Математическое моделирование и оптимизация в химической технологии